lemon-mirror:
Home >> Nissan-Datsun >> 2021 >> Frontier PRO-4X >> Repair and Diagnosis >> Restraints >> Restraints Control Systems >> SRS Airbag Control System >> System Description >> Occupant Classification System >> System Diagram

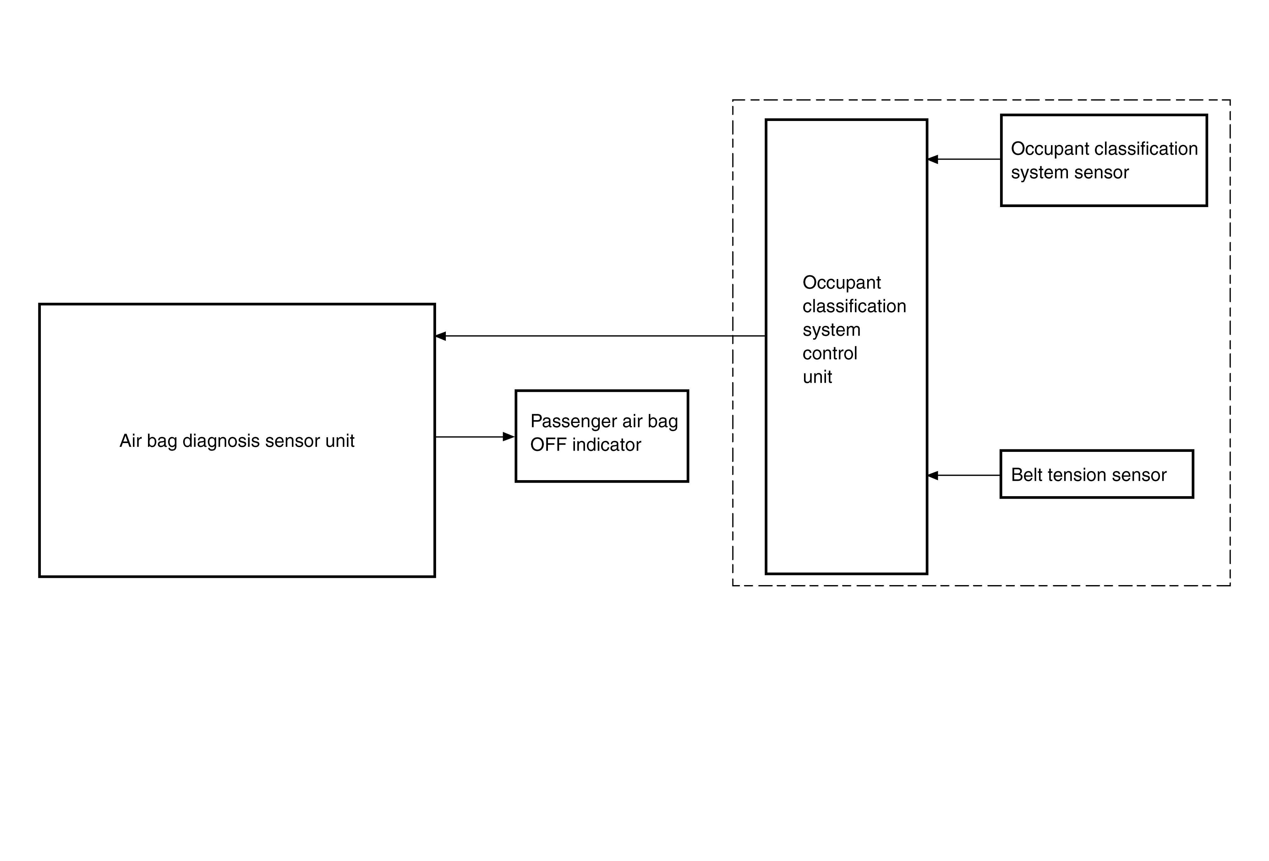
System Diagram

G08122892Courtesy of NISSAN NORTH AMERICA, INC.