lemon-mirror:
Home >> Nissan-Datsun >> 2021 >> Kicks S >> Repair and Diagnosis >> Electrical >> Starter >> Starting System >> System Description >> System >> System Diagram

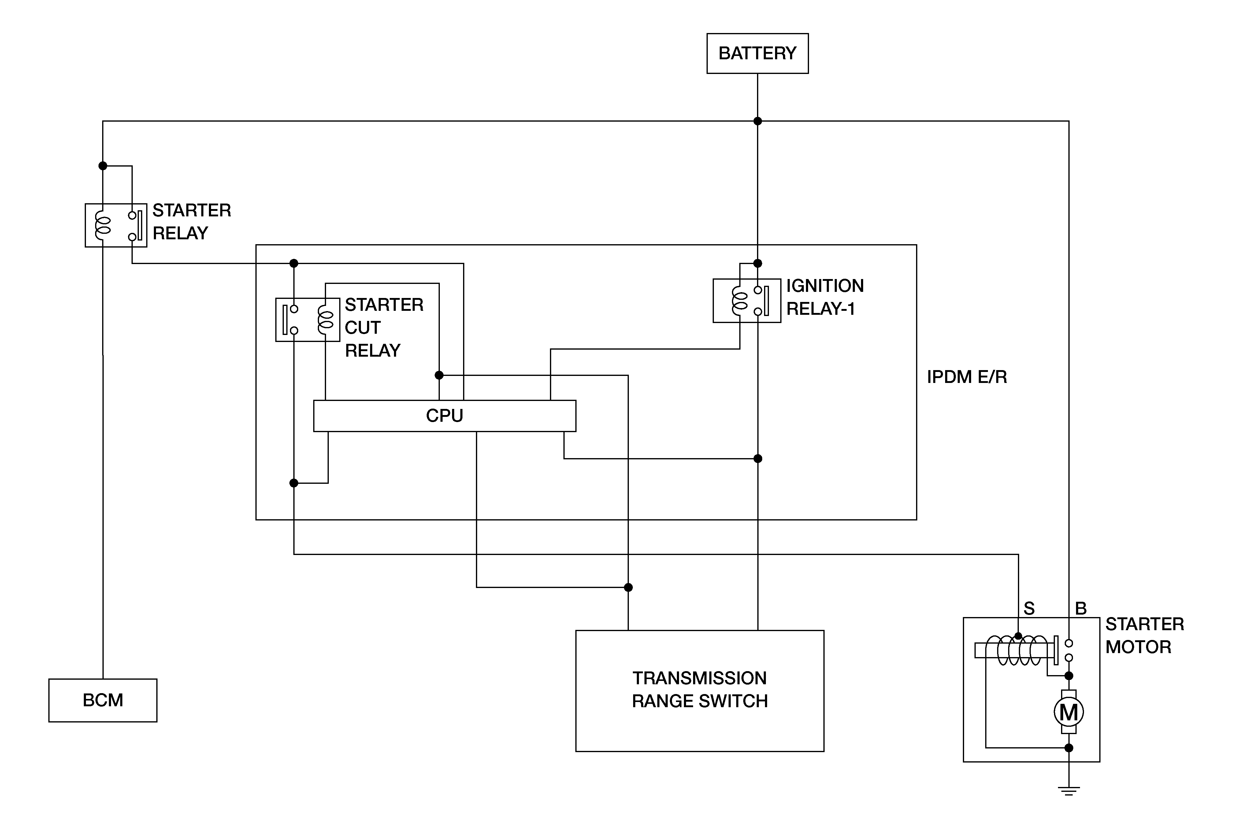
System Diagram

GNSAWBIA0029GB-029Courtesy of NISSAN NORTH AMERICA, INC.