lemon-mirror:
Home >> Nissan-Datsun >> 2021 >> Leaf SL Plus >> Repair and Diagnosis >> Body & Frame >> Windows >> Power Window Control System >> System Description >> System >> Power Window Control System >> System Description >> System Diagram

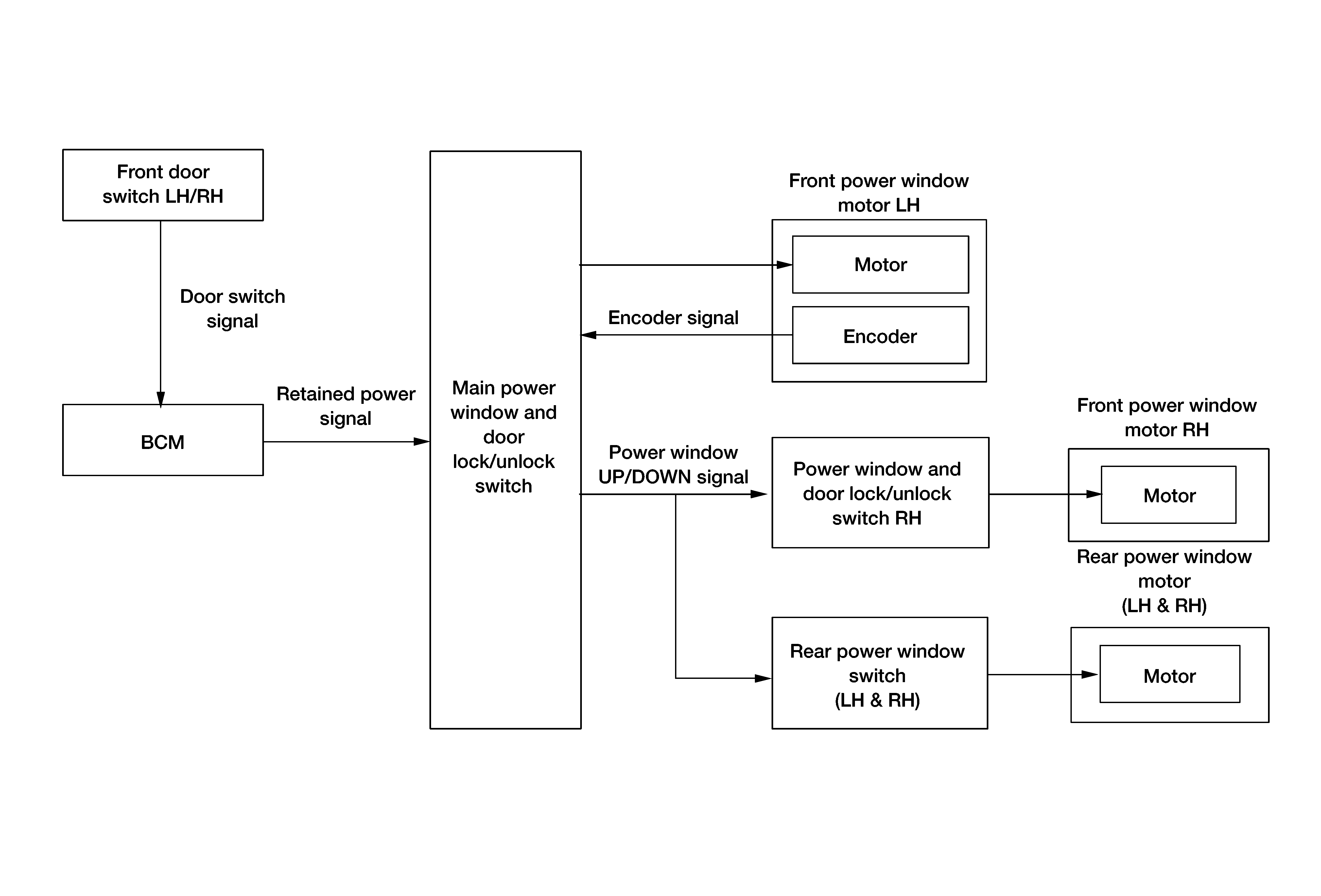
System Diagram

G09456358Courtesy of NISSAN NORTH AMERICA, INC.