lemon-mirror:
Home >> Nissan-Datsun >> 2021 >> Leaf SV Plus >> Repair and Diagnosis >> Brakes >> Traction Control >> Brake Control System >> System Description >> System (Brake Control) >> TCS Function >> System Description >> System Diagram

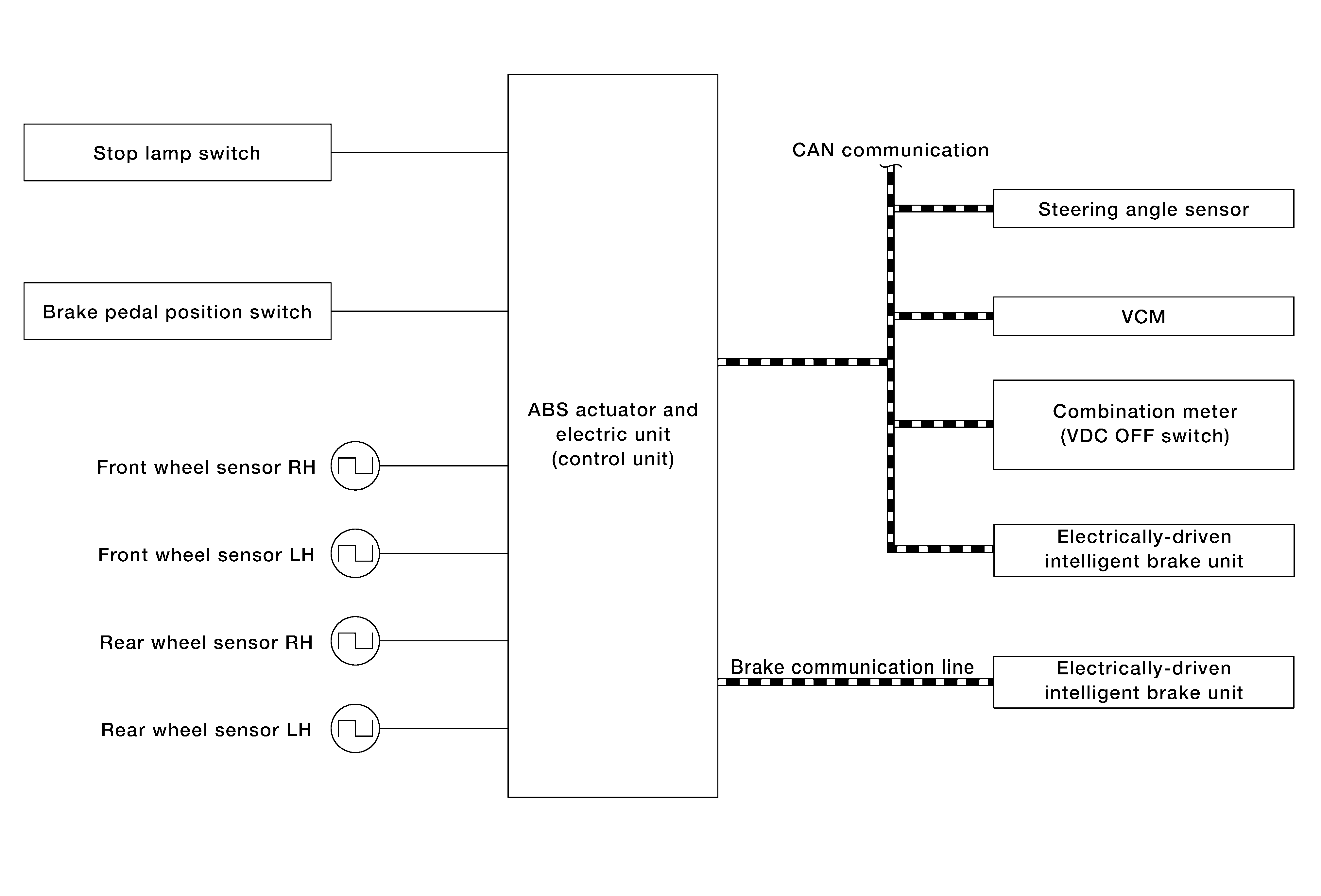
System Diagram

GNSAWFIA0125GB-125Courtesy of NISSAN NORTH AMERICA, INC.