lemon-mirror:
Home >> Nissan-Datsun >> 2021 >> Maxima SR >> Repair and Diagnosis >> Engine Performance >> Fuel Delivery >> Fuel System >> Disassembly And Assembly >> Fuel Level Sensor Unit >> Disassembly and Assembly >> Disassembly

Disassembly and Assembly: Disassembly

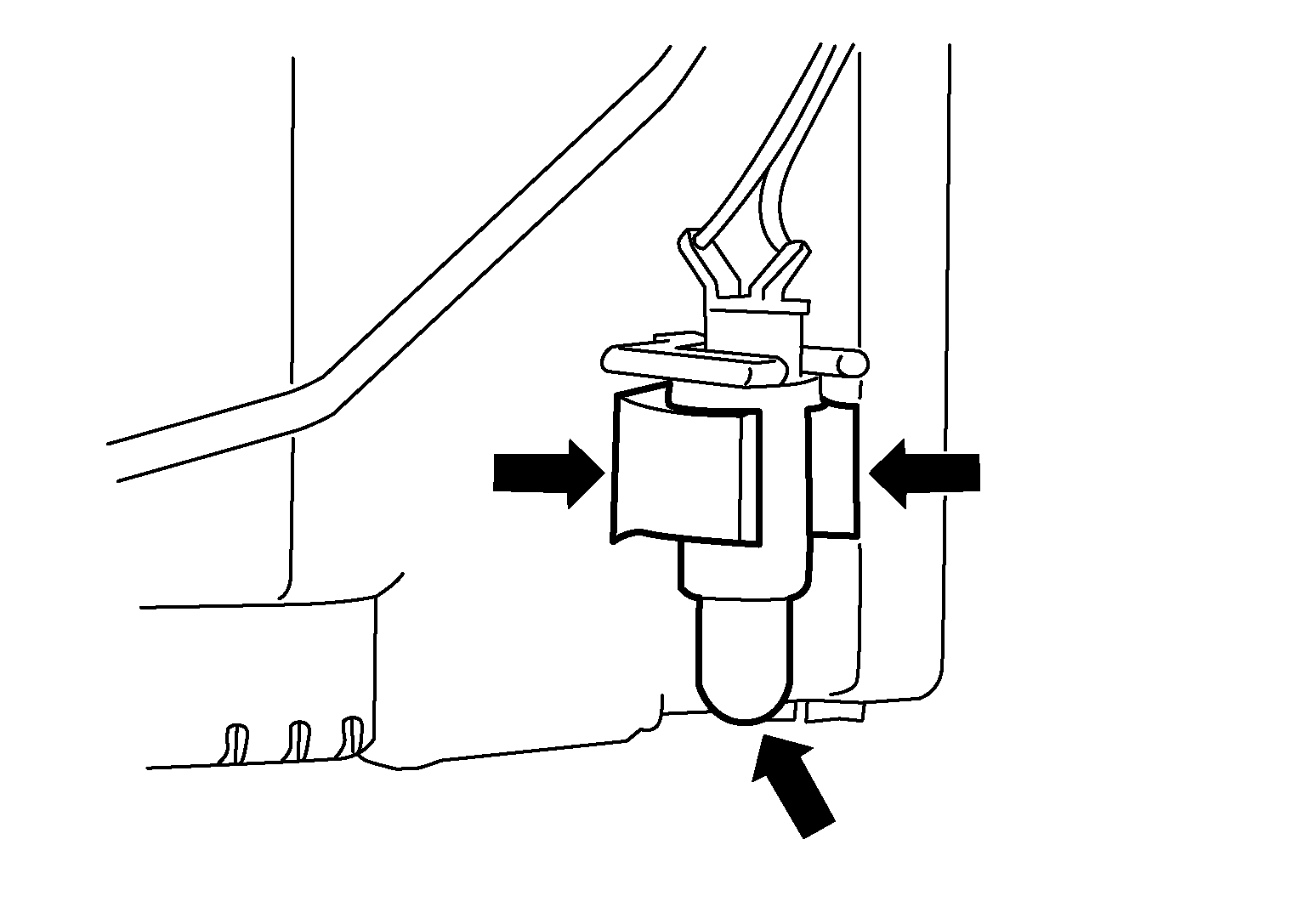
NOTE: Before disassembly, note the proper placement of the wires to the correct terminals and correct wire routing to the terminals.
  1. Disconnect fuel level sensor unit (A) and fuel tank temperature sensor (C) harness connectors. Press the tabs on the terminals to release the locking tabs.
    GNSDB119246Courtesy of NISSAN NORTH AMERICA, INC.

    (B):

    Fuel pump harness connector

  2. Release the two clips and remove the fuel temperature sensor from the pump assembly.
    GNSDB119710Courtesy of NISSAN NORTH AMERICA, INC.
  3. Release the tab (A) and slide the level sensor unit module and float arm assembly (B) up to remove.
    GNSDB122509Courtesy of NISSAN NORTH AMERICA, INC.