lemon-mirror:
Home >> Nissan-Datsun >> 2021 >> Maxima SV >> Repair and Diagnosis >> Engine Performance >> Fuel Delivery >> Fuel System >> Disassembly And Assembly >> Fuel Level Sensor Unit >> Exploded View

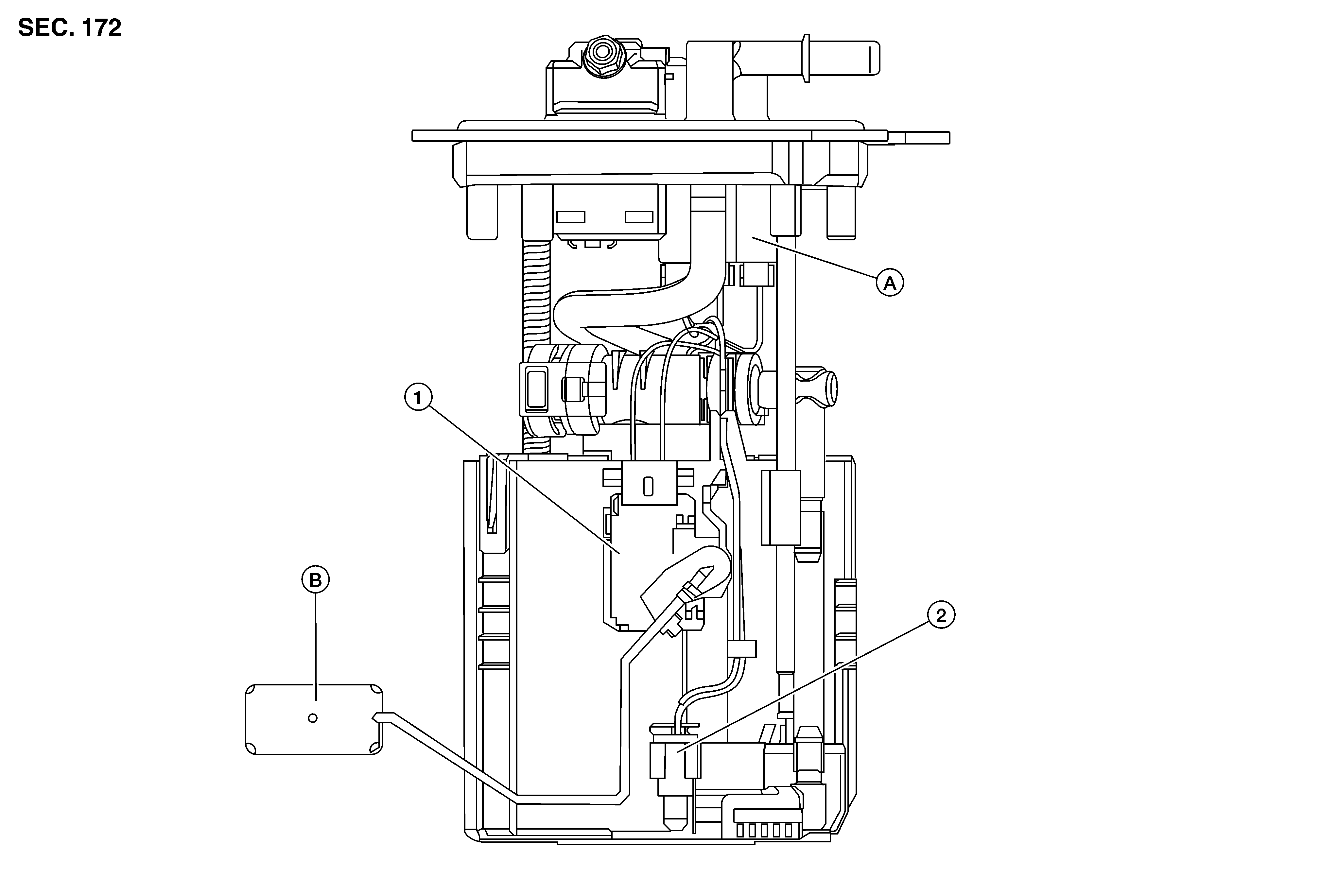
Exploded View

GNSDB118705Courtesy of NISSAN NORTH AMERICA, INC.

1.

Level sensor unit module

2.

Fuel temperature sensor

A.

Harness connector

B.

Float arm assembly