lemon-mirror:
Home >> Nissan-Datsun >> 2021 >> NV200 S >> Repair and Diagnosis >> Body & Frame >> Windows >> Power Window Control System >> System Description >> System >> System Diagram

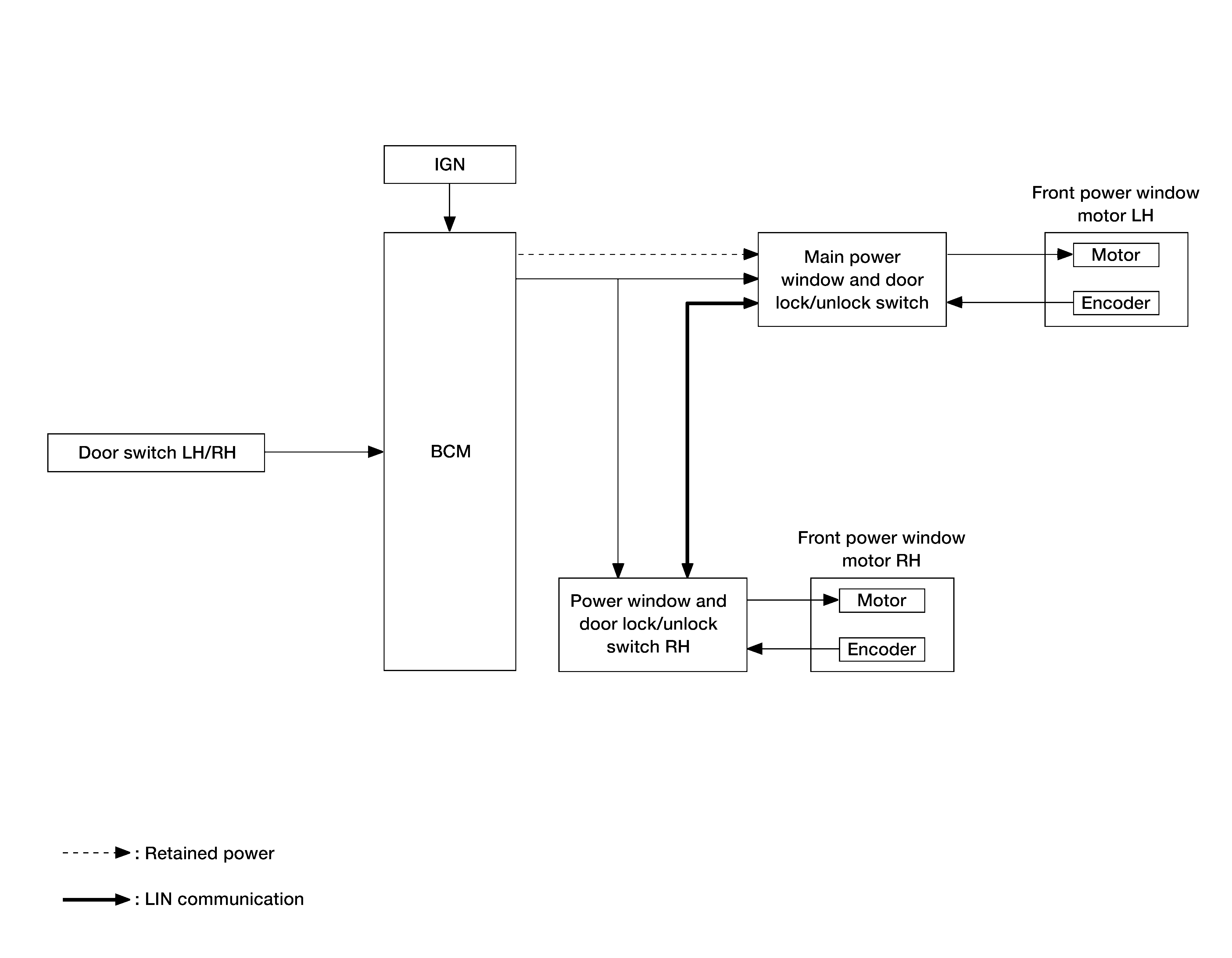
System Diagram

GNSAWKIA0305GB-305Courtesy of NISSAN NORTH AMERICA, INC.