lemon-mirror:
Home >> Nissan-Datsun >> 2021 >> NV2500 HD S >> Repair and Diagnosis >> Electrical >> Starter >> Starting System >> System Description >> System >> System Diagram

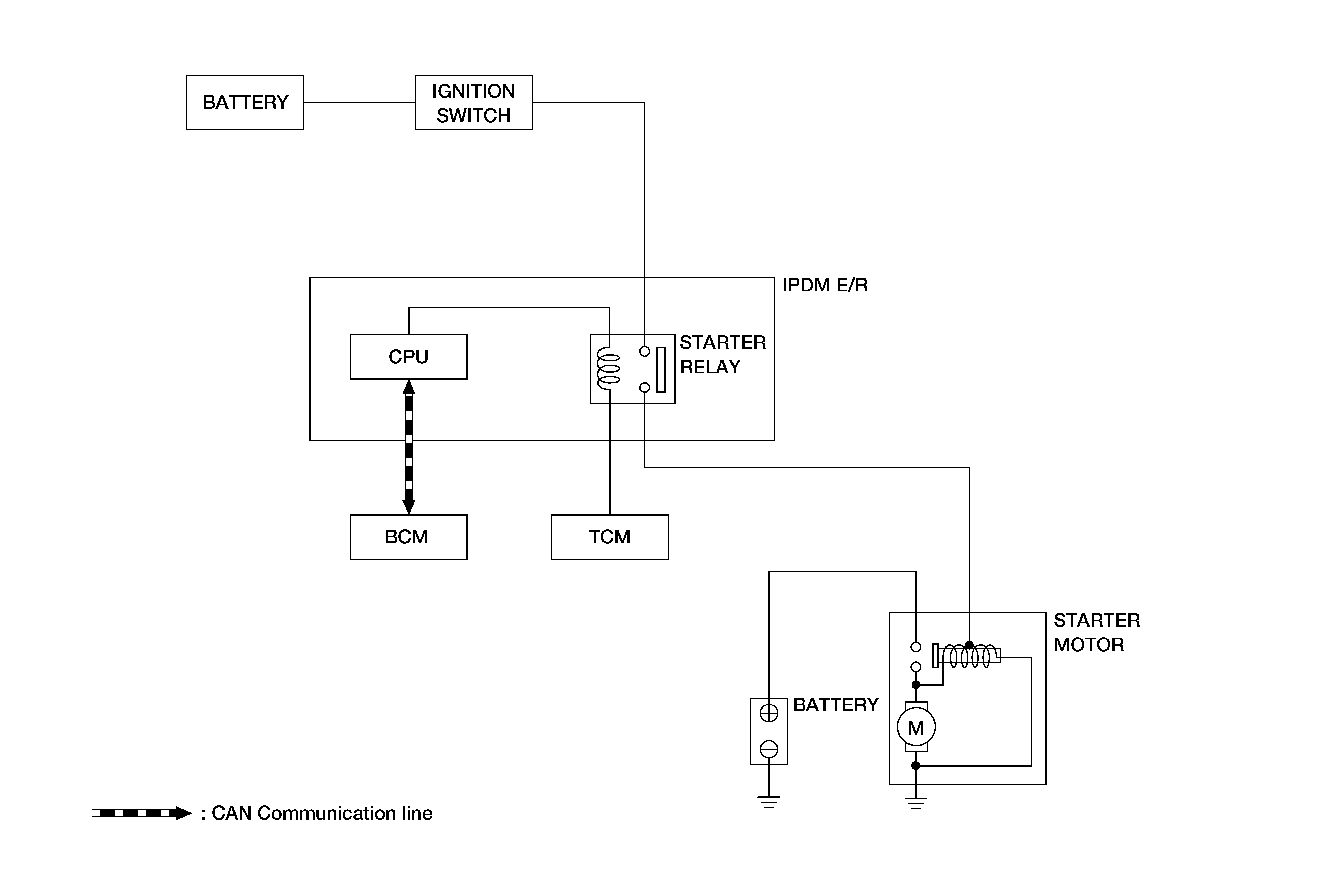
System Diagram

GNSDB117624Courtesy of NISSAN NORTH AMERICA, INC.