lemon-mirror:
Home >> Nissan-Datsun >> 2021 >> Sentra SR >> Repair and Diagnosis >> Electrical >> Body Electrical >> Body Control System >> System Description >> System >> Combination Switch Reading System >> System Description >> System Diagram

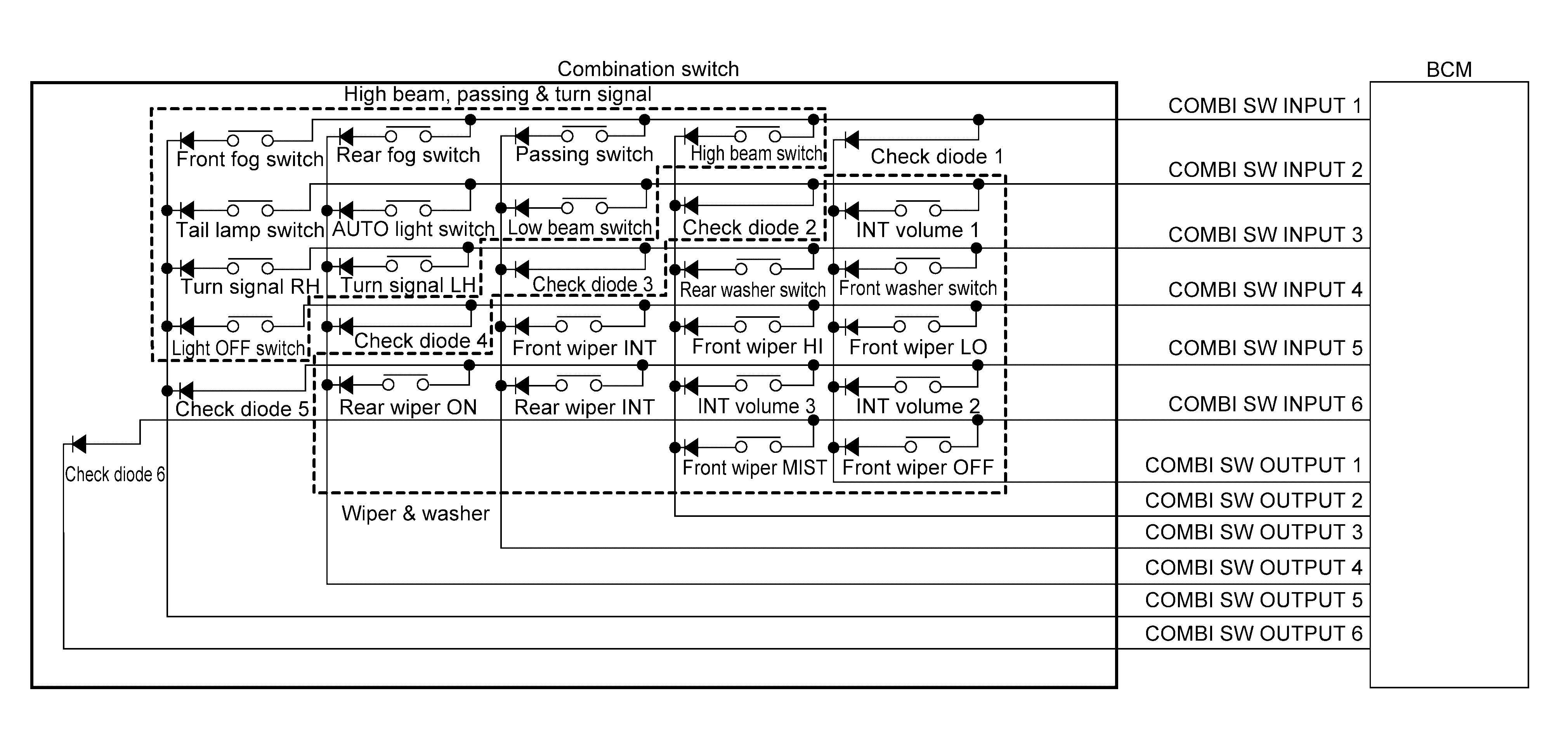
System Diagram

GNSILL0259695-695Courtesy of NISSAN NORTH AMERICA, INC.