lemon-mirror:
Home >> Nissan-Datsun >> 2021 >> Titan XD SL >> Repair and Diagnosis >> Brakes >> Traction Control >> Brake Control System >> System Description >> System >> VDC/TCS/Abs >> TSA Function >> System Diagram

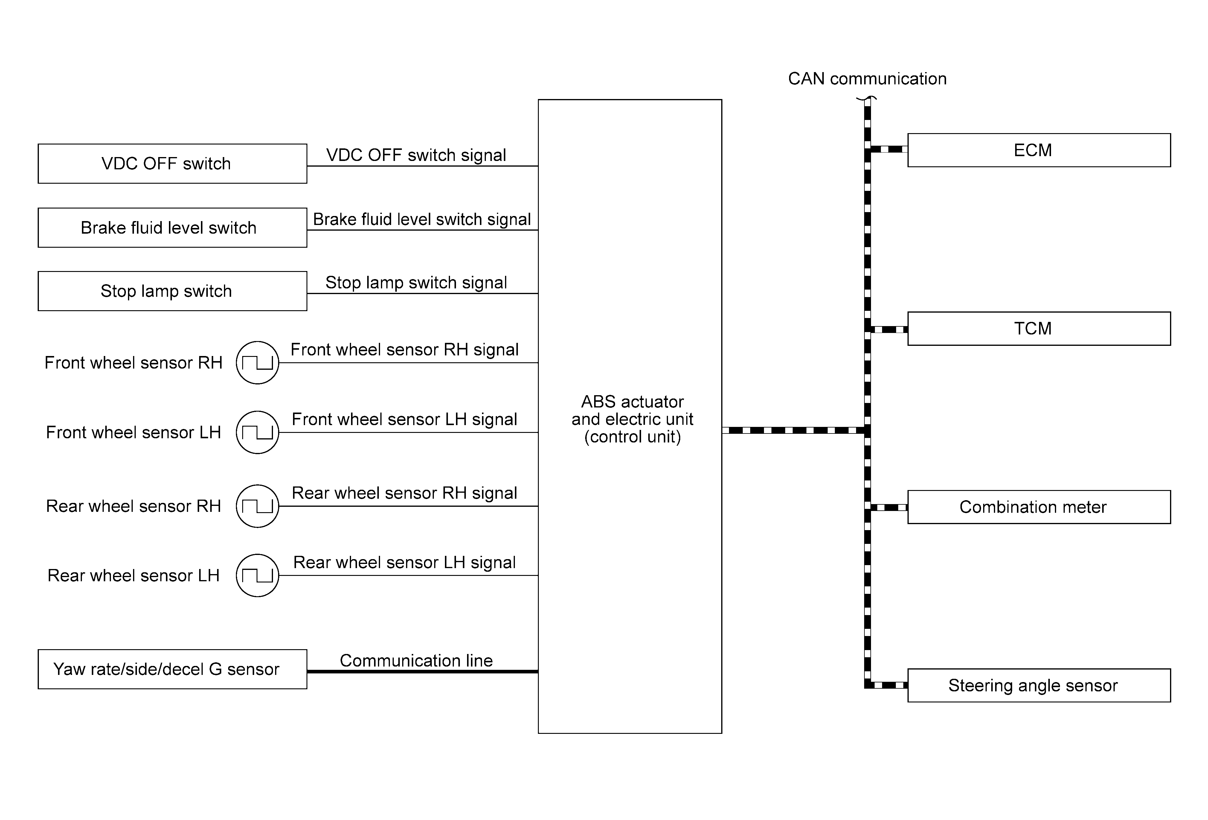
System Diagram

GNSALFIA0712GB-712Courtesy of NISSAN NORTH AMERICA, INC.