lemon-mirror:
Home >> Nissan-Datsun >> 2023 >> Frontier PRO-X >> Repair and Diagnosis >> Body & Frame >> Windows >> Power Window Control System >> System Description >> System >> System Diagram

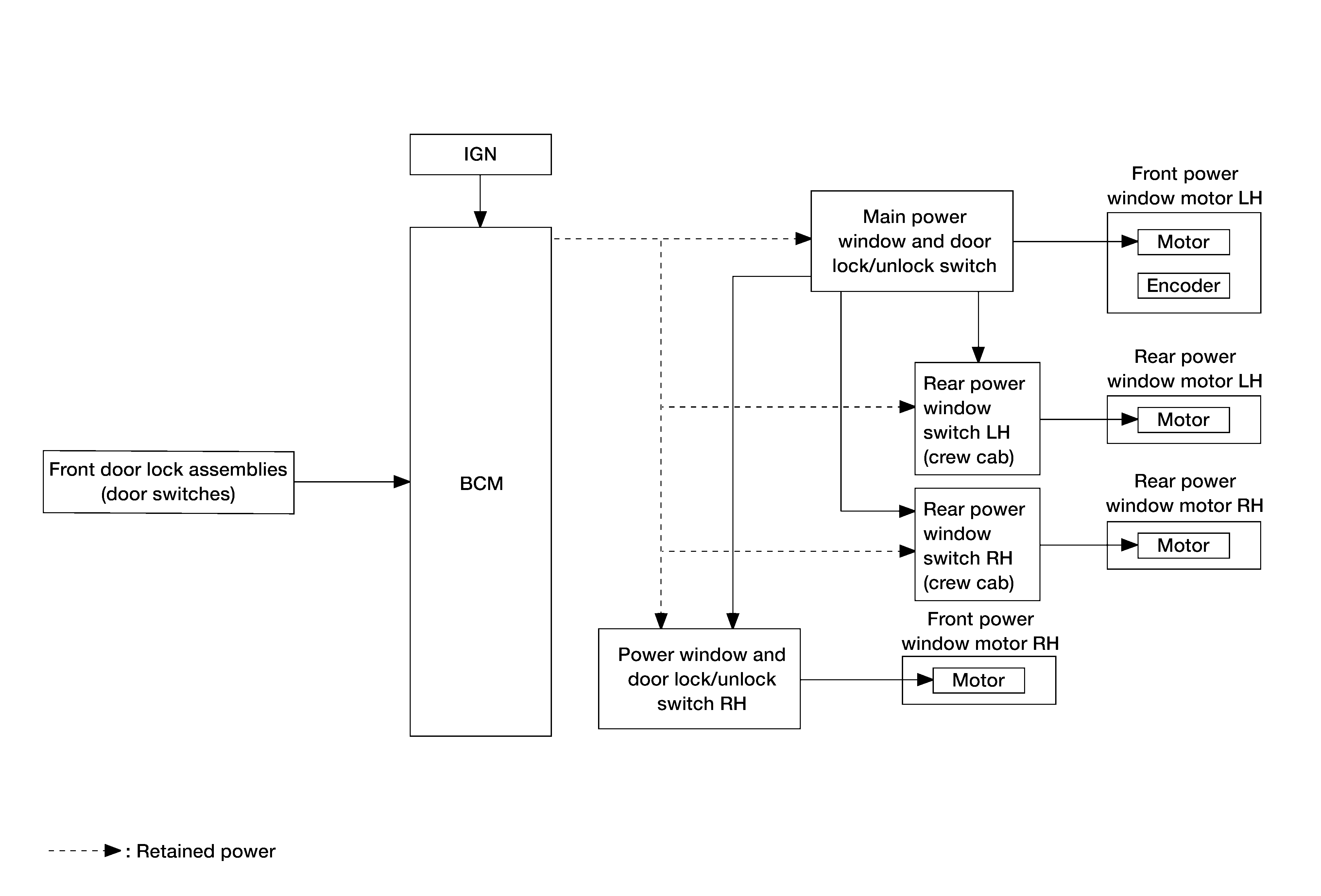
System Diagram

GNSDB43384Courtesy of NISSAN