System Description
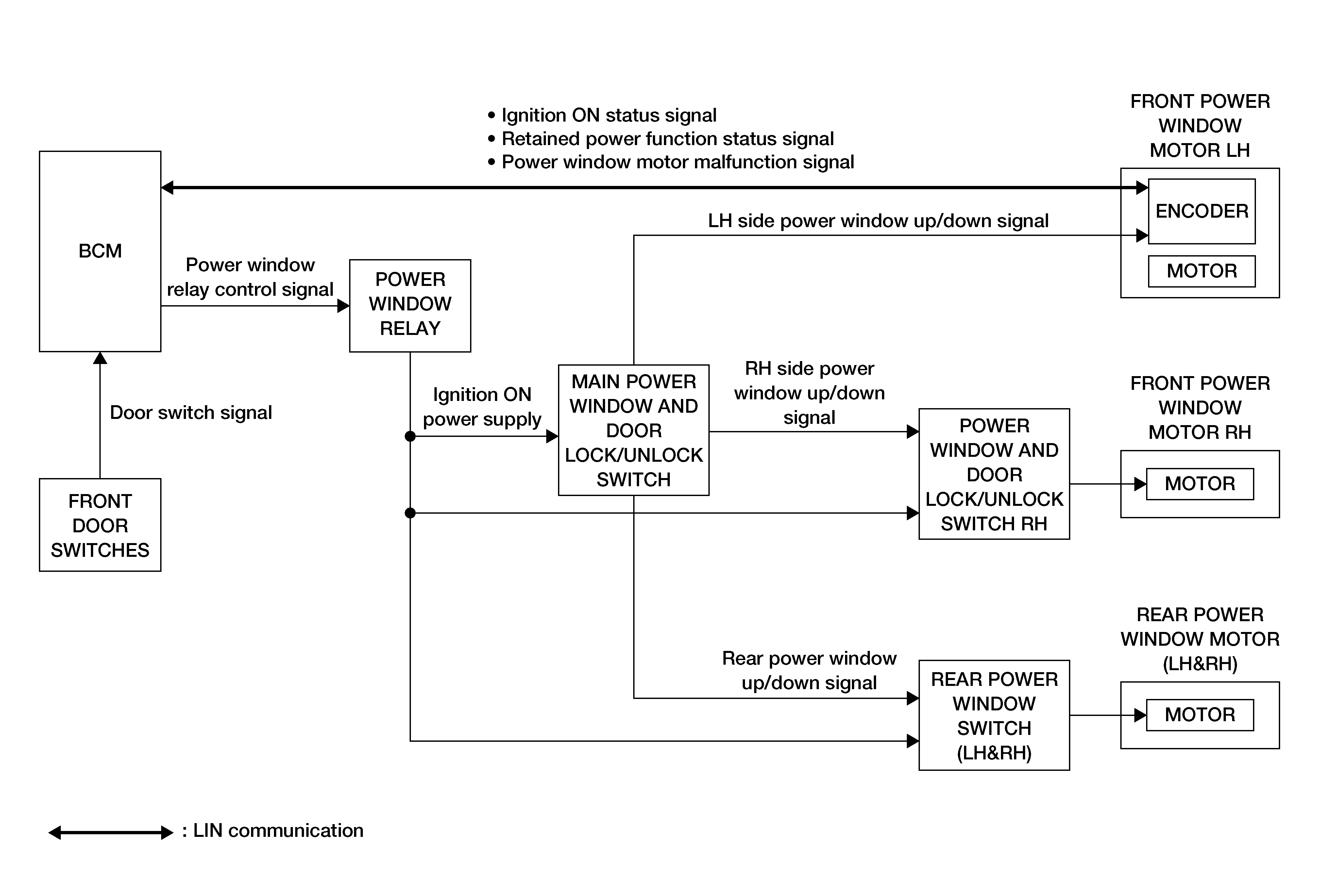
SYSTEM DIAGRAM
INPUT/OUTPUT SIGNAL CHART
| Item | Input signal to main power window and door lock/unlock switch | Main power window and door lock/unlock switch function | Actuator |
|---|---|---|---|
| Encoder | Encoder pulse signal | Power window control | Front power window motor LH |
| Main power window and door lock/unlock switch | Front power window motor LH UP/DOWN signal | Front power window motor LH/RH | |
| Power window and door lock/unlock switch RH | Front power window motor RH UP/DOWN signal | ||
| BCM | RAP signal | ||
| Rear power window switch | Rear power window motor UP/DOWN signal | Rear power window motor |
POWER WINDOW OPERATION
- BCM controls the power window relay, and controls the ignition ON power source supplied to power window system.
- Power window system is activated by power window switch when ignition switch ON or retained power is operating.
- Main power window and door lock/unlock switch opens/closes all door glass.
- Front and rear power window switch opens/closes the corresponding door glass.
POWER WINDOW AUTO OPERATION (FRONT LH)
- AUTO UP/DOWN operation can be performed when main power window and door lock/unlock switch turns to AUTO.
- Main power window and door lock/unlock switch transmits AUTO UP/DOWN signal to front power window motor LH and operating the front power window motor LH turns to AUTO.
- Front power window motor LH reads the changes of operating condition and stops AUTO operation when door glass is at fully opened/closed position.
RETAINED POWER FUNCTION
Retained power function is an additional power supply function that enables power window system to operate for 45 seconds after ignition switch places OFF.
RETAINED POWER FUNCTION CANCEL CONDITIONS
- Front door CLOSE (door switch OFF) → OPEN (door switch ON).
- When ignition switch places ON again.
- When timer times out. (45 seconds)
LIN COMMUNICATION (FRONT LH)
- Front power window motor LH and BCM transmit and receive the LIN communication.
POWER WINDOW LOCK
- Ground circuit inside main power window and door lock/unlock switch shuts off when power window lock switch is ON. This inhibits power window switch operation except with the main power window and door lock/unlock switch.
ANTI-PINCH SYSTEM (FRONT LH)
- Pinch foreign material in the door glass during AUTO-UP operation, and it is the anti-pinch function that lowers the door glass when detected.
- CPU continues detecting the movement of front power window motor LH while front power window motor LH is operating.
- Front power window motor LH controls to lower the door glass for approximately 145 mm (5.71 in) or more after it detects foreign material is trapped in the door glass.
OPERATION CONDITION
- When door glass AUTO-UP operation is performed (anti-pinch function does not operate just before the door glass closes and is fully closed)
NOTE:
Depending on environment and driving conditions, if a similar impact or load is applied to the door glass, it may lower.