lemon-mirror:
Home >> Oldsmobile >> 1990 >> Custom Cruiser >> Repair and Diagnosis >> Engine Performance >> System >> Engine Controls - System/Component Tests >> Cooling Fan >> Cooling Fan Motor

Cooling Fan Motor

Disconnect cooling fan motor harness connector. Apply battery voltage to one of the fan motor terminals and jumper the other terminal to ground. Fan motor should activate. If fan motor does not activate, replace faulty fan motor.

Fig 1: Sunbird 2.0L TBI Cooling Fan Schematic
G90G13157Courtesy of GENERAL MOTORS CORP.
Fig 2: Sunbird 2.0L PFI Cooling Fan Schematic
G90H13158Courtesy of GENERAL MOTORS CORP.
Fig 3: Beretta & Corsica 2.2L Cooling Fan Schematic
G90I13159Courtesy of GENERAL MOTORS CORP.
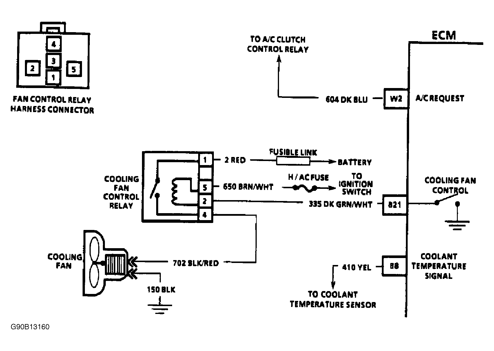
Fig 4: Cavalier 2.2L Cooling Fan Schematic
G90B13160Courtesy of GENERAL MOTORS CORP.
Fig 5: Beretta 2.3L Cooling Fan Schematic
G90C13161Courtesy of GENERAL MOTORS CORP.
Fig 6: Calais, Grand Am & Skylark 2.3L Cooling Fan Schematic
G90D13162Courtesy of GENERAL MOTORS CORP.
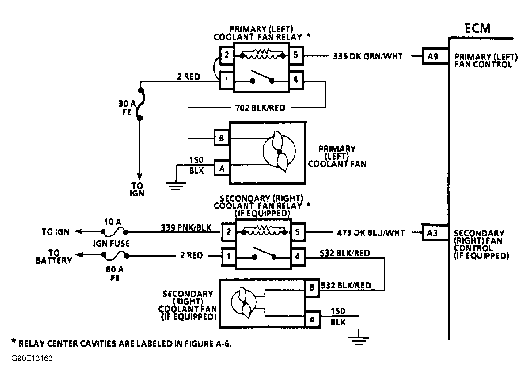
Fig 7: Cutlass Supreme & Grand Prix 2.3L Cooling Fan Schematic
G90E13163Courtesy of GENERAL MOTORS CORP.
Fig 8: Cutlass Calais, Grand Am & Skylark 2.5L Cooling Fan Schematic
G90F13164Courtesy of GENERAL MOTORS CORP.
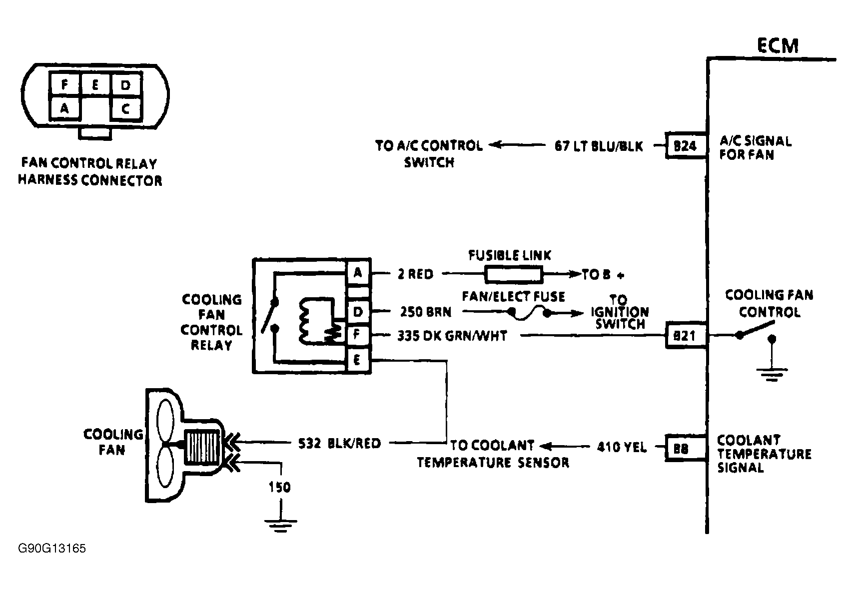
Fig 9: Celebrity, Century & Cutlass Cruiser 2.5L Cooling Fan Schematic
G90G13165Courtesy of GENERAL MOTORS CORP.
Fig 10: Lumina 2.5L Cooling Fan Schematic
G90H13166Courtesy of GENERAL MOTORS CORP.
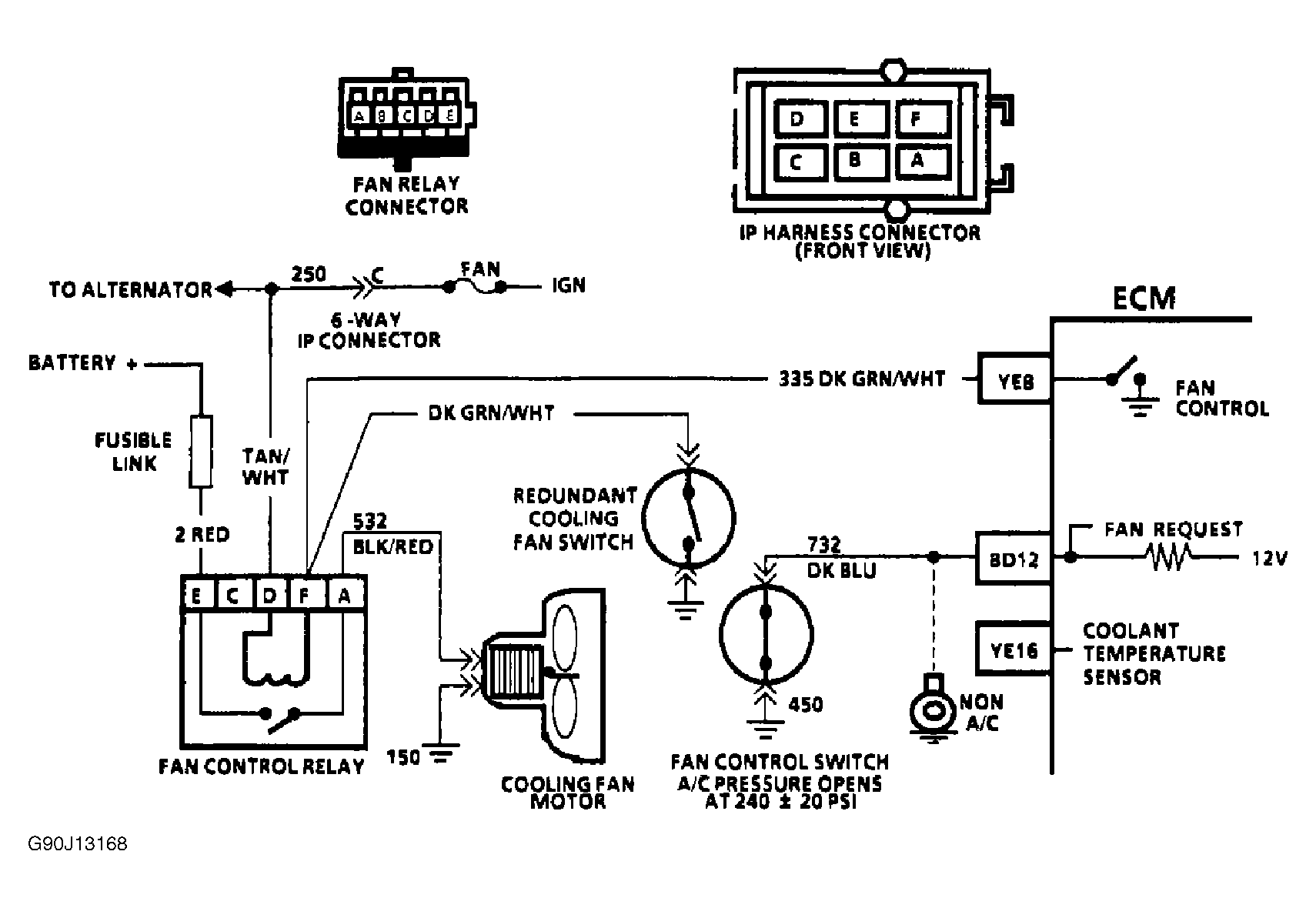
Fig 11: Beretta & Corsica 3.1L Cooling Fan Schematic
G90I13167Courtesy of GENERAL MOTORS CORP.
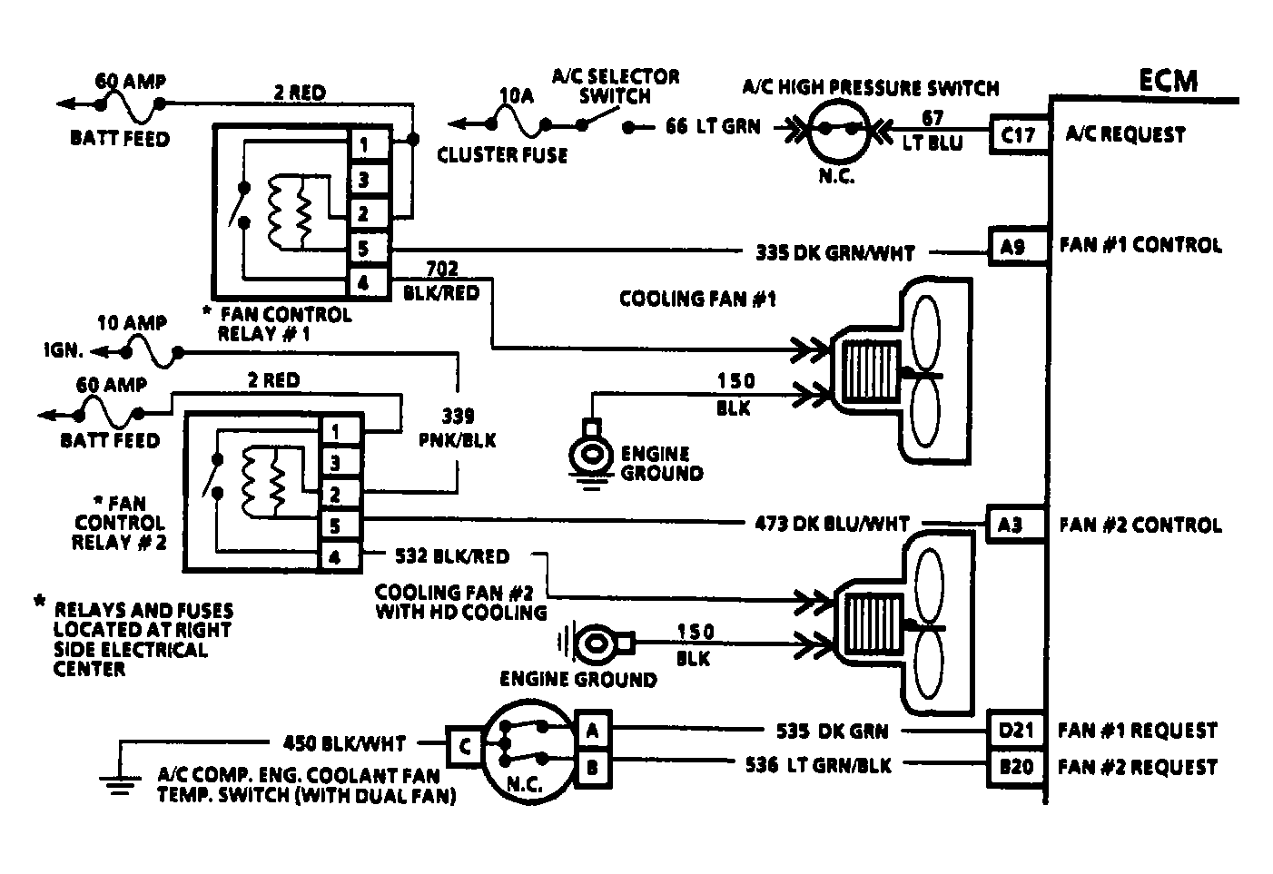
Fig 12: Camaro & Firebird 3.1L Cooling Fan Schematic
G90J13168Courtesy of GENERAL MOTORS CORP.
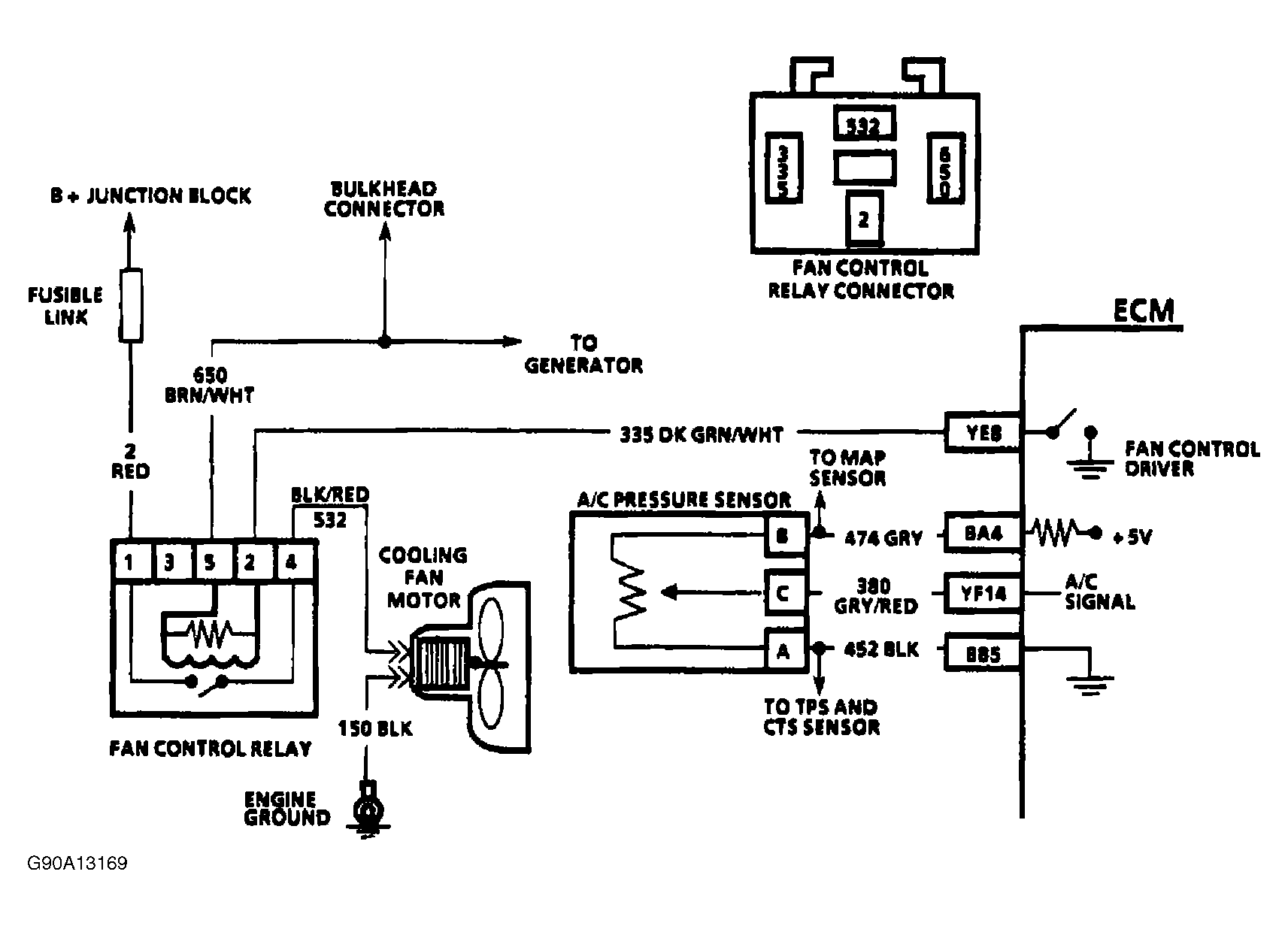
Fig 13: Cavalier 3.1L Cooling Fan Schematic
G90A13169Courtesy of GENERAL MOTORS CORP.
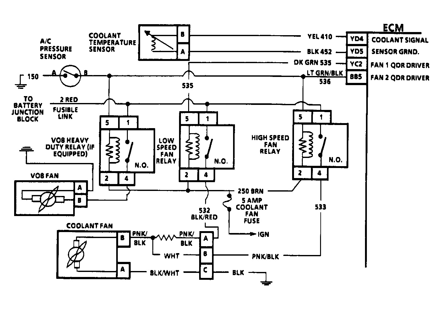
Fig 14: Celebrity & 6000 3.1L Cooling Fan Schematic
G90D13170Courtesy of GENERAL MOTORS CORP.
Fig 15: Cutlass Supreme, Grand Prix (Except Turbo), Lumina & Regal 3.1L Cooling Fan Schematic
G90E13171Courtesy of GENERAL MOTORS CORP.
Fig 16: Grand Prix 3.1L Turbo Cooling Fan Schematic
G90F13172Courtesy of GENERAL MOTORS CORP.
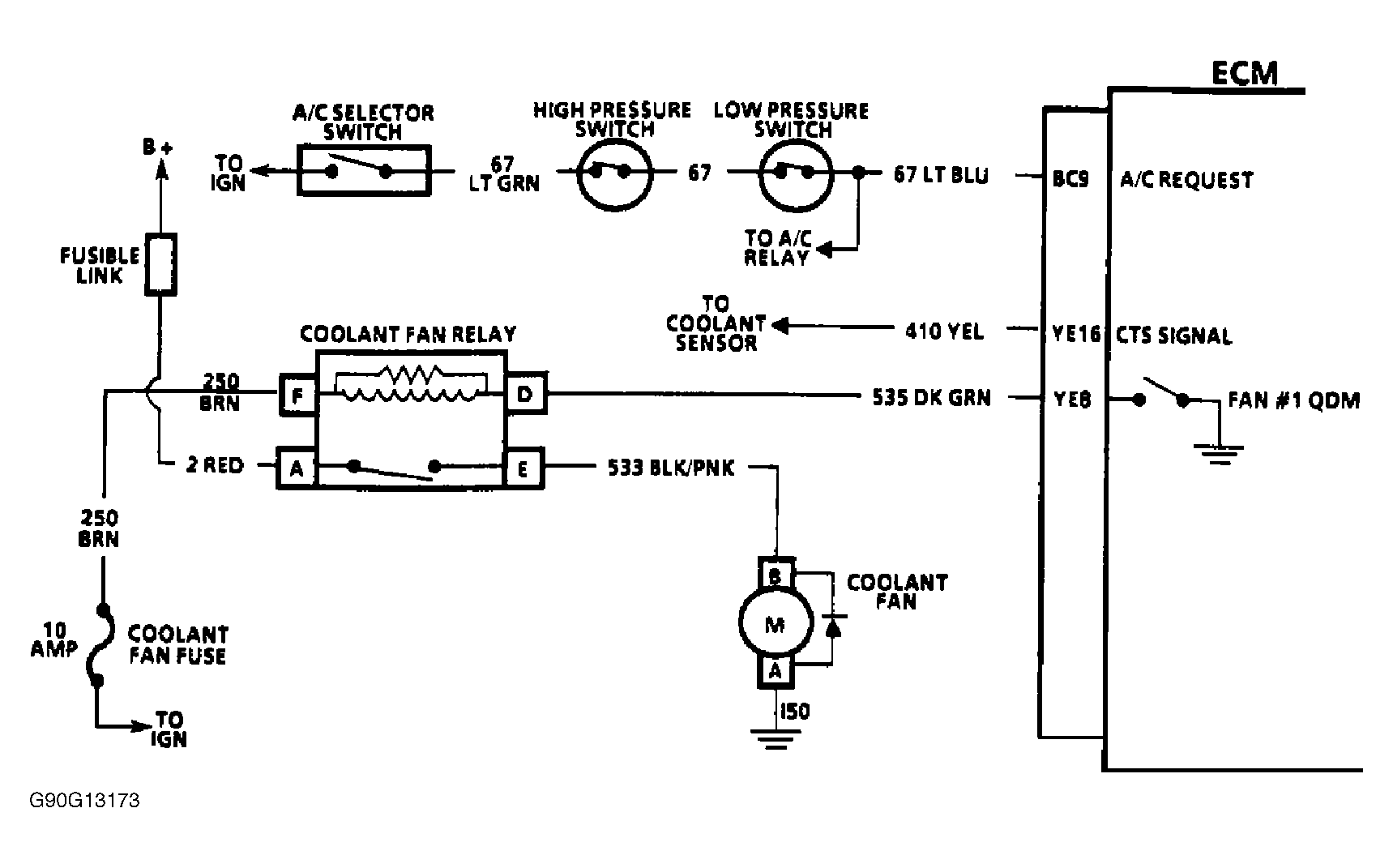
Fig 17: Century 3.3L Cooling Fan Schematic
G90G13173Courtesy of GENERAL MOTORS CORP.
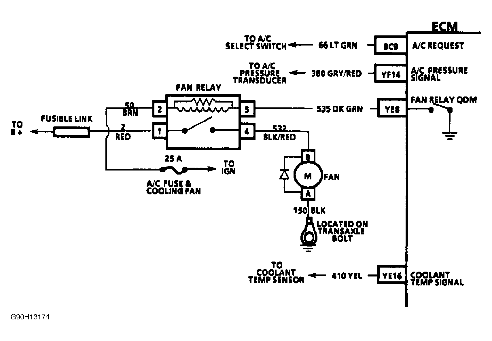
Fig 18: Skylark 3.3L Cooling Fan Schematic
G90H13174Courtesy of GENERAL MOTORS CORP.
Fig 19: Bonneville, Delta 88, Electra, LeSabre, Ninety-Eight & Park Avenue 3.8L Cooling Fan Schematic
G90I13175Courtesy of GENERAL MOTORS CORP.
Fig 20: Reatta, Riviera, Toronado & Trofeo 3.8L Cooling Fan Schematic
G90J13176Courtesy of GENERAL MOTORS CORP.
Fig 21: Camaro & Firebird 5.0L & 5.7L Cooling Fan Schematic
G90A13177Courtesy of GENERAL MOTORS CORP.
Fig 22: Corvette 5.7L Cooling Fan Schematic
G90B13178Courtesy of GENERAL MOTORS CORP.