lemon-mirror:
Home >> Oldsmobile >> 1990 >> Custom Cruiser >> Repair and Diagnosis >> Engine Performance >> System >> Engine Controls - System/Component Tests >> Transmission >> Converter Lock-Up Signal From ECM

Converter Lock-Up Signal From ECM

  1. Warm engine to operating temperature. Raise vehicle and support drive wheels. Support suspension where necessary to prevent damage to drive axles.
  2. Connect a test light to battery voltage. Touch TCC control driver terminal with test light. See Fig 1-86. Accelerate vehicle to 45 MPH and note test light. If test light does not illuminate, problem is a faulty ECM connector or ECM. On some models, lock-up signal may be checked at ALDL terminal "F" instead of at ECM terminal.
Fig 1: Carbureted Converter Clutch Schematic
G90C13179Courtesy of GENERAL MOTORS CORP.
Fig 2: 2.0L PFI Sunbird Converter Clutch Schematic
G90F13180Courtesy of GENERAL MOTORS CORP.
Fig 3: 2.0L TBI, 2.2L & 2.5L Celebrity, Century, Cutlass Calais, Cutlass Cruiser, Grand Am & Skylark Converter Clutch
G90I13183Courtesy of GENERAL MOTORS CORP.
Fig 4: 2.2L Beretta & Corsica Converter Clutch Schematic
G90G13181Courtesy of GENERAL MOTORS CORP.
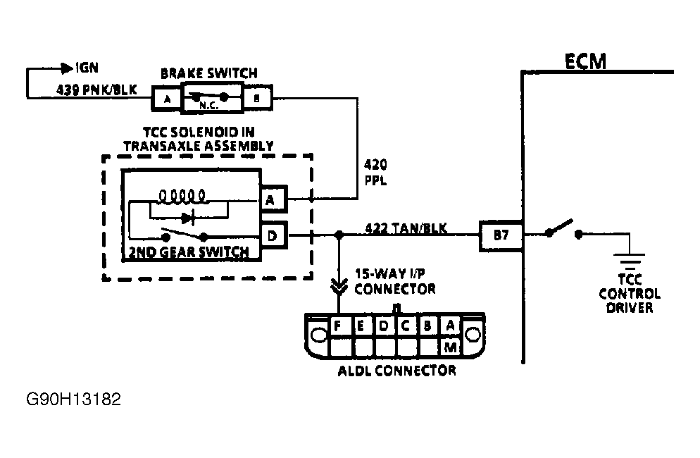
Fig 5: 2.3L Cutlass Calais, Cutlass Supreme, Grand Am, Grand Prix & Skylark Converter Clutch Schematic
G90H13182Courtesy of GENERAL MOTORS CORP.
Fig 6: 2.5L Lumina Converter Clutch Schematic
G90J13184Courtesy of GENERAL MOTORS CORP.
Fig 7: 3.1L Beretta & Corsica Converter Clutch Schematic
G90A13185Courtesy of GENERAL MOTORS CORP.
Fig 8: 3.1L Camaro & Firebird Converter Clutch Schematic
G90B13186Courtesy of GENERAL MOTORS CORP.
Fig 9: 3.1L Cavalier Converter Clutch Schematic
G90C13187Courtesy of GENERAL MOTORS CORP.
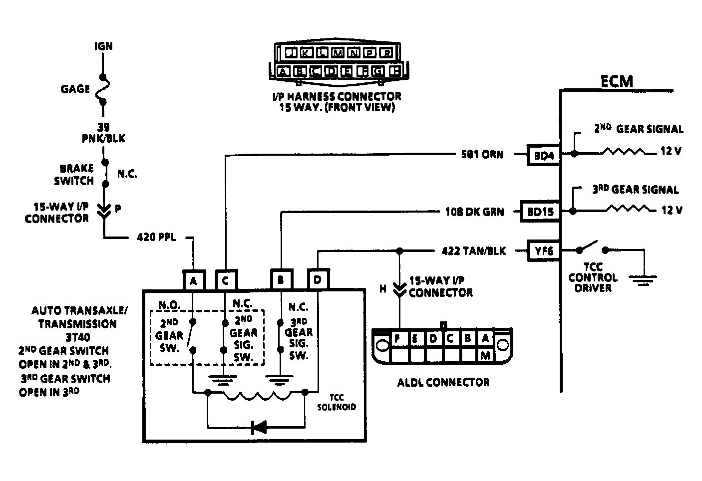
Fig 10: 3.1L Celebrity & 6000 With 3T40 Transmission Converter Clutch Schematic
G90D13188Courtesy of GENERAL MOTORS CORP.
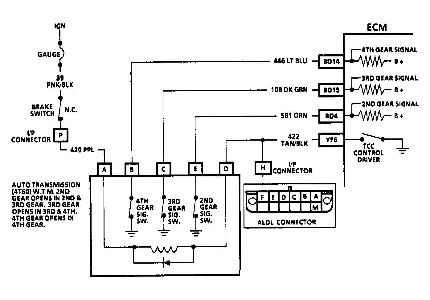
Fig 11: 3.1L Celebrity & 6000 With 4T60 Transmission Converter Clutch Schematic
G90E13189Courtesy of GENERAL MOTORS CORP.
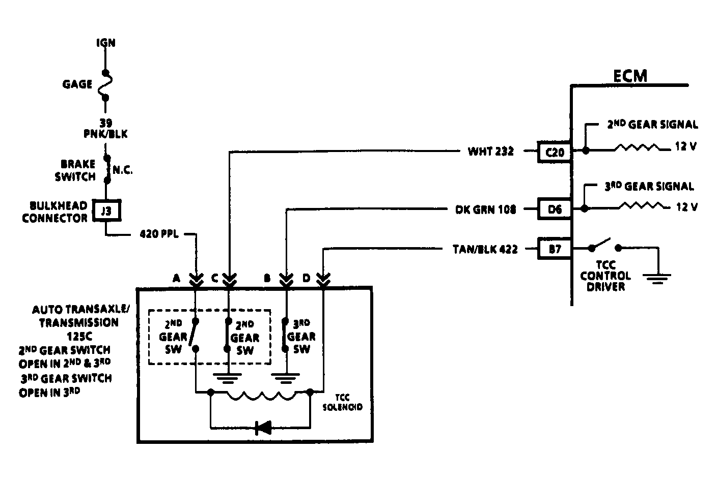
Fig 12: 3.1L Lumina With 125C Transmission Converter Clutch Schematic
G90H13190Courtesy of GENERAL MOTORS CORP.
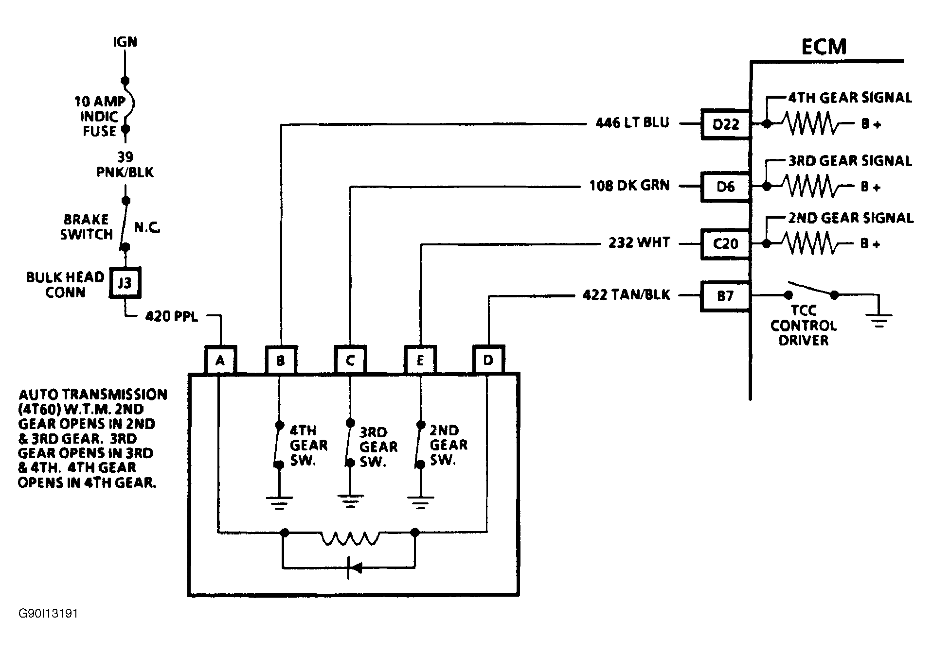
Fig 13: 3.1L Cutlass Supreme, Grand Prix, Regal & Lumina With 4T60 Transmission Converter Clutch Schematic
G90I13191Courtesy of GENERAL MOTORS CORP.
Fig 14: 3.3L Century & Skylark With 3T40 Transmission Converter Clutch Schematic
G90J13192Courtesy of GENERAL MOTORS CORP.
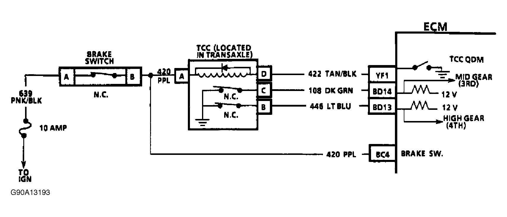
Fig 15: 3.3L Century With 4T60 Transmission Converter Clutch Schematic
G90A13193Courtesy of GENERAL MOTORS CORP.
Fig 16: 3.8L Bonneville, Delta 88 & Ninety-Eight Converter Clutch Schematic
G90B13194Courtesy of GENERAL MOTORS CORP.
Fig 17: 3.8L Reatta & Riviera Converter Clutch Schematic
G90C13195Courtesy of GENERAL MOTORS CORP.
Fig 18: 3.8L Toronado & Trofeo Converter Clutch Schematic
G90D13196Courtesy of GENERAL MOTORS CORP.
Fig 19: 4.5L DeVille, Eldorado, Fleetwood & Seville Converter Clutch Schematic
G90E13197Courtesy of GENERAL MOTORS CORP.
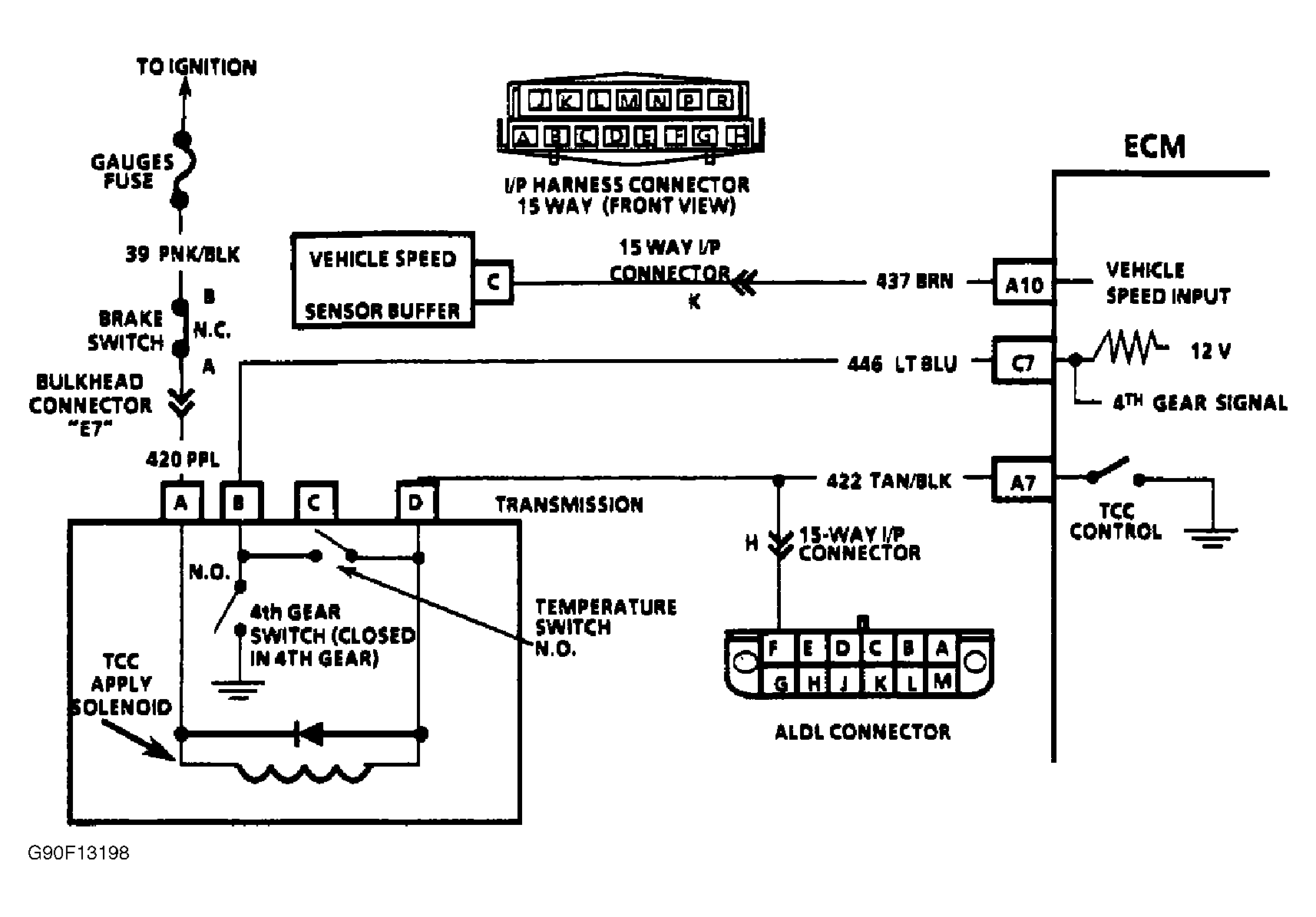
Fig 20: 5.0L TBI Camaro & Firebird Converter Clutch Schematic
G90F13198Courtesy of GENERAL MOTORS CORP.
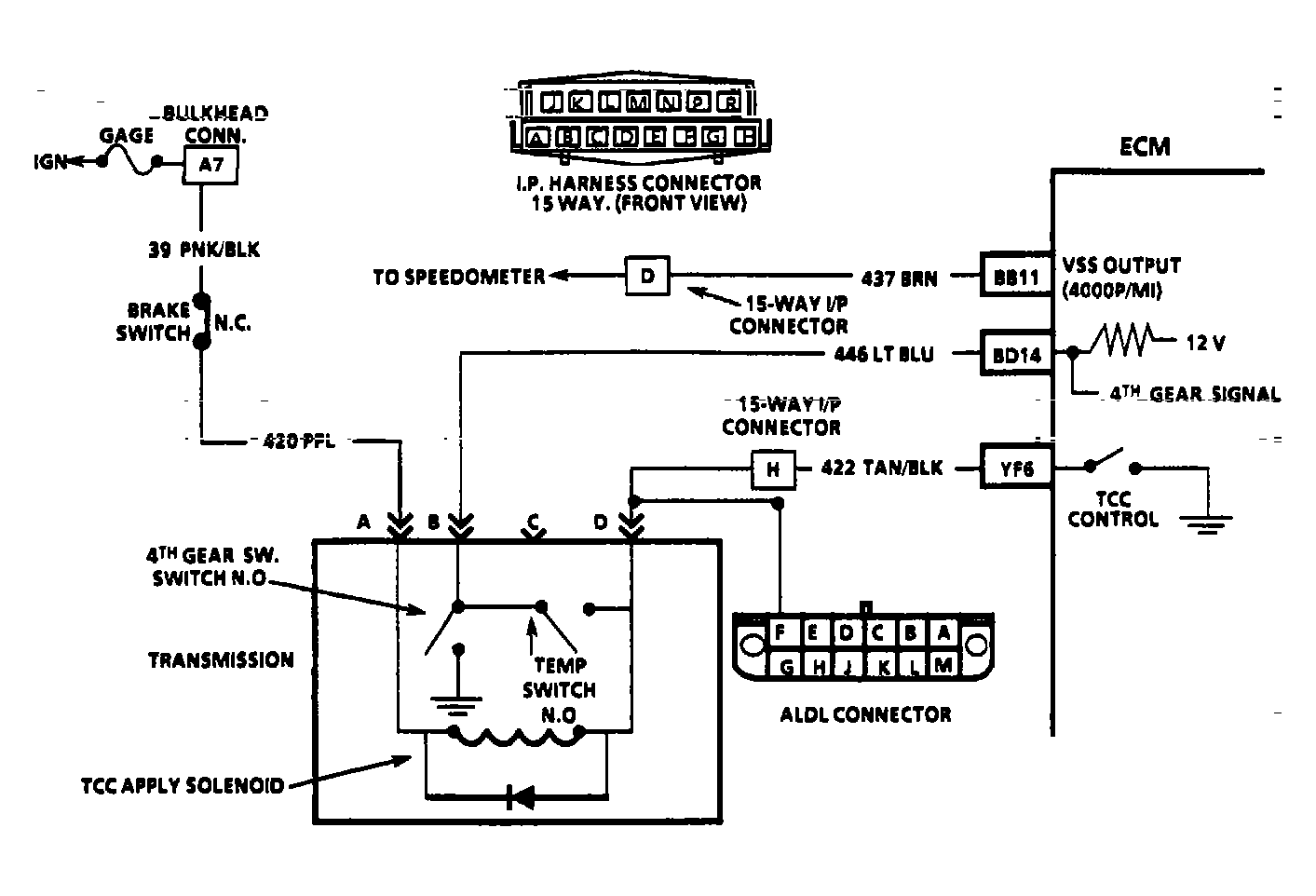
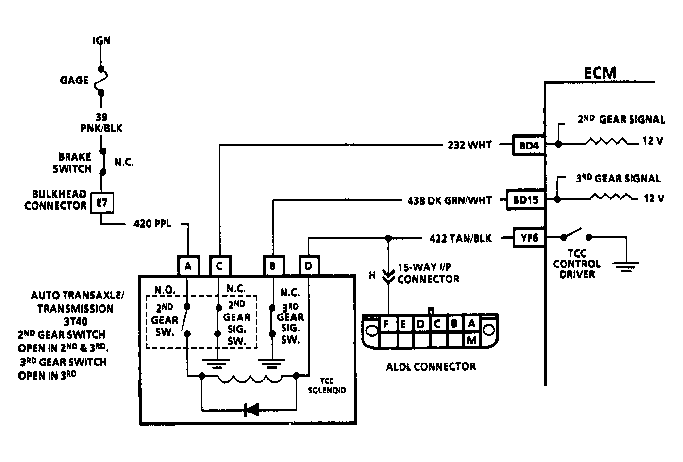
Fig 21: 5.0L & 5.7L TBI Caprice & Custom Cruiser Converter Clutch Schematic
G90G13199Courtesy of GENERAL MOTORS CORP.
Fig 22: 5.0L & 5.7L PFI Camaro & Firebird Converter Clutch Schematic
G90J13200Courtesy of GENERAL MOTORS CORP.
Fig 23: 5.7L Brougham Converter Clutch Schematic
G90A13201Courtesy of GENERAL MOTORS CORP.
Fig 24: 5.7L Corvette Converter Clutch Schematic
G90B13202Courtesy of GENERAL MOTORS CORP.