lemon-mirror:
Home >> Oldsmobile >> 1992 >> Ninety-Eight Regency >> Repair and Diagnosis >> Body & Frame >> Door Locks >> Remote Keyless Entry System >> Removal & Installation >> Keyless Entry Module >> Removal and Installation

Removal and Installation

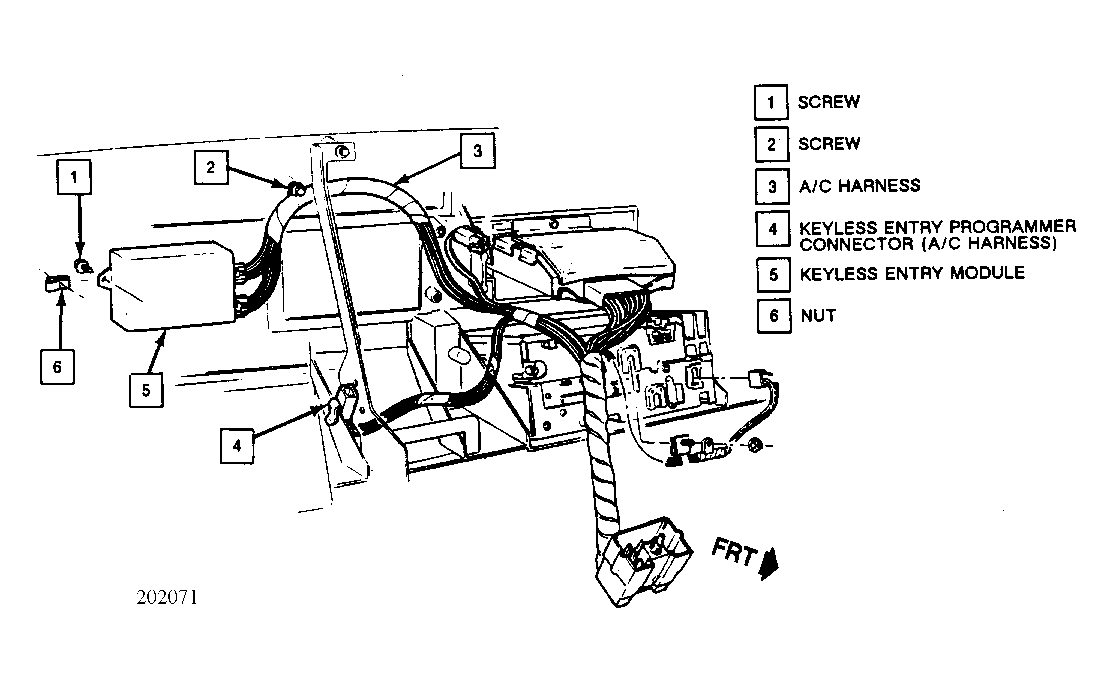
Remove negative battery cable. Remove instrument panel compartment door. Remove screws holding module and all electrical connectors. To install reverse removal procedures.

Fig 1: View of Keyless Entry Module
G202071Courtesy of GENERAL MOTORS CORP.