lemon-mirror:
Home >> Oldsmobile >> 1997 >> Aurora >> Repair and Diagnosis >> Engine Performance >> System >> Engine Controls - System/Component Tests 4.0L >> Computerized Engine Controls >> Pcm Power & Ground Check

Pcm Power & Ground Check

  1. Perform ON-BOARD DIAGNOSTIC (OBD) SYSTEM CHECK in the BASIC TESTING article. After performing OBD system check, go to next step.
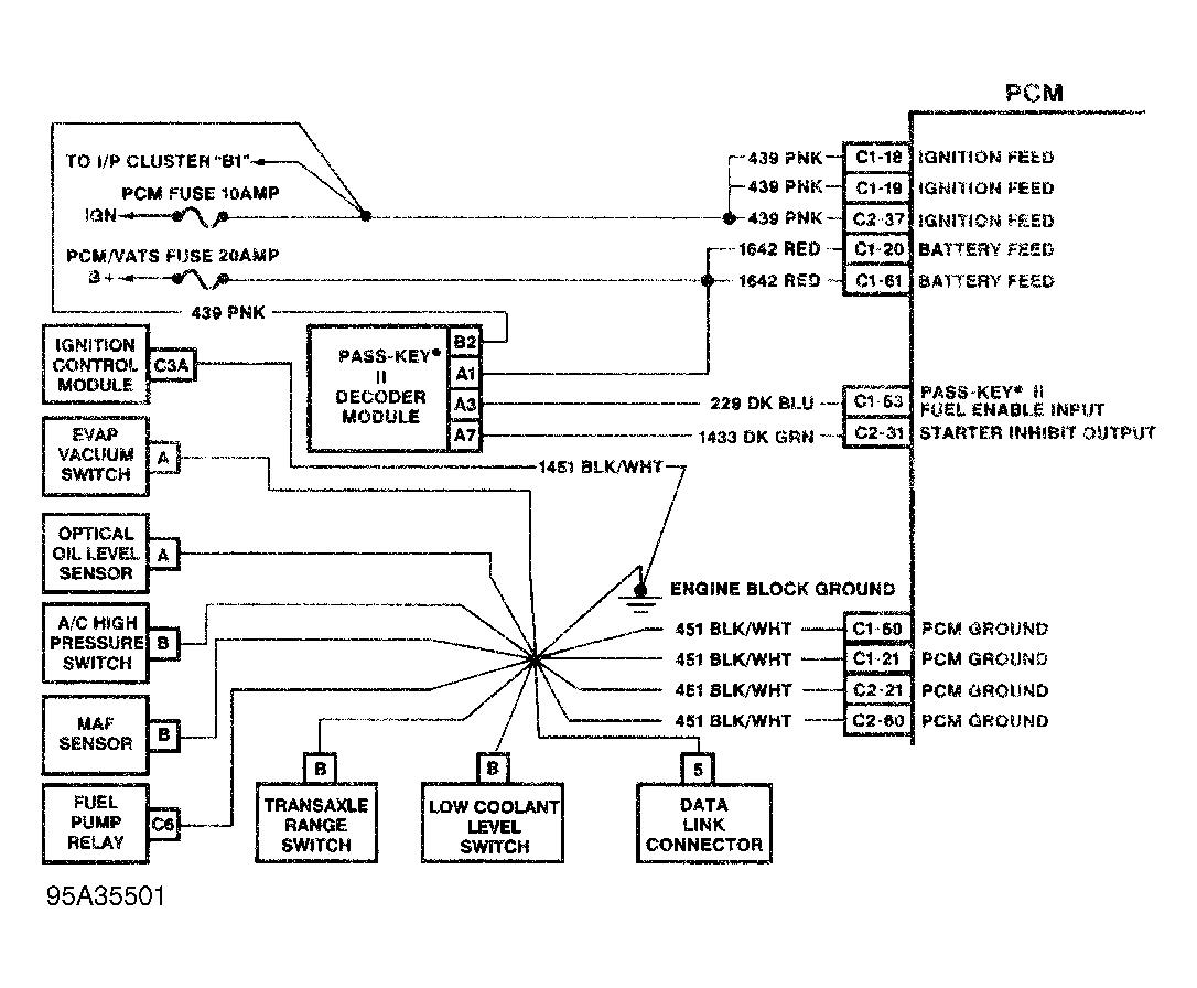
  2. Ensure battery is fully charged and tested. Using scan tool, store fluid life index as indicated on scan tool. Turn ignition off and wait 30 seconds, then disconnect PCM harness connectors C1 and C2. Using DVOM, separately check voltage to ground at PCM harness connector C1 terminals No. 20 and 61. See Fig 1 . If voltage reading is greater than 10 volts, go to step 5). If voltage reading is 10 volts or less, go to next step.
  3. If only one of the terminals measured greater than 10 volts, go to step 12). If both terminals measured 10 volts or less, go to next step.
  4. Check PCM/VATS fuse in engine compartment fuse/relay block. If fuse is faulty, go to step 13). If fuse is okay, go to step 14).
  5. Turn ignition on. Check voltage between ground and PCM harness connector C1 terminal No. 18. If voltage reading is greater than 10 volts, go to step 7). If voltage reading is 10 volts or less, go to next step.
  6. Check PCM fuse in engine compartment fuse/relay block. If fuse is faulty, go to step 15). If fuse is okay, go to step 16).
  7. Turn ignition on. Check voltage between ground and PCM harness connector C1 terminal No. 19 and PCM harness connector C2 terminal No. 37. If voltage reading is greater than 10 volts, go to step 9). If voltage reading is 10 volts or less, go to next step.
  8. If only one of the terminals measured greater than 10 volts, go to step 17). If both terminals measured greater than 10 volts, go to step 18).
  9. Turn ignition switch to LOCK position. Individually check resistance between ground and PCM harness connector C1 terminals No. 21 and 60, and C2 terminals No. 21 and 60. See Fig 1 . If resistance is less than 5 ohms, go to step 11). If resistance is 5 ohms or greater, go to next step.
  10. If all terminals measured greater than 5 ohms, go to step 19). If not all terminals measured greater than 5 ohms, go to next step.
  11. Check terminal contact at PCM harness connector C1 terminals No. 18, 19, 20, 21, 60 and 61, and C2 terminals No. 21 and 60. Repair as necessary. If terminal contacts are okay, fault is not present.
  12. Repair open in circuit that measured less than 10 volts.
  13. Repair short to ground in battery feed circuit. Replace fuse.
  14. Repair open in battery feed circuit or cause of no voltage to PCM/VATS fuse.
  15. Repair short to ground in ignition feed circuit. Replace PCM fuse.
  16. Repair open in ignition feed circuit or cause of no voltage to PCM fuse.
  17. Repair open in circuit that measured less than 10 volts.
  18. Repair short to ground in either ignition feed circuit or PCM fuse.
  19. Repair open in battery feed circuit between splice connections.
  20. Repair open in battery feed circuit between PCM harness connector and splice on the circuit(s) that measured greater than 5 ohms.
Fig 1: PCM Power & Ground Schematic
G95A35501Courtesy of GENERAL MOTORS CORP.