lemon-mirror:
Home >> Oldsmobile >> 2000 >> Intrigue GLS >> Repair and Diagnosis >> Body & Frame >> Body, Cab Control Systems >> Body Control Modules >> System Tests >> Scan Tool Does Not Communicate With Class 2 Device >> Testing

Scan Tool Does Not Communicate With Class 2 Device: Testing

  1. Connect scan tool to DLC. If scan tool powers up, go to next step. If scan tool does not power up, go to SCAN TOOL DOES NOT POWER UP  .
  2. Turn ignition switch to RUN position. Attempt to communicate with PCM, EBCM, SDM, IPC, BCM and HVAC control module. If scan tool communicates with any modules, go to next step. If scan tool does not communicate with any module, go to step  5 .
  3. Select DISPLAY DTCs for each module. Record each DTC, DTC status and module stored in. If any DTC between U1000 and U1096 exist, go to next step. If no DTCs between U1000 and U1096 exist and U1300 or U1301 exist, go to DIAGNOSTIC AIDS  . If other DTCs exist, go to appropriate system starting point for related system.
  4. If DTC U1000 is only DTC displayed, go to CLASS 2 COMMUNICATION MALFUNCTION  . If DTC U1000 is not displayed, go to DTC U1XXX: LOST COMMUNICATION WITH XXX  .
  5. Turn ignition switch to OFF position. Disconnect scan tool. Check for poor terminal contact at DLC connector terminals No. 2 and 5. Repair as necessary. Go to applicable diagnostic system check. If terminal contact is okay, go to next step.
  6. Using DVOM, check continuity between ground and DLC terminal No. 5 (Black wire). See Figure . If continuity exists, go to next step. If continuity does not exist, repair open or high resistance in Black wire. See WIRING DIAGRAMS  .
  7. Disconnect splice pack SP205. Check for poor terminal contact at splice pack connector. Repair as necessary. Go to applicable diagnostic system check. If terminal contact is okay, go to next step.
  8. Measure continuity of Purple wire between DLC terminal No. 2 and SP205 terminal "A". See Figure and Fig 1 . If continuity exists, go to next step. If continuity does not exist, repair open or high resistance in Purple wire. See WIRING DIAGRAMS  .
  9. Using proper terminal adapter from Connector Test Adapter Kit (J 35616-A), connect jumper between splice pack SP205 harness connector terminals "A" (Purple wire) and terminal "M" (Light Green wire). Turn ignition switch to RUN position. Attempt communication with BCM. If scan tool communicates with BCM, go to step  11 . If scan tool does not communicate with BCM, go to next step.
  10. Turn ignition switch to OFF position. Disconnect BCM 16-pin harness connector C2. Check for short to ground and short to power (with ignition switch in RUN position) in class 2 serial data circuit (Purple wire) between ground and splice pack SP205 harness connector terminal "A". See Fig 1 . Repair as necessary. See appropriate wiring diagram in DATA LINK CONNECTORS article in WIRING DIAGRAMS. After repair, go to step  22 . If circuit is okay, go to step  21 .
    Fig 1: Identifying Splice Pack SP205 Connector Terminals
    G00009280Courtesy of GENERAL MOTORS CORP.
  11. Leave jumper connected as specified in step  9 . Connected a second jumper wire between splice pack SP205 harness connector terminals "A" (Purple wire) and terminal "B" (Dark Green wire). Turn ignition switch to RUN position. Attempt communication with Powertrain Control Module (PCM). If scan tool communicates with PCM, go to step  13 . If scan tool does not communicate with BCM, go to next step.
  12. Turn ignition switch to OFF position. Disconnect PCM harness connector C1. Check for short to ground and short to power (with ignition switch in RUN position) in class 2 serial data circuit (Dark Green wire) continuity between splice pack SP205 harness connector terminal "B" and PCM harness connector terminal No. 58. Repair as necessary. See DATA LINK CONNECTORS article in WIRING DIAGRAMS. After repair, go to  22 . If circuit is okay, go to step  21 .
  13. Disconnect jumper wire from splice pack SP205 harness connector terminal "B" (Dark Green wire) and connect jumper wire to splice pack SP205 harness connector terminal "E" (Light Blue wire). See Fig 1 . Turn ignition switch to RUN position. Attempt communication with EBCM. If scan tool communicates with EBCM, go to step  15 . If scan tool does not communicate with BCM, go to next step.
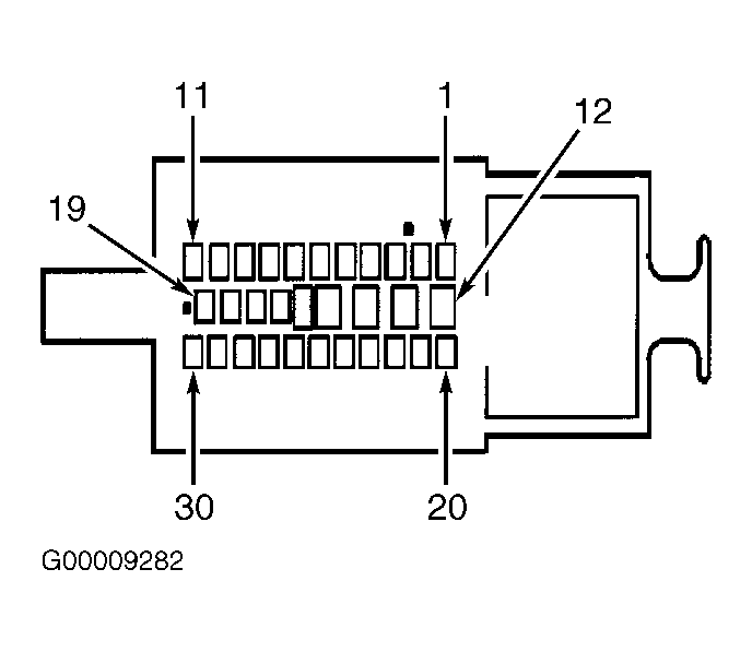
  14. Turn ignition switch to OFF position. Disconnect Electronic Brake Traction Control Module (EBTCM) harness connector C1. Check for short to ground and short to power (with ignition switch in RUN position) in class 2 serial data circuit (Light Blue wire) between splice pack SP205 harness connector terminal "E" and EBCM harness connector terminal No. 25. See Fig 1 and Fig 2 . Repair as necessary. See DATA LINK CONNECTORS article in WIRING DIAGRAMS. After repair, go to step  22 . If circuit is okay, go to step  21 .
  15. Disconnect jumper wire from splice pack SP205 harness connector terminal "E" (Light Blue wire) and connect jumper wire to splice pack SP205 harness connector terminal "F" (Dark Blue wire). Turn ignition switch to RUN position. Attempt communication with Sensing and Diagnostic Module (SDM). If scan tool communicates with SDM, go to step  17 . If scan tool does not communicate with SDM, go to next step.
  16. Turn ignition switch to OFF position. Disconnect SDM harness connector. Check for short to ground and short to power (with ignition switch in RUN position) in class 2 serial data circuit (Dark Blue wire) between splice pack SP205 harness connector terminal "F" and SDM harness connector terminal A5. See Fig 1 and Fig 3 . Repair as necessary. See DATA LINK CONNECTORS article in WIRING DIAGRAMS. After repair, go to step  22 . If circuit is okay, go to step  21 .
    Fig 2: Identifying EBCM Harness Connector Terminals
    G00009282Courtesy of GENERAL MOTORS CORP.
    Fig 3: Identifying SDM Harness Connector Terminals
    G00009281Courtesy of GENERAL MOTORS CORP.
  17. Disconnect jumper wire from splice pack SP205 harness connector terminal "F" (Dark Blue wire) and connect jumper wire to splice pack SP205 harness connector terminal "G" (Gray wire). Turn ignition switch to RUN position. Attempt communication with Instrument Panel Cluster (IPC). If scan tool communicates with IPC, go to step  17 . If scan tool does not communicate with IPC, go to next step.
  18. Turn ignition switch to OFF position. Disconnect IPC harness connector. Check for short to ground and short to power (with ignition switch in RUN position) in class 2 serial data circuit (Gray wire between splice pack SP205 harness connector terminal "G" (Gray wire) and SDM harness connector terminal B1. Repair as necessary. See DATA LINK CONNECTORS article in WIRING DIAGRAMS. After repair, go to step  22 . If circuit is okay, go to step  21 .
  19. Disconnect jumper wire from splice pack SP205 harness connector terminal "G" (Gray wire) and connect jumper wire to splice pack SP205 harness connector terminal "L" (White wire). Turn ignition switch to RUN position. Attempt communication with Heater-A/C Control module. If scan tool communicates with Heater-A/C Control module, go to step  22 . If scan tool does not communicate with IPC, go to next step.
  20. Turn ignition switch to OFF position. Disconnect Heater-A/C Control module harness connector. Check for short to ground and short to power (with ignition switch in RUN position) in class 2 serial data circuit (White wire) between splice pack SP205 harness connector terminal "L" and SDM harness connector terminal D12. See Fig 1 and Fig 3 Repair as necessary. See DATA LINK CONNECTORS article in WIRING DIAGRAMS. After repair, go to step  22 . If circuit is okay, go to step  21 .
  21. Check for poor terminal contact at class 2 serial data circuit of module that is not communicating. Repair as necessary. See WIRING DIAGRAMS  . If terminal contact is okay, replace module in question. After repair, go to step  22 .
  22. NOTE: Scan tool may require a power up reset before communication will occur due to a short in class 2 serial data circuit. Ensure scan tool is off or is disconnected before performing test.
  23. Reconnect all disconnected connectors. Install scan tool to DLC. Turn ignition switch to RUN position. Wait 10 seconds. Select DISPLAY DTCs function for each module. Record and any communication DTCs exist (DTCs beginning with a "U") and have current status. If no communication DTCs exist (DTCs beginning with a "U"), go to next step. If any communication DTCs exist (DTCs beginning with a "U") and are current, go to step  24 .
  24. If any DTCs exist that do not begin with "U", go to next step. If no other DTCs exist, clear all existing DTCs and recheck system operation.
  25. Diagnose existing DTC(s) as necessary. Go to appropriate system starting point for related system. Repair appropriate system as necessary. Clear DTCs and retest system operation.