lemon-mirror:
Home >> Plymouth >> 1976 >> Arrow Base, Automatic Trans >> Repair and Diagnosis >> Electrical >> Charging Systems >> Alternator Regulators >> Adjustment

Alternator Regulators: Adjustment

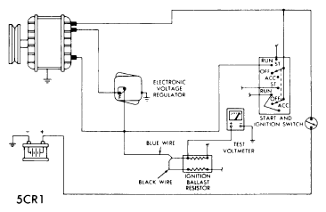
The Electronic Voltage Regulator cannot be adjusted. If specifications are not obtained and investigation has proved that the rest of the electrical system is not at fault, regulator must be replaced.

Fig 1: VOLTAGE REGULATOR TEST (VALIANT & DART)
G09321360Courtesy of CHRYSLER GROUP, LLC
Fig 2: VOLTAGE REGULATOR TEST (EXC. VALIANT & DART)
G09321361Courtesy of CHRYSLER GROUP, LLC