lemon-mirror:
Home >> Plymouth >> 1992 >> Colt Base, Automatic >> Repair and Diagnosis >> Engine Performance >> System >> Engine Controls - Tests W/Codes >> Code Charts >> Dr-12: Testing Injector Circuit

Dr-12: Testing Injector Circuit

Fig 1: DR-12 Test Schematic Testing Injector Circuit
G90G15384
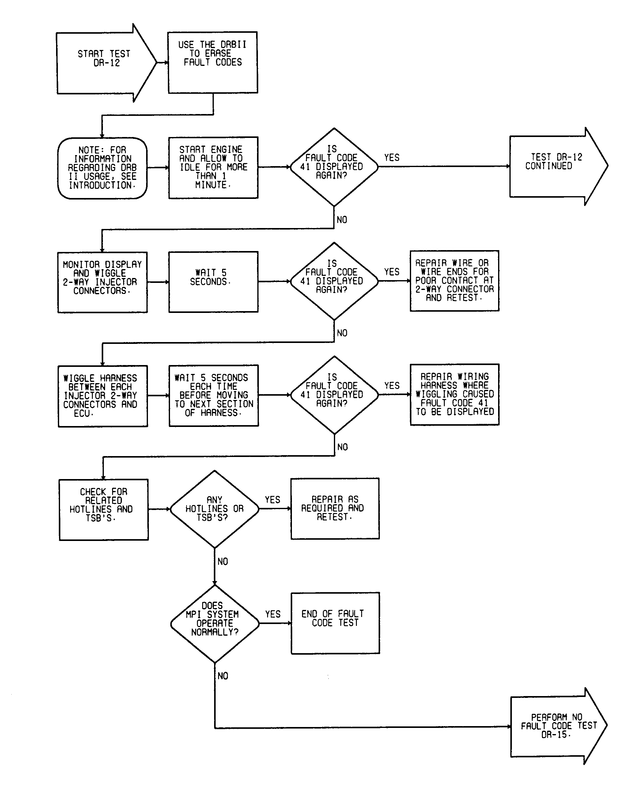
Fig 2: DR-12 Test Flow Chart (1 Of 2) Testing Injector Circuit
G91A17251
Fig 3: DR-12 Test Flow Chart (2 Of 2) Testing Injector Circuit
G91B17252