lemon-mirror:
Home >> Plymouth >> 1992 >> Colt Base, Automatic >> Repair and Diagnosis >> Engine Performance >> System >> Engine Controls - Tests W/Codes >> Code Charts >> Dr-14: Testing EGR Temperature Sensor Circuit

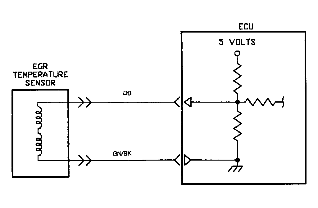
Dr-14: Testing EGR Temperature Sensor Circuit

Fig 1: DR-14 Test Schematic Testing EGR Temperature Sensor Circuit
G90I15386
Fig 2: DR-14 Test Flow Chart (1 Of 3) Testing EGR Temperature Sensor Circuit
G91D17254
Fig 3: DR-14 Test Flow Chart (2 Of 3) Testing EGR Temperature Sensor Circuit
G91E17255
Fig 4: DR-14 Test Flow Chart (3 Of 3) Testing EGR Temperature Sensor Circuit
G91F17256