lemon-mirror:
Home >> Plymouth >> 1992 >> Colt Base, Automatic >> Repair and Diagnosis >> Engine Performance >> System >> Engine Controls - Tests W/Codes >> Code Charts >> Dr-7: Testing Coolant Sensor

Dr-7: Testing Coolant Sensor

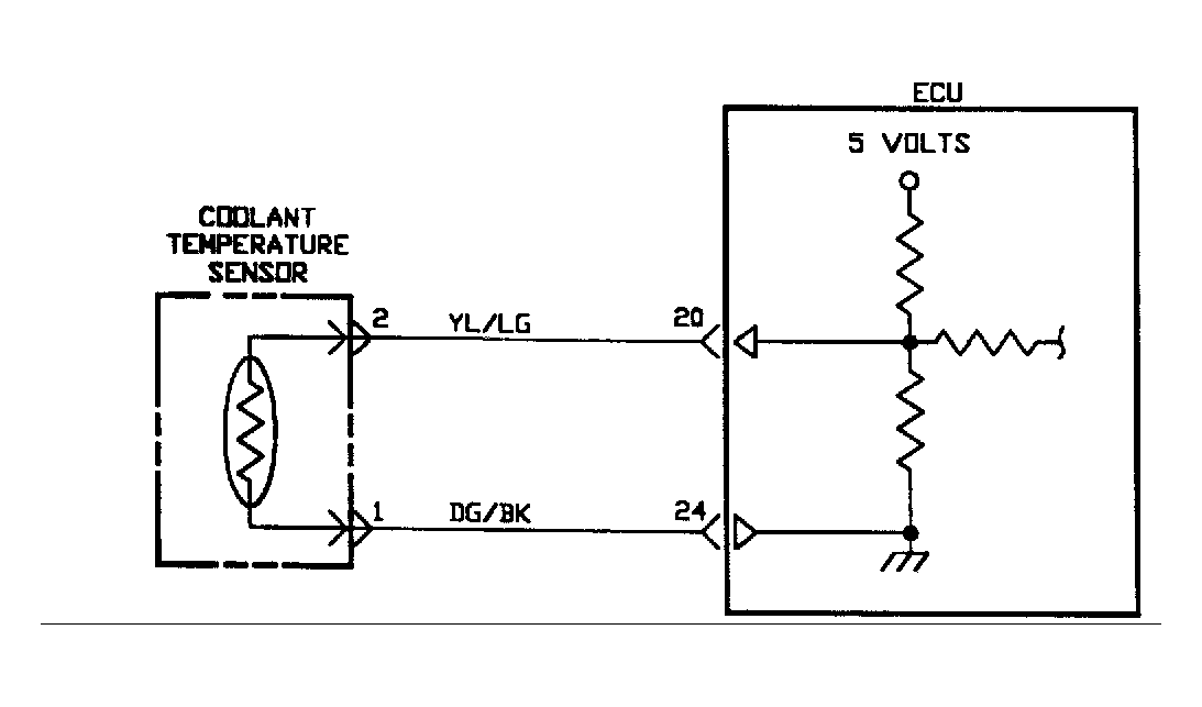
Fig 1: DR-7 Test Schematic Testing Coolant Sensor
G90J15379
Fig 2: DR-7 Test Flow Chart (1 Of 2) Testing Coolant Sensor
G91A17244
Fig 3: DR-7 Test Flow Chart (2 Of 2) Testing Coolant Sensor
G91B17245