lemon-mirror:
Home >> Plymouth >> 1992 >> Colt Base, Automatic >> Repair and Diagnosis >> Engine Performance >> System >> Engine Controls - Tests W/Codes >> Code Charts >> NS-1: Ignition Check

NS-1: Ignition Check

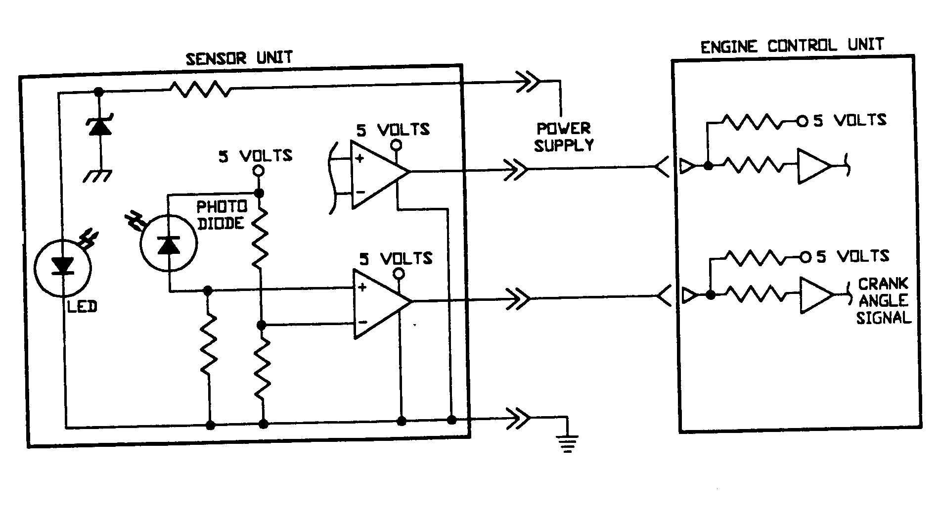
Fig 1: No Start Test 1 Schematic (1 Of 3) Ignition Check
G90G15368
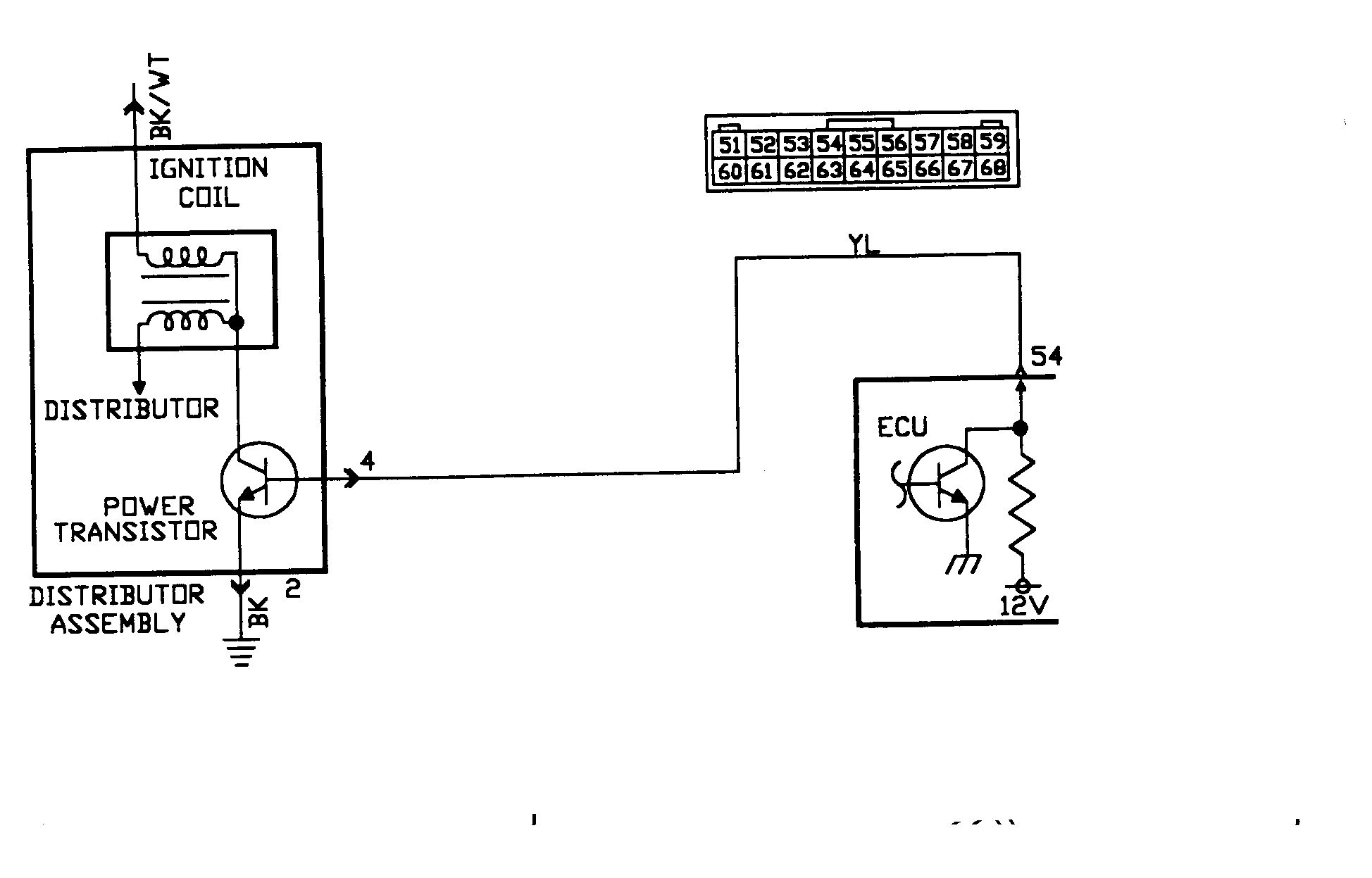
Fig 2: No Start Test 1 Schematic (2 Of 3) Ignition Check
G91G16697
Fig 3: No Start Test 1 Schematic (3 Of 3) Ignition Check
G91F16696
Fig 4: No Start Test 1 Flow Chart (1 Of 5) Ignition Check
G91E16703
Fig 5: No Start Test 1 Flow Chart (2 Of 5) Ignition Check
G91F16704
Fig 6: No Start Test 1 Flow Chart (3 Of 5) Ignition Check
G91G16705
Fig 7: No Start Test 1 Flow Chart (4 Of 5) Ignition Check
G91H16706
Fig 8: No Start Test 1 Flow Chart (5 Of 5) Ignition Check
G91I16707