lemon-mirror:
Home >> Plymouth >> 1996 >> Breeze Automatic >> Repair and Diagnosis >> Brakes >> Traction Control >> Anti-Lock Brake System >> Connector Identification

Connector Identification

NOTE: Wire color/trace may differ from model to model and year to year. Use appropriate wiring diagram for wire color identification. See WIRING DIAGRAM  .
Fig 1: CCD Data Link Connector Terminals
G97D03665Courtesy of CHRYSLER CORP.
Fig 2: Controller Anti-Lock Brake (CAB)
G96E07503Courtesy of CHRYSLER CORP.
Fig 3: Hydraulic Control Unit (HCU) Connector Terminals
G97H03667Courtesy of CHRYSLER CORP.
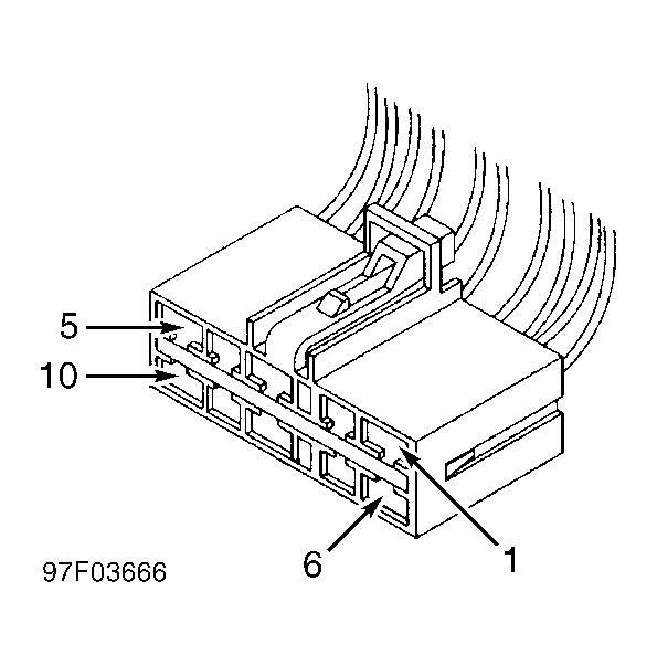
Fig 4: Ignition Switch Connector Terminals
G97F03666Courtesy of CHRYSLER CORP.
Fig 5: Relay Box Connector Terminals
G97J03668Courtesy of CHRYSLER CORP.
Fig 6: Rear Wheel Speed Sensor Harness Connector Terminals
G97B03669Courtesy of CHRYSLER CORP.
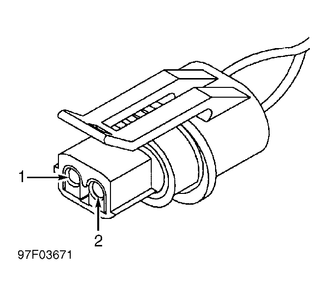
Fig 7: Wheel Speed Sensor Connector Terminals
G97F03671Courtesy of CHRYSLER CORP.