lemon-mirror:
Home >> Pontiac >> 1996 >> Trans Sport >> Repair and Diagnosis >> Engine Performance >> System >> Engine Control System - Basic Testing >> On-Board Diagnostic (OBD) System Check >> The OBD System Check Determines:

The OBD System Check Determines:

After performing procedures in PRELIMINARY INSPECTION & ADJUSTMENTS, BASIC FUEL SYSTEM CHECKS and BASIC IGNITION SYSTEM CHECKS, this is the starting point for utilizing the self-diagnostic system for determining computer-related problems. After performing necessary tests as described in the OBD system circuit check, if no codes are indicated and driveability problems still exist, see TESTS W/O CODES article and SCAN TESTER usage in TESTS W/CODES article.

  1. Turn ignition on with engine off. Observe Malfunction Indicator Light (MIL). If MIL illuminates, go to next step. If MIL does not illuminate, go to A-1, MALFUNCTION INDICATOR LIGHT (MIL)  .
  2. Turn ignition off. Install Tech 1 scan tool, follow scan tool manufacturer's instructions to proceed with test. Turn ignition on. If scan tool displays PCM data, go to next step. If scan tool does not display PCM data, go to ON-BOARD DIAGNOSTIC (OBD) SYSTEM CHECK  .
  3. Attempt to start engine. If engine starts and runs, go to next step. If engine does not start or starts and dies, see A-3, NO-START DIAGNOSIS  . Repair as necessary.
  4. Using scan tool, observe DTC status LAST TST FAIL function. If any DTC is stored, save freeze frame and fail record information using CAPTURE INFO feature. If a DTC is indicated as last test failed, diagnose affected DTC. See TESTS W/CODES article. If DTC is not indicated, go to next step.
  5. Using scan tool, display DTC fail records. If a DTC fail record is stored, save freeze frame and fail record information using scan tool CAPTURE INFO feature. If a fail record is stored, diagnose affected DTC. See TESTS W/CODES article.
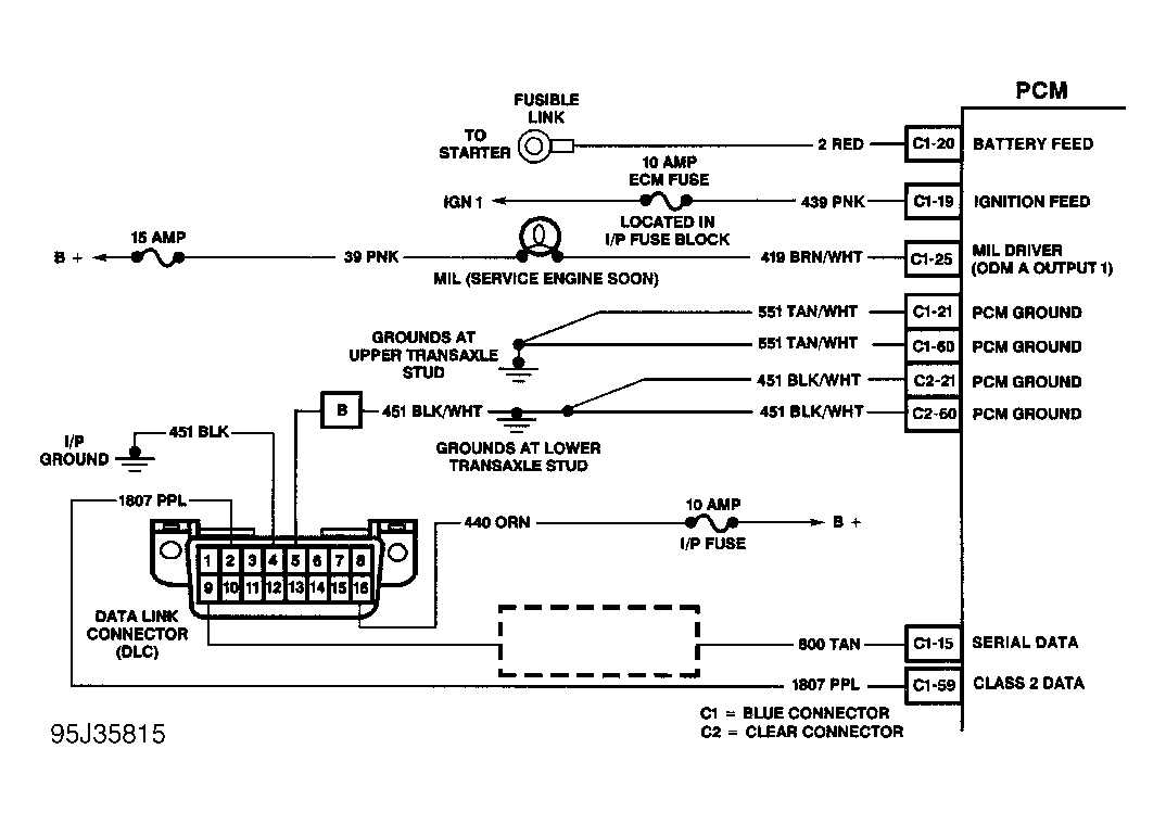
Fig 1: Data Link Connector Circuit Schematic
G95J35815Courtesy of GENERAL MOTORS CORP.