lemon-mirror:
Home >> Pontiac >> 1998 >> Firebird Formula, Automatic >> Repair and Diagnosis >> Electrical >> Starter >> Starting System >> Torque Specifications

Torque Specifications

TORQUE SPECIFICATIONS

Application Ft. Lbs. (N.m)
Starter Mounting Bolts
3.8L 35 (47)
5.7L 37 (50)
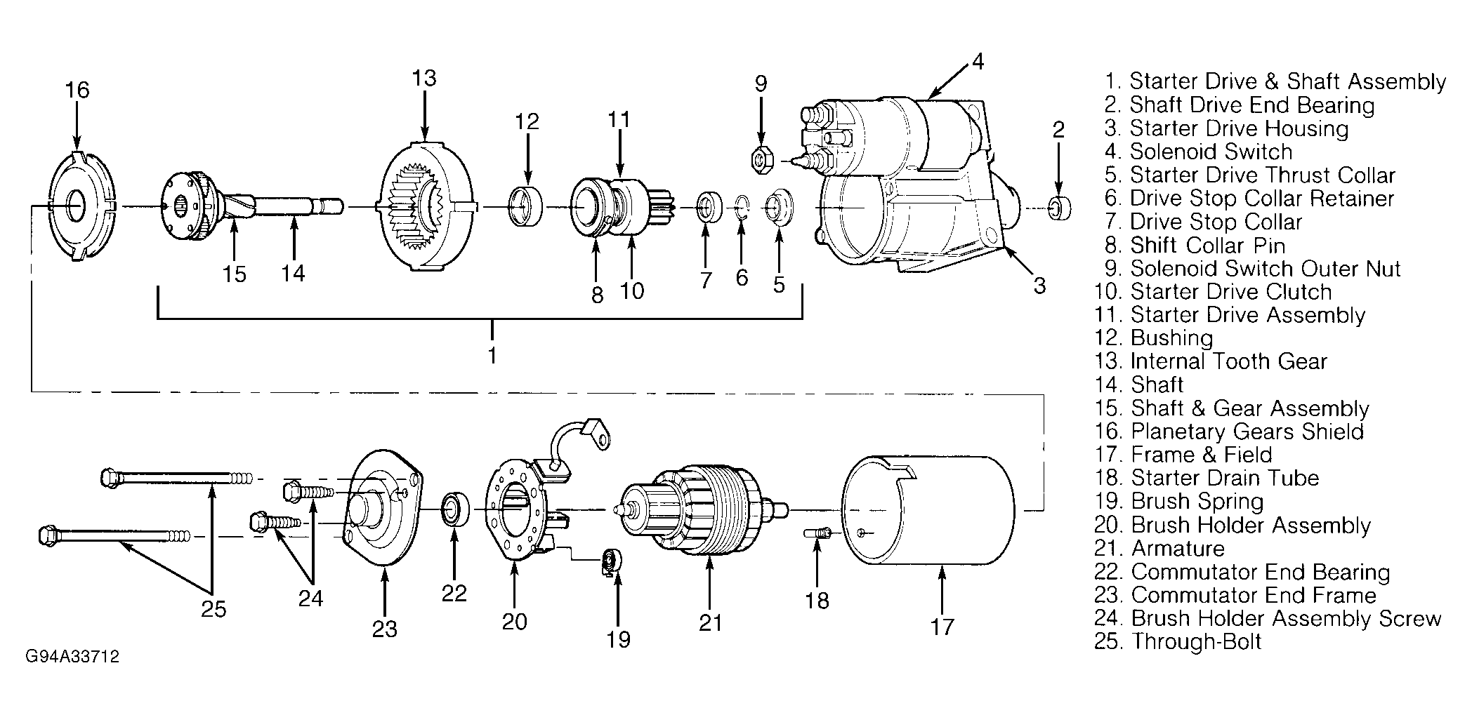
Fig 1: Exploded View Of Delco-Remy Starter Motor (PG260)
G94A33712Courtesy of GENERAL MOTORS CORP.