lemon-mirror:
Home >> Pontiac >> 2000 >> Firebird Formula, Automatic >> Repair and Diagnosis >> Engine Mechanical >> Engine Mechanical 5.7L V8 >> Torque Specifications

Torque Specifications

TORQUE SPECIFICATIONS

Application Ft. Lbs. (N.m)
Air Injection Pipe-To-Exhaust Manifold Bolts 15 (20)
Camshaft Retainer Bolt 18 (24)
Camshaft Sensor Bolt 18 (24)
Camshaft Sprocket Bolt 26 (35)
Connecting Rod Cap Bolts
Step 1 15 (20)
Step 2 Additional 60 Degrees
Crankshaft Balancer Bolt
With Original Bolt To Seat Balancer 240 (325)
Step 1 With New Bolt 37 (50)
Step 2 With New Bolt Additional 140 Degrees
Crankshaft Oil Deflector Nuts 18 (24)
Crankshaft Oil Seal Cover To Block Bolt (Front & Rear) 18 (24)
Crankshaft Position Sensor Bolts 18 (24)
Cylinder Head Bolts (1)
Drive Belt Idler Pulley Bolt 37 (50)
Drive Belt Tensioner Bolt 37 (50)
Engine Mount Through-Bolts 70 (95)
Exhaust Manifold Bolts
Step 1 11 (15)
Step 2 18 (24)
Flexplate/Flywheel-To-Crankshaft Bolts (2)
Step 1 15 (20)
Step 2 37 (50)
Step 3 74 (100)
Flexplate/Flywheel Housing Bolt 70 (95)
Knock Sensors 15 (20)
Main Bearing Cap Bolts/Studs (3)
Inner Bolts - M10 (Tighten First)
Step 1 15 (20)
Step 2 Additional 80 Degrees
Outer Studs - M10 (Tighten Second)
Step 1 15 (20)
Step 2 Additional 53 Degrees
Side Bolts - M8 (Tighten Last) (4) 18 (24)
Oil Level Sensor 9 (12)
Oil Pan
M6 Bolts (5)
M8 Bolts 18 (24)
Oil Pump Screen Nuts 18 (24)
Oil Pump Screen-To-Oil Pump Bolt (5)
Oil Pump-To-Block Bolt 18 (24)
Oxygen Sensor 31 (42)
Rocker Arm Bolts 22 (30)
Spark Plugs 12 (16)
Starter Bolts 37 (50)
Transmission-To-Driveline Support Assembly Bolts 37 (50)
Valley Cover Bolts 18 (24)
Water Pump Bolts
Step 1 11 (15)
Step 2 22 (30)
Water Pump Cover Bolts 11 (15)
INCH Lbs. (N.m) 
Fuel Rail Bolts 89 (10)
Ignition Coil Bolts 106 (12)
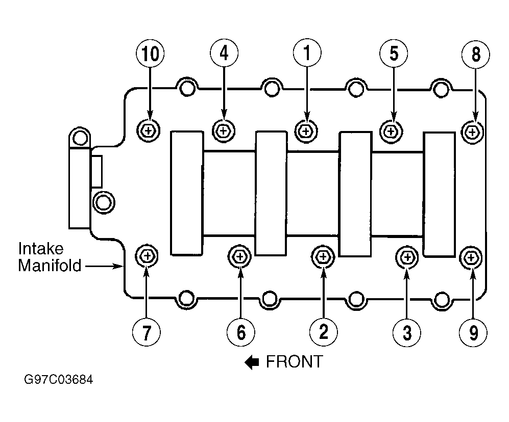
Intake Manifold Bolts (6)
Step 1 44 (5)
Step 2 89 (10)
Oil Pump Cover Bolts 106 (12)
Throttle Body Bolts 106 (12)
Valve Cover Bolts 106 (12)
Valve Lifter Guide Bolts 106 (12)
Vapor Vent Pipe Bolts 106 (12)
(1) See INSTALLATION under CYLINDER HEADS  for procedure and specifications. See Figure .
(2) Tighten bolts evenly using a crisscross sequence.
(3) Tighten bolts in sequence, Inner bolts first. See Figure .
(4) Use NEW bolt.
(5) Tighten to 106 INCH lbs. (12 N.m)
(6) Tighten bolts in sequence. See Figure .