lemon-mirror:
Home >> Pontiac >> 2001 >> Aztek Base, FWD >> Repair and Diagnosis >> Brakes >> Traction Control >> Anti-Lock Brake System With Traction Control System - BOSCH 5.3 >> Diagnostic Tests >> Notes

Diagnostic Tests: Notes

NOTE: For terminal and circuit identification, see WIRING DIAGRAMS . Testing of system requires use of Universal Breakout Box (J-39700) and Cable Adapter (J-39700-99). After repairs, recheck system operation to verify problem has been repaired. See DIAGNOSTIC SYSTEM CHECK  under DIAGNOSIS & TESTING. For connector terminal locations, see Fig 1 - Fig 7 .
Fig 1: Identifying BCM Connector C0 Terminals
G00050154Courtesy of GENERAL MOTORS CORP.
Fig 2: Identifying BCM Connector C1 Terminals
G00050155Courtesy of GENERAL MOTORS CORP.
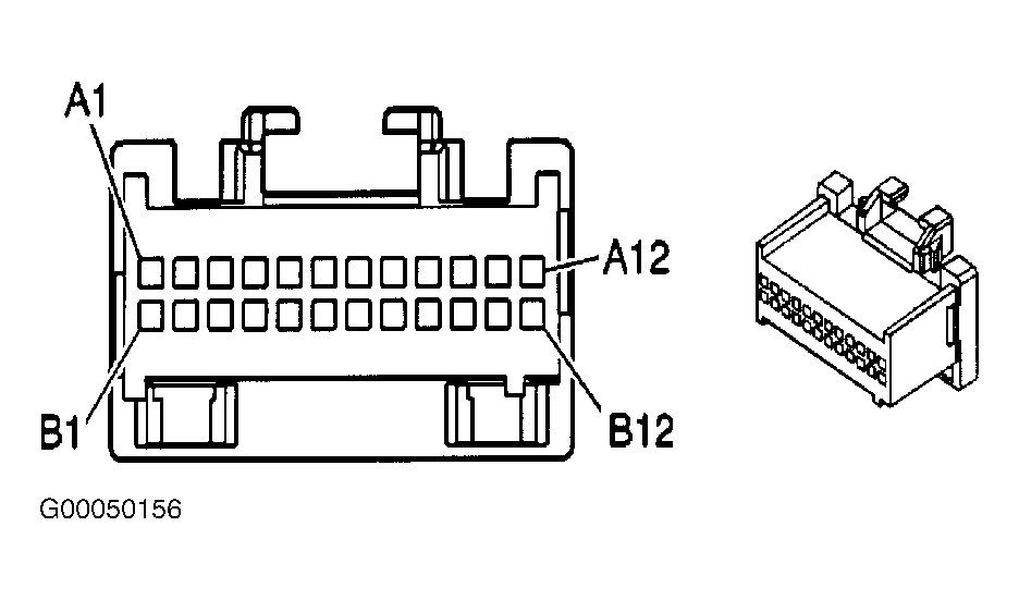
Fig 3: Identifying BCM Connector C2 Terminals
G00050156Courtesy of GENERAL MOTORS CORP.
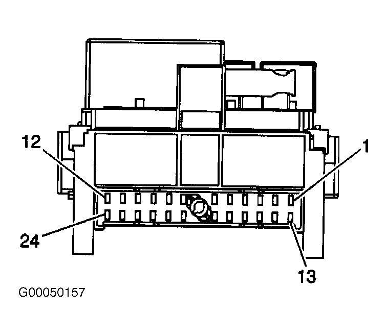
Fig 4: Identifying BCM Connector C3 Terminals
G00050157Courtesy of GENERAL MOTORS CORP.
Fig 5: PCM Connector Terminal Identification
G00050158Courtesy of GENERAL MOTORS CORP.
Fig 6: Identifying EBCM Connector Terminals
G00050159Courtesy of GENERAL MOTORS CORP.
Fig 7: Identifying Traction Control Switch Connector Terminals
G00050160Courtesy of GENERAL MOTORS CORP.