lemon-mirror:
Home >> Pontiac >> 2002 >> Aztek FWD >> Repair and Diagnosis >> Brakes >> Traction Control >> Anti-Lock Brake System >> Repair Instructions >> Electronic Brake Control Module (EBCM) Replacement >> Removal Procedure

Removal Procedure

NOTE: Always connect or disconnect the wiring harness connector from the EBCM/EBTCM with the ignition switch in the OFF position. Failure to observe this precaution could result in damage to the EBCM/EBTCM.
  1. Turn the ignition switch to the OFF position.
  2. Remove the air cleaner housing from the engine compartment.
  3. Remove the master cylinder mount nuts (1).
  4. Fig 1: Removing Master Cylinder Mount Nuts
    G01747201Courtesy of GENERAL MOTORS CORP.
  5. Remove the master cylinder and place the master cylinder off to the side, do not disconnect the master cylinder brake pipes.
  6. Disconnect the EBCM harness connector.
  7. Brush off any dirt/debris that has accumulated on the assembly.
  8. Disconnect the pump motor connector (3) at the bottom of the EBCM.

    Important: 

    • Do not damage the seal by prying the EBCM from the BPMV.
    • Do not damage the solenoid valves while removing the EBCM from the BPMV.
  9. Remove the six EBCM to BPMV screws (2).
    Fig 2: Disconnecting Pump Motor Connector & Removing EBCM To BPMV Screws
    G01747202Courtesy of GENERAL MOTORS CORP.
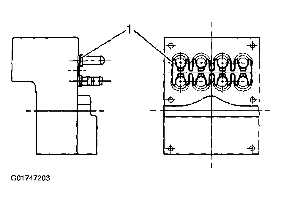
  10. Separate the EBCM from the BPMV by gently pulling apart until separated (1).
    Fig 3: Separating EBCM From BPMV
    G01747203Courtesy of GENERAL MOTORS CORP.