Cellular Communication Connector End Views
WARNING: This page does not describe the selected car, but rather 6 other vehicles, including the 2002 GMC Yukon XL, 2002 GMC Yukon, 2002 Chevrolet Tahoe, 2002 Chevrolet Suburban, and 2002 Cadillac Escalade EXT. However, it is still accessible from the selected car via links, so may be relevant.
Vehicle Interface Unit (VIU) Control Module - C1 Component Views
| Connector Part Information |
|
||
|---|---|---|---|
| Pin | Wire Color | Circuit No. | Function |
| A1 | - | - | Not Used |
| A2 | ORN | 1044 | Radio Class 2 Serial Data |
| A3 | DK GRN | 835 | Entertainment and Comfort Serial Data |
| A4-A5 | - | - | Not Used |
| A6 | BLK/WHT | 372 | Remote Radio Audio Output (-) |
| A7 | DK GRN/ WHT |
368 | Remote Playback Device Right Audio Signal |
| A8 | BRN/WHT | 367 | Remote Playback Device Left Audio Signal |
| A9 | BARE | 814 | Drain Wire |
| A10 | LT BLU | 1235 | Audio Low Reference |
| A11 | BRN/WHT | 2506 | Audio Return Signal |
| A12 | DK GRN/ WHT |
2507 | Audio Transmit Signal |
| A13 | BARE | 1792 | Drain Wire |
| A14 | GRY/BLK | 2508 | Microphone Signal |
| A15 | BARE | 1782 | Drain Wire |
| A16 | ORN | 2540 | Battery Positive Voltage |
| B1-B8 | - | - | Not Used |
| B9 | GRY | 655 | Cellular Microphone Signal |
| B10 | BARE | 1705 | Drain Wire |
| B11 | TAN/BLK | 2510 | OnStar Serial Data Return |
| B12 | DK BLU/ WHT |
2511 | OnStar Serial Data (-) |
| B13 | LT BLU/ BLK |
2512 | OnStar Serial Data (+) |
| B14 | GRY | 2520 | Transceiver Low Reference |
| B15 | PPL/WHT | 2513 | Ignition ON Signal |
| B16 | - | - | Not Used |
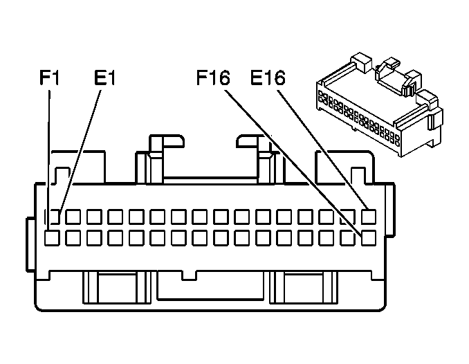
Vehicle Interface Unit (VIU) Control Module - C2 Component Views
| Connector Part Information |
|
||
|---|---|---|---|
| Pin | Wire Color | Circuit No. | Function |
| E1 | BLK | 1850 | Ground |
| E2-E3 | - | - | Not Used |
| E4 | DK GRN/ WHT |
2514 | Keypad Signal |
| E5 | YEL/BLK | 2516 | Keypad Green LED Signal |
| E6 | LT GRN/ BLK |
2515 | Keypad Supply Voltage |
| E7-E15 | - | - | Not Used |
| E16 | ORN | 2240 | Battery Positive Voltage |
| F1 | BLK | 1850 | Ground |
| F2-F3 | - | - | Not Used |
| F4 | ORN/BLK | 2518 | Keypad Low Reference |
| F5 | - | - | Not Used |
| F6 | PNK | 739 | Ignition 1 Voltage & UE1 |
| F7-F8 | - | - | Not Used |
| F9 | BRN/WHT | 2517 | Keypad Red LED Signal |
| F10 | - | - | Not Used |
| F11 | BLK | 707 | RAP Relay Coil Supply Voltage & UE1 |
| F12-F15 | - | - | Not Used |
| F16 | ORN | 2240 | Battery Positive Voltage |
Vehicle Communication Unit (VCU) Component Views
| Connector Part Information |
|
||
|---|---|---|---|
| Pin | Wire Color | Circuit No. | Function |
| 1 | DK GRN/ WHT |
2507 | Audio Transmit Signal |
| 2 | - | - | Not Used |
| 3 | BLK | 2520 | Transceiver Low Reference |
| 4 | ORN | 2540 | Battery Positive Voltage |
| 5 | PPL/WHT | 2513 | Ignition On Signal |
| 6 | BRN/WHT | 2506 | Audio Return Signal |
| 7-10 | - | - | Not Used |
| 11 | LT BLU/ BLK |
2512 | OnStar Serial Data (+) |
| 12 | DK BLU/ WHT |
2511 | OnStar Serial Data (-) |
| 13 | - | - | Not Used |
| 14 | BLK | 1792 | Drain Wire |
| 15 | GRY/BLK | 2508 | Microphone Signal |
| 16-17 | - | - | Not Used |
| 18 | TAN/BLK | 2510 | Onstar Serial Data Return |
| 19-23 | - | - | Not Used |
| 24 | BLK/WHT | 1235 | Audio Low Reference |
| 25 | - | - | Not Used |
OnStar Button Assembly Component Views
| Connector Part Information |
|
||
|---|---|---|---|
| Pin | Wire Color | Circuit No. | Function |
| A | LT GRN/ BLK |
2515 | Keypad Supply Voltage |
| B | DK GRN/ WHT |
2514 | Keypad Signal |
| C-D | - | - | Not Used |
| E | ORN/BLK | 2518 | Keypad Low Reference |
| F | YEL/BLK | 2516 | Keypad Green LED Signal |
| G | BRN/WHT | 2517 | Keypad Red LED Signal |
| H | - | - | Not Used |
Cellular Telephone Microphone Component Views
| Connector Part Information |
|
||
|---|---|---|---|
| Pin | Wire Color | Circuit No. | Function |
| A | BARE | 1705 | Drain Wire |
| B | GRY | 655 | Cellular Microphone Signal |