lemon-mirror:
Home >> Pontiac >> 2002 >> Aztek FWD >> Repair and Diagnosis >> External Pages >> Different car >> Section 1399 (Cellular Communication System) >> Component Locator >> Cellular Communication Connector End Views

Cellular Communication Connector End Views

WARNING: This page is about a different car, the 2003 Saturn Vue. However, it is still accessible from the selected car via links, so may be relevant.
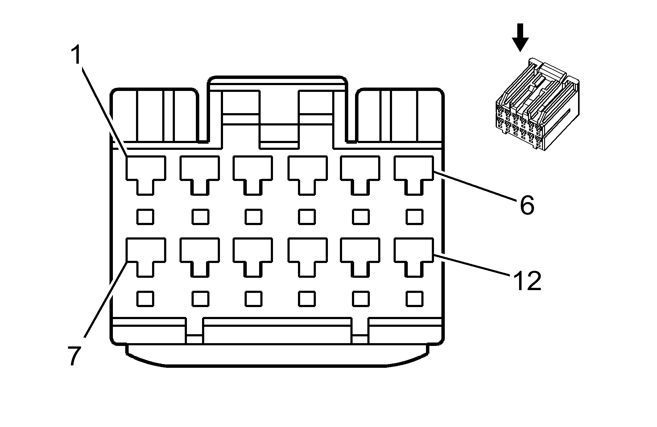
Vehicle Communication Interface Module (VCIM) C1

GM814530Courtesy of GENERAL MOTORS CORP.
Connector Part Information
  • 917981-1
  • 16-Way M MK 11 Hybrid (WH)
Pin Wire Color Circuit Number Function
1 - - Not Used
2 BN/WH 2517 Keypad Red LED Signal
3 YE/BK 2516 Keypad Green LED Signal
4-5 - - Not Used
6 L-GN/BK 2515 Keypad Supply Signal
7 BK/WH 151 Ground
8 BK/WH 151 Ground (2002, Early 2003)
9-10 - - Not Used
11 D-GN/WH 2514 Keypad Signal
12-14 - - Not Used
15 OG 1640 Battery Positive Voltage (2002, Early 2003)
16 OG 1640 Battery Positive Voltage
Vehicle Communication Interface Module (VCIM) C2

GM814532Courtesy of GENERAL MOTORS CORP.
Connector Part Information
  • 917975-1
  • 12-Way M MK11 Hybrid (WH)
Pin Wire Color Circuit Number Function
1 BN/WH 367 Left Audio Signal
2 BK/WH 372 Audio Common
3-5 - - Not Used
6 PU 1807 Class 2 Serial Data
7 D-GN/WH 368 Right Audio Signal
8 BARE 814 Drain Wire
9 GY 655 Cellular Microphone Signal
10 BARE 654 Cellular Microphone Low Reference
11 - - Not Used
12 YE/BK 693 Cellular Telephone Mute Signal
Cellular Telephone Microphone

GM35441Courtesy of GENERAL MOTORS CORP.
Connector Part Information
  • 12047663/12047662
  • 2-Way M Metri-Pack 150 Series (BK)
Pin Wire Color Circuit Number Function
A BARE 654 Cellular Microphone Low Reference
B GY 655 Cellular Microphone Signal