lemon-mirror:
Home >> Pontiac >> 2002 >> Aztek FWD >> Repair and Diagnosis >> External Pages >> Different car >> Section 613 (Lighting Systems) >> Component Locator >> Lighting Systems Component Views

Lighting Systems Component Views

WARNING: This page does not describe the selected car, but rather 7 other vehicles, including the 2002 GMC Yukon XL, 2002 GMC Yukon, 2002 Chevrolet Tahoe, 2002 Chevrolet Suburban, and 2002 Chevrolet Avalanche. However, it is still accessible from the selected car via links, so may be relevant.
Fig 1: Cargo Lamps (Avalanche/Escalade EXT)
G01696512Courtesy of GENERAL MOTORS CORP.
Fig 2: Underhood Lamp Assembly
G01696513Courtesy of GENERAL MOTORS CORP.
Fig 3: Roof Marker & Clearance Lamps
G01696514Courtesy of GENERAL MOTORS CORP.
Fig 4: Junction Block - Rear Lamps
G01696515Courtesy of GENERAL MOTORS CORP.
Fig 5: Left Foglamp (RH Similar)
G01696516Courtesy of GENERAL MOTORS CORP.
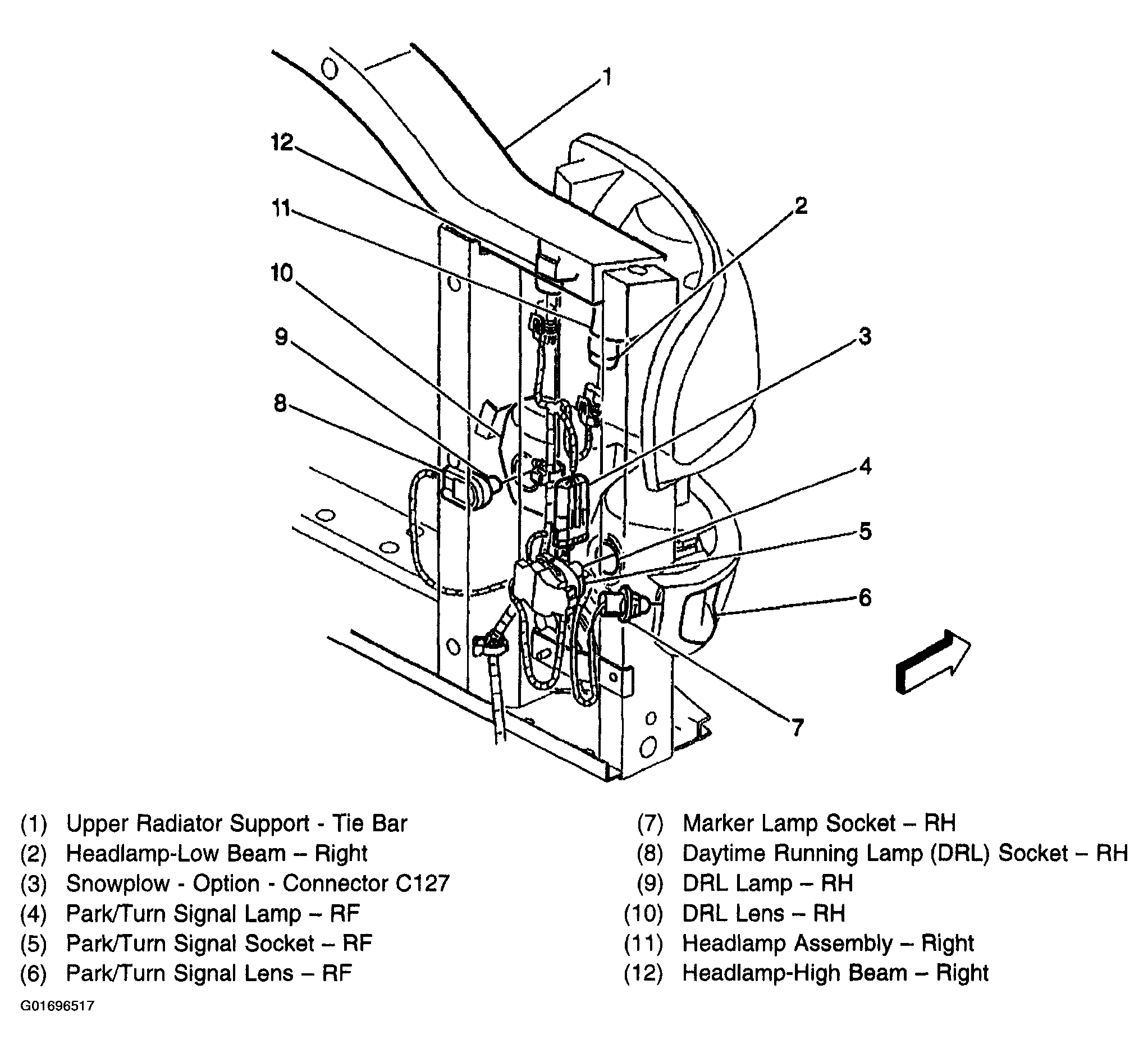
Fig 6: RH Front Of Vehicle
G01696517Courtesy of GENERAL MOTORS CORP.
Fig 7: LH Front Of Vehicle
G01696518Courtesy of GENERAL MOTORS CORP.
Fig 8: Sunload Sensor Assembly
G01696519Courtesy of GENERAL MOTORS CORP.
Fig 9: Center High Mounted Stop Lamp (CHMSL)
G01696520Courtesy of GENERAL MOTORS CORP.
Fig 10: Steering Column
G01696521Courtesy of GENERAL MOTORS CORP.
Fig 11: Instrument Panel Switches - LH
G01696522Courtesy of GENERAL MOTORS CORP.
Fig 12: Left Hand Lower Dash
G01696523Courtesy of GENERAL MOTORS CORP.
Fig 13: Accessory Switch Housing
G01696524Courtesy of GENERAL MOTORS CORP.
Fig 14: Accessory Power Outlets
G01696525Courtesy of GENERAL MOTORS CORP.
Fig 15: Instrument Panel Compartment Lamp
G01696526Courtesy of GENERAL MOTORS CORP.
Fig 16: Left Door Courtesy Lamp (RH Similar)
G01696527Courtesy of GENERAL MOTORS CORP.
Fig 17: Overhead Console
G01696528Courtesy of GENERAL MOTORS CORP.
Fig 18: License Plate Lamp (Utilities)
G01696529Courtesy of GENERAL MOTORS CORP.
Fig 19: License Lamps
G01696530Courtesy of GENERAL MOTORS CORP.
Fig 20: Trailer Wiring Connector, Heavy Duty
G01696531Courtesy of GENERAL MOTORS CORP.