lemon-mirror:
Home >> Pontiac >> 2002 >> Aztek FWD >> Repair and Diagnosis >> Transmission >> Automatic Trans >> Automatic Transmission Servicing >> Adjustments >> Shift Cable

Shift Cable

NOTE: Adjust the shift cable while the transaxle and while the gear selector are in the Neutral position only. Failure to do so may cause misadjustment of shift cable.
  1. Set the parking brake. Block the wheels. Use an appropriate tool to pry on the shift cable terminal at the manual control lever pin to remove the shift cable terminal from the manual control lever pin. See Fig 1 .
  2. Fully lift the adjuster lock button. Ensure the adjuster is free to move. Rotate the manual control lever fully counterclockwise to the Park gear, then rotate the lever clockwise 2 clicks into the Neutral gear to place the manual control lever in the Neutral gear.
  3. Perform the following steps to place the inside car gear shifter in the Neutral position:
    1. Rotate the shift control lever to the L1 position, fully down.
    2. Push forward on the lever while slowly pushing up. The shift control lever moves up while clicking over the gear over travel stops.
    3. Release the shift control lever once the shift control lever stops solidly. The shift control lever is in the Neutral gear.
  4. Grasp the shift cable terminal in the underhood. Pull the shift cable terminal toward the pin on the manual control lever. The shift cable adjuster spring should compress as the terminal is moved toward the pin.
  5. Carefully push down the pin until the pin snaps to attach the pin to the manual control lever. DO NOT move the manual control lever out of position. DO NOT pull the terminal beyond the pin then push back or the shifter may move out of the Neutral gear.
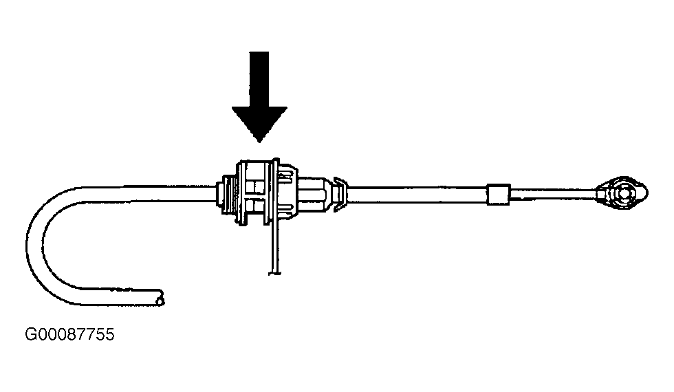
  6. Press the adjuster lock button down flush with the adjuster body. See Fig 2 . Shift to Park. Release the parking brake while applying the service brake. Start the engine. Ensure all the indicated gear positions match the vehicle response.
Fig 1: Adjusting Shift Cable (1 Of 2)
G00087754Courtesy of GENERAL MOTORS CORP.
Fig 2: Adjusting Shift Cable (2 Of 2)
G00087755Courtesy of GENERAL MOTORS CORP.