lemon-mirror:
Home >> Pontiac >> 2002 >> Firebird Formula, Automatic >> Repair and Diagnosis >> Engine Mechanical >> Engine Exhaust System >> Repair Instructions >> Muffler Replacement >> Installation Procedure

Installation Procedure

NOTE: When inspecting or replacing exhaust system components, make sure there is adequate clearance from all points on the underbody to prevent overheating of the floor pan and possible damage to the passenger compartment insulation and trim materials.
  1. Install the exhaust muffler to the vehicle, (5.7 L shown, 3.8 L similar).
  2. Raise the rear axle.
    NOTE: Use the correct fastener in the correct location. Replacement fasteners must be the correct part number for that application. Fasteners requiring replacement or fasteners requiring the use of thread locking compound or sealant are identified in the service procedure. Do not use paints, lubricants, or corrosion inhibitors on fasteners or fastener joint surfaces unless specified. These coatings affect fastener torque and joint clamping force and may damage the fastener. Use the correct tightening sequence and specifications when installing fasteners in order to avoid damage to parts and systems.
  3. Tighten the exhaust pipe clamp.

    Tighten 

    Tighten the exhaust pipe clamp bolt to 48 N.m (35 ft lbs).

    Fig 1: Tightening Exhaust Pipe Clamp Bolt
    G01731964Courtesy of GENERAL MOTORS CORP.
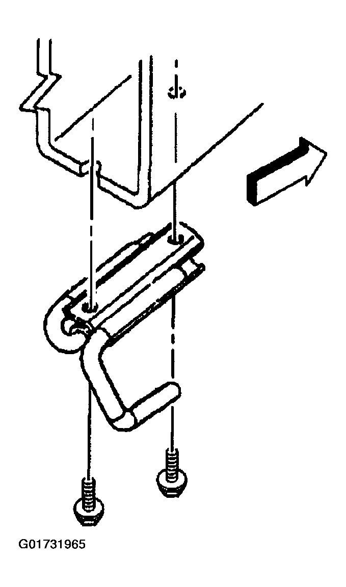
  4. Install the left exhaust muffler hanger to the underbody.

    Tighten 

    Tighten the exhaust muffler hanger bolts to 10 N.m (89 Inch lbs).

    Fig 2: Installing Left Exhaust Muffler Hanger
    G01731965Courtesy of GENERAL MOTORS CORP.
  5. Install the passenger side rear coil spring and bushing.
    Fig 3: Installing Passenger Side Rear Coil Spring And Bushing
    G01731966Courtesy of GENERAL MOTORS CORP.
  6. Raise the axle completely.
  7. Install the torque arm bolts at the rear axle.
    Fig 4: Installing Torque Arm Bolts At Rear Axle
    G01731967Courtesy of GENERAL MOTORS CORP.

    Tighten 

    • Tighten the torque arm bolts to 130 N.m (96 ft lbs).
    • Tighten to torque arm nuts to 132 N.m (97 ft lbs).
  8. Install the shock to the rear axle.
    Fig 5: Installing Shock To Rear Axle
    G01731968Courtesy of GENERAL MOTORS CORP.
  9. Install the rear shock absorber nut.

    Tighten 

    Tighten the rear shock nut to 90 N.m (66 ft lbs).

  10. Connect the passenger side rear stabilizer bar end link.
    Fig 6: Connecting Passenger Side Rear Stabilizer Bar End Link
    G01731969Courtesy of GENERAL MOTORS CORP.

    Tighten 

    Tighten the end link nut to 23 N.m (17 ft lbs).

  11. Remove the rear axle support.
  12. Install the drivers side rear tire
    Fig 7: Installing Drivers Side Rear Tire
    G01731970Courtesy of GENERAL MOTORS CORP.

    Tighten 

    Tighten the wheel nuts to 120 N.m (89 ft lbs).

  13. Install the track bar. Refer to TRACK BAR REPLACEMENT .