lemon-mirror:
Home >> Pontiac >> 2003 >> Aztek FWD >> Repair and Diagnosis >> Brakes >> Traction Control >> Antilock Brake System >> Repair Instructions >> Electronic Brake Control Module (EBCM) Replacement >> Installation Procedure

Installation Procedure

Important:  Use only new wave springs and screws supplied with the new EBCM.

  1. Clean the BPMV surface with alcohol using a clean rag.
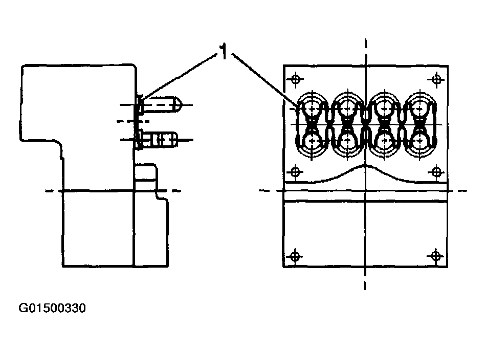
  2. Install the EBCM (1) to the BPMV.
  3. Install the 6 screws that attaches the EBCM to BPMV.

    Tighten 

    • Tighten the top 4 mounting screws to 5 N.m (44 lb in). Tighten screws in an X pattern.
    • Tighten the bottom 2 mounting screws to 5 N.m (44 lb in).
    • Connect the pump motor connector to the bottom of the EBCM.
    Fig 1: Installing EBCM-To-BPMV
    G01500330Courtesy of GENERAL MOTORS CORP.
  4. Connect the EBCM harness connector and depress the locking tab (1) to secure.
  5. Install the air cleaner housing.
  6. Turn the ignition switch to the RUN position, do not start engine.
  7. Perform the DIAGNOSTIC SYSTEM CHECK - ABS  .
Fig 2: Connecting EBCM Harness Connector
G01500331Courtesy of GENERAL MOTORS CORP.