lemon-mirror:
Home >> Pontiac >> 2003 >> Sunfire Automatic >> Repair and Diagnosis >> Engine Mechanical >> Engine Mechanical - 2.2L >> Specifications >> Thread Repair Specifications

Thread Repair Specifications

Fig 1: Engine Block - Front View
G01580346Courtesy of GENERAL MOTORS CORP.
Fig 2: Engine Block - Front - Repair Specifications
G01580347Courtesy of GENERAL MOTORS CORP.
Fig 3: Engine Block - Back View
G01580349Courtesy of GENERAL MOTORS CORP.
Fig 4: Engine Block - Back View - Repair Specifications
G01580350Courtesy of GENERAL MOTORS CORP.
Fig 5: Engine Block - Left Side View
G01580351Courtesy of GENERAL MOTORS CORP.
Fig 6: Engine Block - Left Side View - Repair Specifications
G01580352Courtesy of GENERAL MOTORS CORP.
Fig 7: Engine Block - Bottom View
G01580353Courtesy of GENERAL MOTORS CORP.
Fig 8: Engine Block - Bottom View - Repair Specifications
G01580354Courtesy of GENERAL MOTORS CORP.
Fig 9: Engine Block - Right Side View
G01580356Courtesy of GENERAL MOTORS CORP.
Fig 10: Engine Block - Right Side View - Repair Specifications
G01580357Courtesy of GENERAL MOTORS CORP.
Fig 11: Engine Block - Top View
G01580358Courtesy of GENERAL MOTORS CORP.
Fig 12: Engine Block - Top View - Repair Specifications
G01580359Courtesy of GENERAL MOTORS CORP.
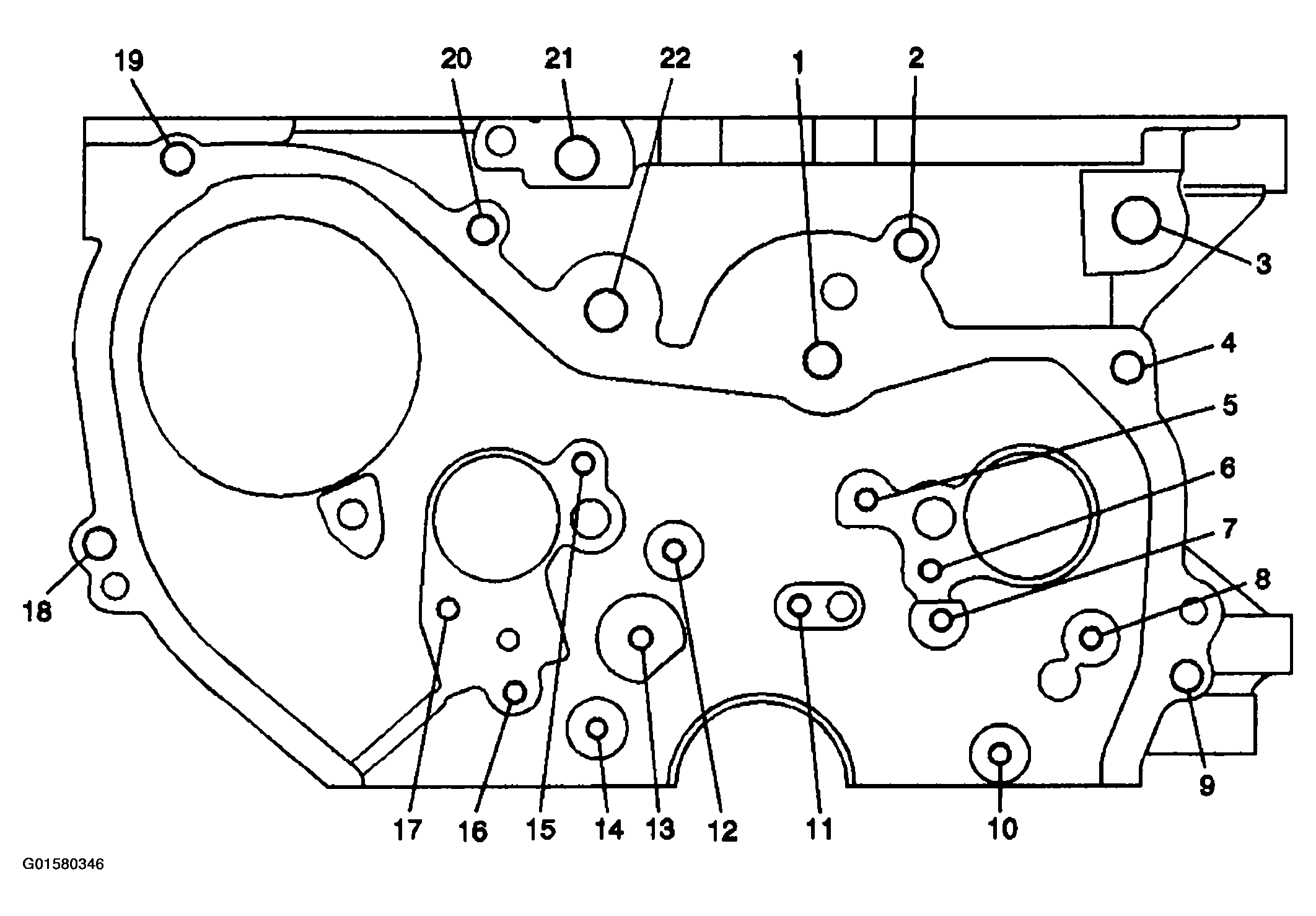
Fig 13: Lower Crankcase - Front View
G01580360Courtesy of GENERAL MOTORS CORP.
Fig 14: Lower Crankcase - Front View - Repair Specifications
G01580361Courtesy of GENERAL MOTORS CORP.
Fig 15: Lower Crankcase - Back View
G01580362Courtesy of GENERAL MOTORS CORP.
Fig 16: Lower Crankcase - Back View - Repair Specifications
G01580363Courtesy of GENERAL MOTORS CORP.
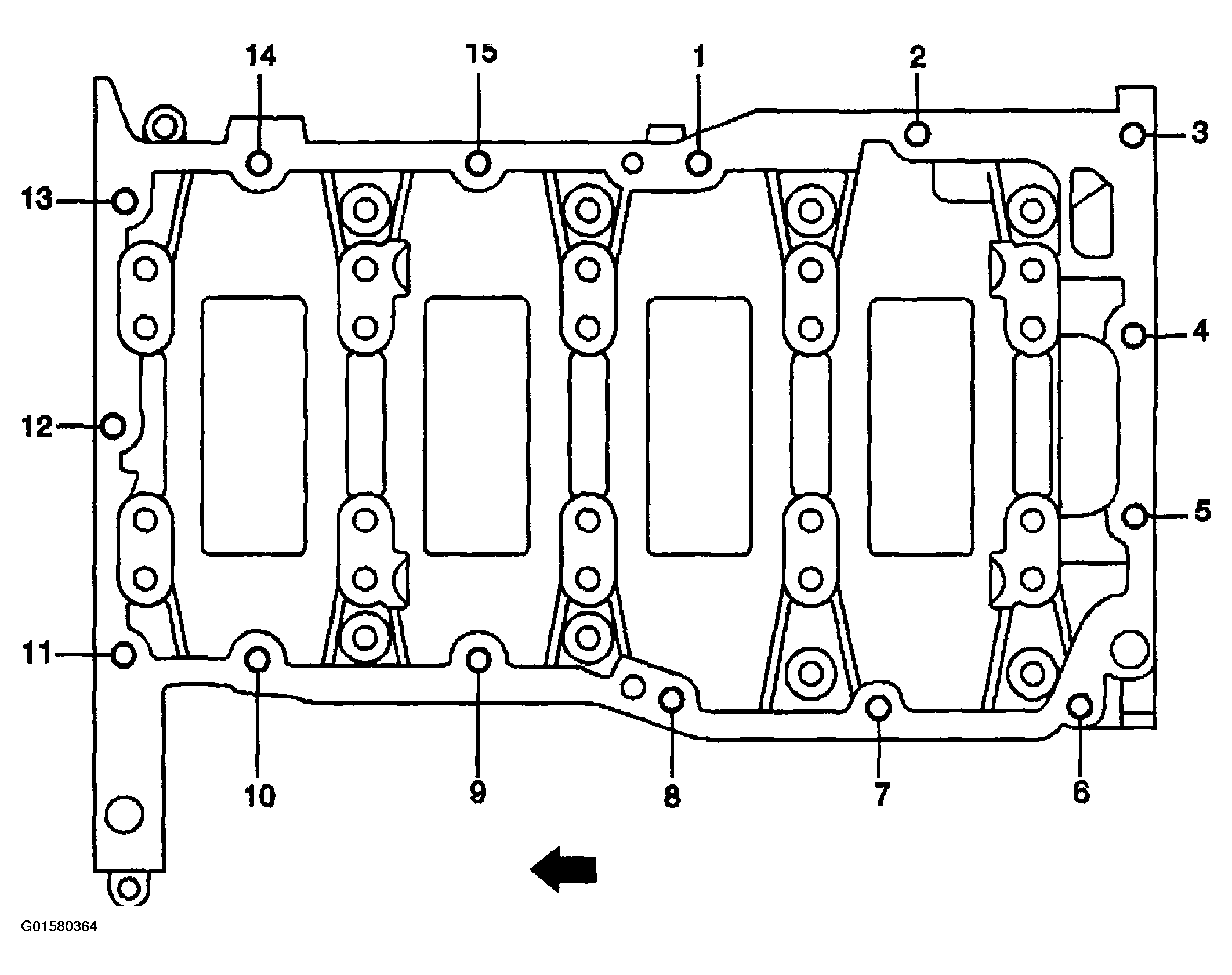
Fig 17: Lower Crankcase - Bottom View
G01580364Courtesy of GENERAL MOTORS CORP.
Fig 18: Lower Crankcase - Bottom View - Repair Specifications
G01580365Courtesy of GENERAL MOTORS CORP.
Fig 19: Lower Crankcase - Left View
G01580366Courtesy of GENERAL MOTORS CORP.
Fig 20: Lower Crankcase - Left View - Repair Specifications
G01580367Courtesy of GENERAL MOTORS CORP.
Fig 21: Lower Crankcase - Right View
G01580368Courtesy of GENERAL MOTORS CORP.
Fig 22: Lower Crankcase - Right View - Repair Specifications
G01580369Courtesy of GENERAL MOTORS CORP.
Fig 23: Cylinder Head - Top View
G01580370Courtesy of GENERAL MOTORS CORP.
Fig 24: Cylinder Head - Top View - Repair Specifications (1 Of 2)
G01580371Courtesy of GENERAL MOTORS CORP.
Fig 25: Cylinder Head - Top View - Repair Specifications (2 Of 2)
G01580372Courtesy of GENERAL MOTORS CORP.
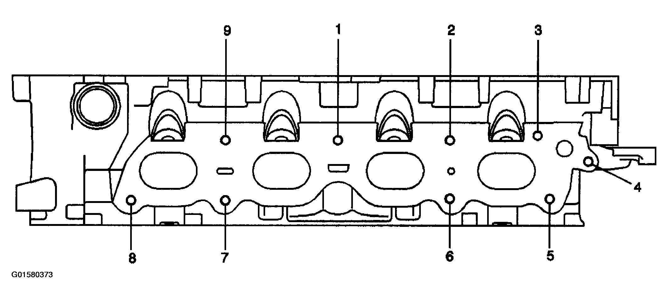
Fig 26: Cylinder Head - Intake Manifold Deck View
G01580373Courtesy of GENERAL MOTORS CORP.
Fig 27: Cylinder Head - Intake Manifold Deck View - Repair Specifications
G01580374Courtesy of GENERAL MOTORS CORP.
Fig 28: Cylinder Head - Exhaust Manifold Deck View
G01580375Courtesy of GENERAL MOTORS CORP.
Fig 29: Cylinder Head - Exhaust Manifold Deck View - Repair Specifications
G01580376Courtesy of GENERAL MOTORS CORP.
Fig 30: Cylinder Head - Front View
G01580377Courtesy of GENERAL MOTORS CORP.
Fig 31: Cylinder Head - Front View - Repair Specifications
G01580378Courtesy of GENERAL MOTORS CORP.
Fig 32: Cylinder Head - Back View
G01580379Courtesy of GENERAL MOTORS CORP.
Fig 33: Cylinder Head - Back View - Repair Specifications
G01580380Courtesy of GENERAL MOTORS CORP.
Fig 34: Cylinder Head - Bottom View
G01580381Courtesy of GENERAL MOTORS CORP.
Fig 35: Cylinder Head - Bottom View - Repair Specifications
G01580382Courtesy of GENERAL MOTORS CORP.