lemon-mirror:
Home >> Pontiac >> 2004 >> Aztek Base, FWD >> Repair and Diagnosis >> Electrical >> Body Electrical >> Accessory Power Socket >> Component Locator >> Power Outlet Connector End Views

Power Outlet Connector End Views

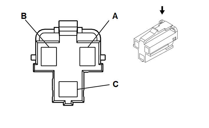
Auxiliary Drop Connector End View

GM366015Courtesy of GENERAL MOTORS CORP.
Connector Part Information
  • 12193928
  • 6-Way F Metri-Pack 280 Series Flexlock (GRY)
Pin Wire Color Circuit No. Function
A ORN 2740 Battery Positive Voltage
B - - Not Used
C YEL 743 Accessory Voltage
D LT GRN 2271 ADG Class 2 Serial Data
E - - Not Used
F BLK 150 Ground
Auxiliary Power Outlet Connector End View - Console

GM362748Courtesy of GENERAL MOTORS CORP.
Connector Part Information
  • 12176836
  • 3-Way F Metri-Pack 280 Series (GRY)
Pin Wire Color Circuit No. Function
A ORN 2740 Battery Positive Voltage
B - - Not Used
C BLK 150 Ground
Auxiliary Power Outlet Connector End View - Rear

GM362748Courtesy of GENERAL MOTORS CORP.
Connector Part Information
  • 12176836
  • 3-Way F Metri-Pack 280 Series (GRY)
Pin Wire Color Circuit No. Function
A ORN 2540 Battery Positive Voltage
B - - Not Used
C BLK 850 Ground
Cigar Lighter Connector End View

GM362748Courtesy of GENERAL MOTORS CORP.
Connector Part Information
  • 12176836
  • 3-Way F Metri-Pack 280 Series (GRY)
Pin Wire Color Circuit No. Function
A ORN 2740 Battery Positive Voltage
B - - Not Used
C BLK 150 Ground