Disassembled Views
| Callout | Component Name |
|---|---|
| 305 | Thermostat Bypass Hose Clamp |
| 305 | Thermostat Bypass Hose Clamp |
| 306 | Thermostat Bypass Hose |
| 307 | Thermostat Bypass Pipe Seal |
| 308 | Thermostat Bypass Pipe Bolt - to Front Cover |
| 309 | Thermostat Bypass Pipe |
| 310 | Thermostat Bypass Pipe Nut |
| 500 | Upper Intake Manifold |
| 501 | Upper Intake Manifold Stud |
| 503 | Accelerator Control Cable Bracket |
| 504 | Idle Air Control Valve |
| 505 | MAP Sensor Bracket |
| 506 | MAP Sensor |
| 507 | Throttle Position Sensor |
| 508 | Upper Intake Manifold Bolt |
| 509 | Spark Plug Wire Support Bracket |
| 513 | Throttle Body Gasket |
| 514 | Throttle Body |
| 515 | Throttle Body Bolt |
| 516 | Upper Intake Manifold Gasket |
| 524 | Idle Air Control Valve Bolt |
| 525 | Valve Rocker Cover Seal |
| 526 | Valve Rocker Cover |
| 530 | Oil Fill Cap |
| 531 | PCV Valve |
| 532 | PCV Valve Grommet |
| 533 | PCV Tube - Foul Air |
| 535 | Throttle Position Sensor Bolt |
| 545 | Oil Fill Cap Seal |
| 550 | Throttle Body Stud |
| 552 | Throttle Body Heater Hose - Outlet |
| 553 | Throttle Body Heater Hose - Inlet |
| 554 | Throttle Body Heater Hose Clamp |
| 554 | Throttle Body Heater Hose Clamp |
| 554 | Throttle Body Heater Hose Clamp |
| 554 | Throttle Body Heater Hose Clamp |
| 555 | Accelerator Control Cable Bracket Bolt |
| 556 | Accelerator Control Cable Bracket Nut |
| 566 | PCV Valve Retainer |
| 610 | Exhaust Crossover Pipe |
| 611 | EGR Pipe Bolt - to EGR |
| 612 | EGR Pipe |
| 613 | EGR Valve Bolt |
| 614 | EGR Valve |
| 615 | EGR Valve Gasket - to Intake Manifold |
| 617 | Exhaust Crossover Pipe Stud |
| 618 | Exhaust Crossover Pipe Nut |
| 619 | Exhaust Crossover Pipe Heat Shield |
| 620 | Exhaust Crossover Pipe Heat Shield Bolt |
| 700 | Ignition Coil Assembly |
| 701 | Ignition Coil Assembly Stud |
| 702 | Ignition Coil Assembly Nut |
| 703 | Ignition Coil Assembly Bolt |
| 704 | Spark Plug Wire Harness - Front |
| 705 | Spark Plug Wire Support |
| 711 | Ignition Coil |
| 715 | Spark Plug Wire Harness - Rear |
| 716 | Ignition Coil Bolt |
| 722 | Wire Support Bracket |
| 723 | Wire Support Bracket - SAI Only |
| 724 | EVAP Purge Valve |
| 725 | EVAP Purge Valve Bolt |
| 728 | EVAP Purge Valve Bracket |
| Callout | Component Name |
|---|---|
| 200 | Cylinder Head |
| 200 | Cylinder Head |
| 201 | Valve Seal |
| 202 | Valve Spring |
| 203 | Valve Spring Cap |
| 204 | Valve Stem Key |
| 205 | Valve Pushrod - Exhaust |
| 206 | Valve Rocker Arm |
| 207 | Valve Rocker Arm Bolt |
| 208 | Cylinder Head Bolt - Medium |
| 209 | Cylinder Head Bolt - Short |
| 212 | Spark Plug |
| 213 | Exhaust Valve |
| 214 | Intake Valve |
| 215 | Cylinder Head Gasket |
| 215 | Cylinder Head Gasket |
| 216 | Cylinder Head Locating Pin |
| 228 | Drive Belt Tensioner Bolt |
| 229 | Drive Belt Tensioner |
| 230 | Generator Bracket Bolt - Short |
| 231 | Generator Bracket Bolt - Medium |
| 232 | Generator Bracket Bolt - Long |
| 233 | Generator Bracket |
| 234 | Engine Lift Bracket - Front |
| 238 | Heater Inlet Pipe Stud |
| 239 | Heater Inlet Pipe |
| 240 | Heater Inlet Pipe Nut |
| 241 | Heater Inlet Pipe Seal |
| 242 | Cylinder Head Expansion Plug |
| 242 | Cylinder Head Expansion Plug |
| 243 | Valve Guide |
| 244 | Valve Seat - Exhaust |
| 245 | Valve Seat - Intake |
| 246 | Valve Pushrod - Intake |
| 248 | Cylinder Head Bolt - Long |
| 249 | Engine Mount Strut and A/C Compressor Bracket Bolt - Short |
| 250 | Engine Mount Strut and A/C Compressor Bracket |
| 251 | Engine Mount Strut and A/C Compressor Bracket Bolt - Long |
| 252 | Engine Mount Strut and Engine Lift Bracket |
| 253 | Engine Mount Strut and Engine Lift Bracket Bolt |
| 254 | Fuel Feed and Return Pipe Bracket |
| 255 | Fuel Feed and Return Pipe Clip |
| 256 | Fuel Feed and Return Pipe Clip Bolt |
| 312 | Thermostat |
| 313 | Thermostat Seal |
| 314 | Water Outlet Housing |
| 315 | Water Outlet Housing Bolt |
| 316 | Water Outlet Housing Fitting |
| 517 | Fuel Rail Bolt |
| 518 | Fuel Rail |
| 519 | Fuel Injector Seal |
| 519 | Fuel Injector Seal |
| 520 | Lower Intake Manifold Bolt - Long |
| 521 | Lower Intake Manifold |
| 522 | Lower Intake Manifold Bolt - Short |
| 523 | Lower Intake Manifold Gasket |
| 525 | Valve Rocker Cover Seal |
| 526 | Valve Rocker Cover |
| 527 | Valve Rocker Cover Bolt |
| 528 | Valve Rocker Cover Bolt Grommet |
| 529 | Vacuum Harness |
| 548 | Fuel Injector Retaining Clip |
| 549 | Fuel Injector |
| 557 | Fuel Rail Service Port Cap |
| 558 | Fuel Rail Service Port Schrader Valve |
| 559 | Fuel Pressure Regulator |
| 560 | Fuel Pressure Regulator Bolt |
| 561 | Fuel Feed Pipe |
| 562 | Ruel Return Pipe |
| 567 | Fuel Feed Pipe Seal |
| 600 | Exhaust Manifold - Left |
| 601 | Exhaust Manifold - Right |
| 602 | Exhaust Manifold Heat Shield - Right - Upper |
| 603 | Exhaust Manifold Heat Shield Bolt |
| 603 | Exhaust Manifold Heat Shield Bolt |
| 604 | Exhaust Manifold Gasket |
| 604 | Exhaust Manifold Gasket |
| 605 | Exhaust Manifold Stud |
| 606 | Heated Oxygen Sensor |
| 607 | Exhaust Manifold Nut |
| 608 | Exhaust Manifold Heat Shield - Left |
| 616 | Exhaust Manifold Heat Shield - Right - Lower |
| 700 | Ignition Coil Assembly |
| Callout | Component Name |
|---|---|
| 100 | Engine Block |
| 101 | Camshaft Rear Bearing Hole Plug |
| 102 | Engine Block Oil Gallery Plug - Rear - Large |
| 103 | Engine Block Oil Gallery Plug - Rear - Small |
| 104 | Transmission Locating Pin |
| 105 | Engine Block Coolant Drain Hole Plug |
| 106 | Oil Filter Bypass Hole Plug |
| 107 | Engine Block Oil Gallery Plug - Front - Press Fit |
| 108 | Engine Block Plug |
| 110 | Engine Block Oil Gallery Plug - Front - Small |
| 111 | Crankshaft Rear Oil Seal |
| 126 | Connecting Rod Bearing Cap Nut |
| 127 | Connecting Rod Bearing Cap |
| 128 | Connecting Rod Bearing |
| 129 | Connecting Rod |
| 130 | Piston Pin |
| 131 | Piston |
| 132 | Piston Ring - Oil Control |
| 133 | Piston Ring - Compression - Lower |
| 134 | Piston Ring - Compression - Upper |
| 137 | Engine Block Oil Gallery Plug - Front - Large |
| 217 | Timing Chain |
| 218 | Camshaft Sprocket Bolt |
| 219 | Camshaft Sprocket |
| 220 | Camshaft Thrust Plate Bolt |
| 221 | Camshaft Thrust Plate |
| 222 | Camshaft |
| 223 | Camshaft Bearing - 1 and 4 |
| 224 | Camshaft Bearing - 2 and 3 |
| 225 | Timing Chain Dampener |
| 226 | Timing Chain Dampener Bolt |
| 227 | Crankshaft Sprocket |
| 235 | Valve Lifter Guide Bolt |
| 236 | Valve Lifter Guide |
| 237 | Valve Lifter |
| 300 | Water Pump |
| 301 | Water Pump Gasket |
| 302 | Water Pump Pulley Bolt |
| 303 | Water Pump Pulley |
| 304 | Water Pump Bolt |
| 410 | Oil Pump Drive Bolt |
| 411 | Oil Pump Drive Clamp |
| 412 | Oil Pump Drive |
| 418 | Oil Filter Bypass Valve |
| 421 | Oil Filter |
| 440 | Oil Pump Drive Seal |
| 444 | Oil Filter Fitting |
| 536 | Engine Front Cover Bolt - Large |
| 538 | Engine Front Cover |
| 539 | Engine Front Cover Gasket |
| 540 | Engine Front Cover Bolt - Small |
| 541 | Engine Front Cover Bolt - Medium |
| 542 | Crankshaft Front Oil Seal |
| 543 | Crankshaft Balancer |
| 544 | Crankshaft Balancer Bolt |
| 551 | Front Cover Locating Pins |
| 706 | Camshaft Position Sensor Bolt |
| 707 | Camshaft Position Sensor |
| 708 | Camshaft Position Sensor Seal |
| 709 | Engine Oil Pressure Sensor |
| 710 | Knock Sensor |
| 712 | Crankshaft Position Sensor Stud |
| 713 | Crankshaft Position Sensor - Engine Block |
| 714 | Crankshaft Position Sensor Seal |
| 717 | Crankshaft Position Sensor - Front Cover |
| 718 | Crankshaft Position Sensor Wire Harness Bracket - Small |
| 719 | Crankshaft Position Sensor Wire Harness Bracket - Large |
| 720 | Crankshaft Position Sensor Wire Harness Bracket Bolt |
| 721 | Crankshaft Position Sensor Bolt - Front Cover |
| 726 | Crankshaft Position Sensor Heat Shield |
| 727 | Crankshaft Position Sensor Heat Shield Nut |
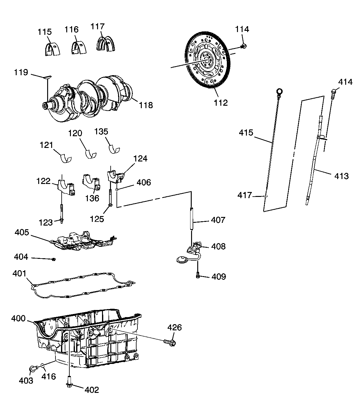
| Callout | Component Name |
|---|---|
| 112 | Flywheel |
| 114 | Flywheel Bolt |
| 115 | Crankshaft Upper Bearing - 1 and 4 |
| 116 | Crankshaft Upper Bearing - 2 |
| 117 | Crankshaft Upper Bearing - 3 |
| 118 | Crankshaft |
| 119 | Crankshaft Balancer Key |
| 120 | Crankshaft Lower Bearing - 2 |
| 121 | Crankshaft Lower Bearing - 1 and 4 |
| 122 | Crankshaft Bearing Cap - 1 |
| 123 | Crankshaft Bearing Cap Stud |
| 124 | Crankshaft Bearing Cap - 4 |
| 125 | Crankshaft Bearing |
| 135 | Crankshaft Lower Bearing - 3 |
| 136 | Crankshaft Bearing Cap - 2 and 3 |
| 400 | Oil Pan |
| 401 | Oil Pan Gasket |
| 402 | Oil Pan Bolt - to Engine Block |
| 403 | Oil Pan Drain Plug |
| 404 | Crankshaft Oil Deflector Nut |
| 405 | Crankshaft Oil Deflector |
| 406 | Oil Pump Locating Pin |
| 407 | Oil Pump Shaft |
| 408 | Oil Pump |
| 409 | Oil Pump Bolt |
| 413 | Oil Level Indicator Tube |
| 414 | Oil Level Indicator Tube Bolt |
| 415 | Oil Level Indicator |
| 416 | Oil Pan Drain Plug Seal |
| 417 | Oil Level Indicator Seal |
| 426 | Oil Pan Bolt - Side of Pan |