lemon-mirror:
Home >> Pontiac >> 2004 >> Aztek Base, FWD >> Repair and Diagnosis >> External Pages >> Different car >> Section 112 (Entertainment System) >> Component Locator >> Entertainment Component Views

Entertainment Component Views

WARNING: This page does not describe the selected car, but rather 6 other vehicles, including the 2004 Oldsmobile Bravada, 2004 GMC Envoy XUV, 2004 GMC Envoy XL, 2004 GMC Envoy, and 2004 Chevrolet TrailBlazer. However, it is still accessible from the selected car via links, so may be relevant.
Fig 1: Radio Antenna Cable
GM749963Courtesy of GENERAL MOTORS CORP.
Callout Component Name
1 Cowl
2 Radio Antenna Cable
3 Hood Hinge Bracket, RH Side
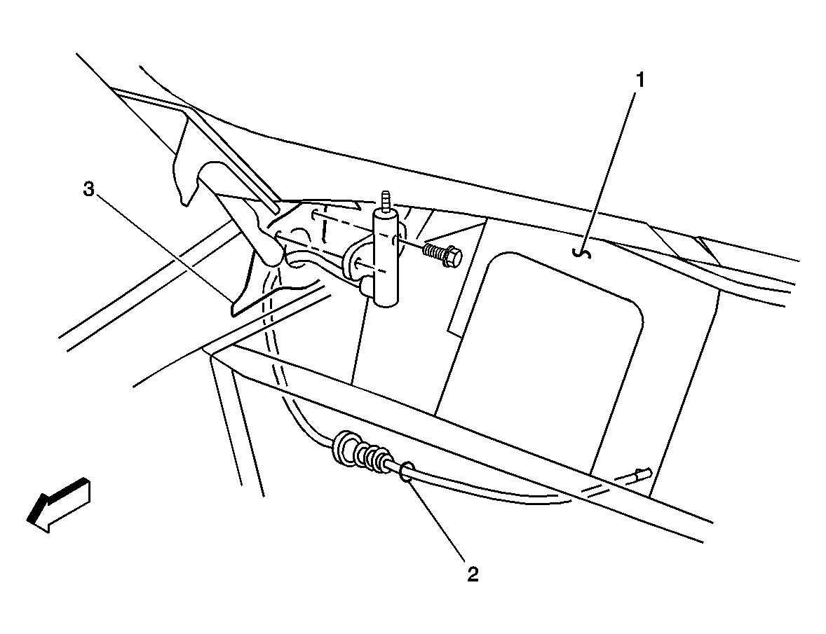
Fig 2: Radio Antenna Cable Routing
GM749970Courtesy of GENERAL MOTORS CORP.
Callout Component Name
1 Radio Antenna Cable
2 Air Distributor Duct
3 Instrument Carrier Support
Fig 3: Voice Recorder
GM796587Courtesy of GENERAL MOTORS CORP.
Callout Component Name
1 Overhead Console
2 Voice Recorder
3 C305
Fig 4: Speaker - RF Instrument Panel
GM749968Courtesy of GENERAL MOTORS CORP.
Callout Component Name
1 Instrument Panel (IP)
2 Speaker-RF IP
Fig 5: Radio
GM749971Courtesy of GENERAL MOTORS CORP.
Callout Component Name
1 Instrument Panel
2 Radio Antenna
3 Radio
4 Instrument Panel Harness
Fig 6: Overhead Console
GM906337Courtesy of GENERAL MOTORS CORP.
Callout Component Name
1 Cellular Microphone
2 Noise Reduction Microphone
3 Overhead Console
Fig 7: Steering Wheel Controls
GM1460839Courtesy of GENERAL MOTORS CORP.
Callout Component Name
1 Steering Wheel Control Switch Assembly - Upper Left
2 Steering Wheel Control Switch Assembly - Upper Right
3 Steering Wheel Control Switch Assembly - Lower Right
4 Steering Wheel Control Switch Assembly - Lower Left
Fig 8: Digital Video Disc (DVD) Display Screen
GM826163Courtesy of GENERAL MOTORS CORP.
Callout Component Name
1 DVD Display Screen
2 Overhead Console
Fig 9: Speaker - LF Door
GM749973Courtesy of GENERAL MOTORS CORP.
Callout Component Name
1 Door-LF
2 Speaker-LF Door
Fig 10: Rear Seat Audio (RSA)
GM749975Courtesy of GENERAL MOTORS CORP.
Callout Component Name
1 Rear Seat Audio (RSA)
Fig 11: Speaker - LR Door
GM749978Courtesy of GENERAL MOTORS CORP.
Callout Component Name
1 Door-LR
2 Speaker-LR Door
Fig 12: Audio Amplifier, Short Wheelbase Body Type VIN 3
GM749983Courtesy of GENERAL MOTORS CORP.
Callout Component Name
1 Body Side Inner Lower Panel-Right
2 Audio Amplifier
Fig 13: Audio Amplifier, Long Wheelbase Body Type VIN 6
GM825635Courtesy of GENERAL MOTORS CORP.
Callout Component Name
1 Audio Amplifier
2 Body Side Inner Panel-Left