lemon-mirror:
Home >> Pontiac >> 2004 >> Aztek Base, FWD >> Repair and Diagnosis >> External Pages >> Different car >> Section 188 (Lighting Systems) >> Component Locator >> Lighting Systems Component Views

Lighting Systems Component Views

WARNING: This page is about a different car, the 2004 Chevrolet Monte Carlo and 2004 Chevrolet Impala. However, it is still accessible from the selected car via links, so may be relevant.
Fig 1: Left Front Of Impala, Right Front Similar Component View
GM498539Courtesy of GENERAL MOTORS CORP.
Callout Component Name
1 Headlamp-Left Connector
2 Park Lamp-LF
3 Turn Lamp-LF
4 Headlamp-Left Low Beam
5 Headlamp-Left
6 Headlamp-Left High Beam
Fig 2: Left Front Of Monte Carlo, Right Front Similar Component View
GM498521Courtesy of GENERAL MOTORS CORP.
Callout Component Name
1 Park Lamp-LF
2 Park/Turn Lamp-LF
3 Headlamp-Left Low Beam
4 Headlamp-Left High Beam
5 Headlamp-Left
6 Headlamp-Left Connector
Fig 3: Lower Left Front Of Vehicle, Lower Right Front Similar Component View
GM498546Courtesy of GENERAL MOTORS CORP.
Callout Component Name
1 Fog Lamp-LF
2 Fog Lamp-LF Connector
Fig 4: Forward Of Radiator Support Component View (9C1)
GM807211Courtesy of GENERAL MOTORS CORP.
Callout Component Name
1 Radiator Support
2 Emergency Vehicle Headlamps Flasher (6J7)
3 C122
4 Emergency Vehicle Headlamps Flasher, C1 (6J7)
5 C122
6 Emergency Vehicle Headlamps Flasher, C2 (6J7)
Fig 5: Driver A-Pillar, Front Passenger A-Pillar Similar Component View (7X6/7X7)
GM592729Courtesy of GENERAL MOTORS CORP.
Callout Component Name
1 Spot Lamp-Left
2 Spot Lamp-Left Switch
3 Spot Lamp-Left Connector
Fig 6: Top Of Instrument Panel, Ambient Light Sensor Component View
GM498567Courtesy of GENERAL MOTORS CORP.
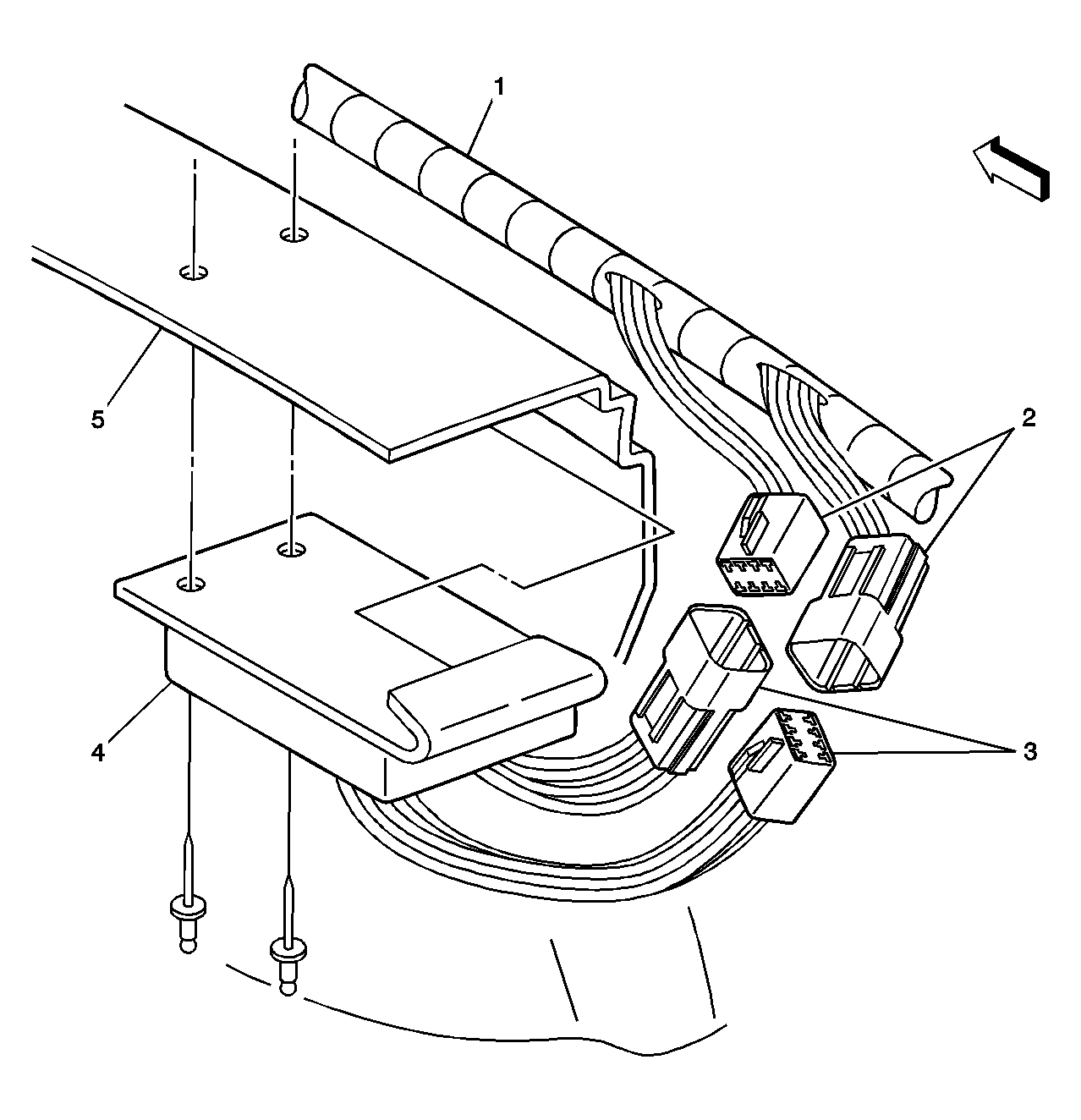
Fig 7: Left Front Of Instrument Panel Component View
GM498562Courtesy of GENERAL MOTORS CORP.
Callout Component Name
1 Instrument Panel Wiring Harness
2 Fog Lamp Switch (T96), or Surveillance Mode Switch (9C1/9C3) Connector
3 Fog Lamp Switch (T96), or Surveillance Mode Switch (9C1/9C3)
4 Headlamp Switch
5 Headlamp Switch Connector
Fig 8: Turn Signal/Multifunction Switch Component View (Impala)
GM626774Courtesy of GENERAL MOTORS CORP.
Callout Component Name
1 Turn Signal/Malfunction Switch
2 Wiper Switch
3 Washer Switch
4 Cruise Control ON/OFF Switch
Fig 9: Turn Signal/Multifunction Switch Component View (Monte Carlo)
GM626773Courtesy of GENERAL MOTORS CORP.
Callout Component Name
1 Turn Signal/Malfunction Switch
2 Wiper Switch
3 Washer Switch
Fig 10: Left Center Of Instrument Panel Component View
GM498564Courtesy of GENERAL MOTORS CORP.
Callout Component Name
1 Hazard Switch Connector
2 Hazard Switch
Fig 11: Below Left Side Of Instrument Panel Component View
GM498568Courtesy of GENERAL MOTORS CORP.
Callout Component Name
1 I/P Close-out Panel-Left
2 I/P Courtesy Lamp-Left Bulb
3 I/P Courtesy Lamp-Left Socket
Fig 12: Lower Center Of Instrument Panel Component View (w/o 9C1/9C3)
GM487935Courtesy of GENERAL MOTORS CORP.
Callout Component Name
1 G203
2 Inflatable Restraint Steering Wheel Module Coil Connector C1
3 Data Link Connector (DLC)
4 C201
5 Stop Lamp Switch Connectors
6 Cruise Control Release Switch Connector
7 Cruise Control Release Switch
8 G201
Fig 13: Below Center Of Instrument Panel Component View
GM498572Courtesy of GENERAL MOTORS CORP.
Callout Component Name
1 Ashtray Lamp Housing
2 Ashtray Lamp
3 Ashtray Lamp Socket
Fig 14: Below Right Side Of Instrument Panel Component View
GM498572Courtesy of GENERAL MOTORS CORP.
Callout Component Name
1 I/P Courtesy Lamp-Right Socket
2 I/P Courtesy Lamp-Right Bulb
3 I/P Close-out Panel-Right
Fig 15: Top Center Of Windshield Component View
GM498541Courtesy of GENERAL MOTORS CORP.
Callout Component Name
1 Inside Rearview Mirror Connector
Fig 16: Right Front Inside Roof, Left Front Similar Component View
GM741705Courtesy of GENERAL MOTORS CORP.
Callout Component Name
1 Vanity Mirror Lamp-Right Connector
2 Vanity Mirror Lamp-Right
Fig 17: Inside Roof Component View (9C1/9C3)
GM592721Courtesy of GENERAL MOTORS CORP.
Callout Component Name
1 Auxiliary Dome Lamp Ground Terminal
2 Auxiliary Dome Lamp (6C7)
3 Auxiliary Dome Lamp Connector
Fig 18: Inside Right Roof Rail, Left Similar Component View
GM741703Courtesy of GENERAL MOTORS CORP.
Callout Component Name
1 Side Roof Rail
2 Headliner Panel
3 Assist Handle/Coat Hook and Courtesy/Reading Lamp-Right
Fig 19: Package Shelf Component View (w/ 6J6)
GM592732Courtesy of GENERAL MOTORS CORP.
Callout Component Name
1 Emergency Vehicle Rear Window Panel Lamp-Right
2 Emergency Vehicle Rear Window Panel Lamp-Left
3 C306
Fig 20: Rear Compartment, Forward Of the Lid Opening Component View
GM488093Courtesy of GENERAL MOTORS CORP.
Callout Component Name
1 Rear Compartment Courtesy Lamp
2 Rear Compartment Courtesy Lamp Connector
Fig 21: Right Front Of Rear Compartment Component View (w/ T53)
GM592725Courtesy of GENERAL MOTORS CORP.
Callout Component Name
1 C409
2 Emergency Vehicle Rear Compartment Lid Lamps Relay
Fig 22: Upper Right Front Of Rear Compartment Component View (9C1/9C3)
GM807220Courtesy of GENERAL MOTORS CORP.
Callout Component Name
1 Main Body Wiring Harness
2 C440
3 Emergency Vehicle Rear Lamps Flasher, C1 and C2 (6J7)
4 Emergency Vehicle Rear Lamps Flasher (6J7)
5 Rear Window Panel Extension Brace
Fig 23: Under Rear Compartment Lid Component View (T53)
GM592727Courtesy of GENERAL MOTORS CORP.
Callout Component Name
1 Emergency Vehicle Rear Compartment Lid Lamp-Left
2 Emergency Vehicle Rear Compartment Lid Lamp-Right
3 Emergency Vehicle Rear Compartment Lid Lamp-Right Connector
4 Emergency Vehicle Rear Compartment Lid Lamp-Left Connector
Fig 24: Right Rear Of Vehicle, Left Rear Similar Component View (Impala)
GM498550Courtesy of GENERAL MOTORS CORP.
Callout Component Name
1 Tail Lamp-Right Connector
2 Tail Lamp-Right
3 Reflector
4 Stop/Turn Lamp-Right
5 Park Lamp-RR
Fig 25: Right Rear Of Vehicle, Left Rear Similar Component View (Monte Carlo)
GM498555Courtesy of GENERAL MOTORS CORP.
Callout Component Name
1 Tail Lamp-Right
2 Tail Lamp-Right Connector
3 Tail Lamp-Right Connector
4 Park Lamp-RR
5 Stop/Park Lamp-Right
6 Reflector
Fig 26: Top Of Rear Compartment Lid Component View
GM498559Courtesy of GENERAL MOTORS CORP.
Callout Component Name
1 Center High Mounted Stop Lamp (CHMSL)
2 Center High Mounted Stop Lamp (CHMSL) Connector
Fig 27: Rear Compartment Lid Component View (Impala)
GM498553Courtesy of GENERAL MOTORS CORP.
Callout Component Name
1 P909
2 C901
3 Reflex
4 Reflex
5 Rear Lamp Applique
6 Backup Lamp-Left
Fig 28: Lower Center Rear Of Vehicle Component View (Impala)
GM498543Courtesy of GENERAL MOTORS CORP.
Callout Component Name
1 License Lamp-Left Bulb and Socket
2 License Lamp-Right Lens
3 Rear Bumper Fascia
Fig 29: Lower Center Rear Of Vehicle Component View Monte Carlo)
GM498545Courtesy of GENERAL MOTORS CORP.
Callout Component Name
1 Rear Bumper Fascia
2 License Lamp Lens
3 License Lamp Bulb and Socket
Fig 30: Lower Right Center Rear Of Vehicle Component View (Monte Carlo)
GM498560Courtesy of GENERAL MOTORS CORP.
Callout Component Name
1 Backup Lamp-Right Lens
2 Backup Lamp-Right Bulb and Socket