lemon-mirror:
Home >> Pontiac >> 2004 >> Aztek Base, FWD >> Repair and Diagnosis >> External Pages >> Different car >> Section 256 (Body Control System) >> Component Locator >> Body Control System Component Views

Body Control System Component Views

WARNING: This page is about a different car, the 2004 Pontiac Grand Prix. However, it is still accessible from the selected car via links, so may be relevant.
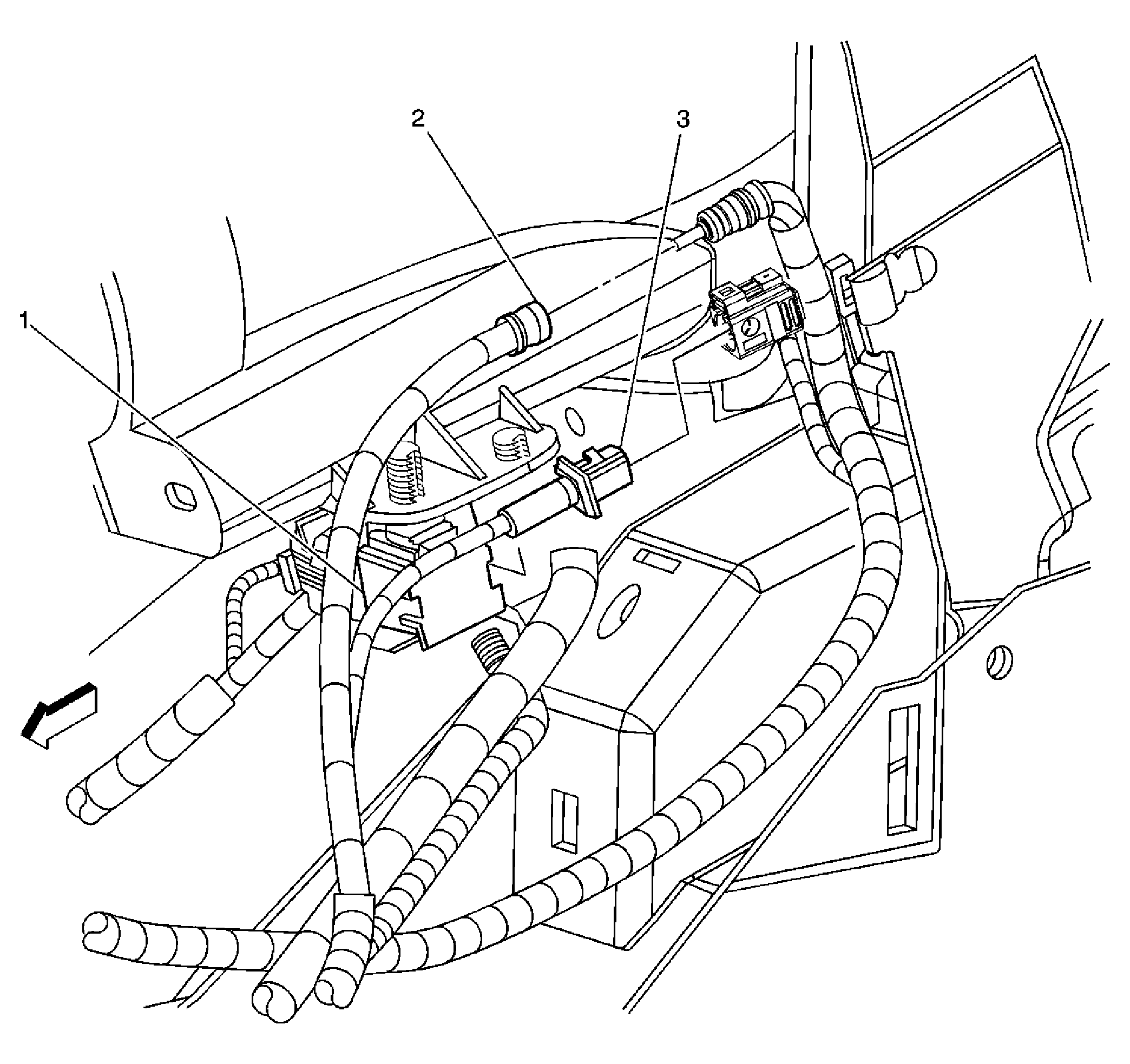
Fig 1: Left Side Of Upper Left Footwell Component Views
GM1204584Courtesy of GENERAL MOTORS CORP.
Callout Component Name
1 Body Control Module (BCM)
2 C290
3 C291