lemon-mirror:
Home >> Pontiac >> 2004 >> Aztek Base, FWD >> Repair and Diagnosis >> External Pages >> Different car >> Section 263 (Entertainment System) >> Component Locator >> Entertainment Component Views

Entertainment Component Views

WARNING: This page is about a different car, the 2004 Pontiac Grand Prix. However, it is still accessible from the selected car via links, so may be relevant.
Fig 1: Top Of I/P Component Views
GM1214906Courtesy of GENERAL MOTORS CORP.
Callout Component Name
1 Speaker - Center (U87)
2 Remote Control Door Lock Receiver (RCDLR)
3 Ambient Light Sensor
4 Theft LED
Fig 2: Center Of Instrument Panel Component Views
GM1215408Courtesy of GENERAL MOTORS CORP.
Callout Component Name
1 Radio Antenna Coaxial
2 Radio - C2
3 Radio - C1
4 Radio
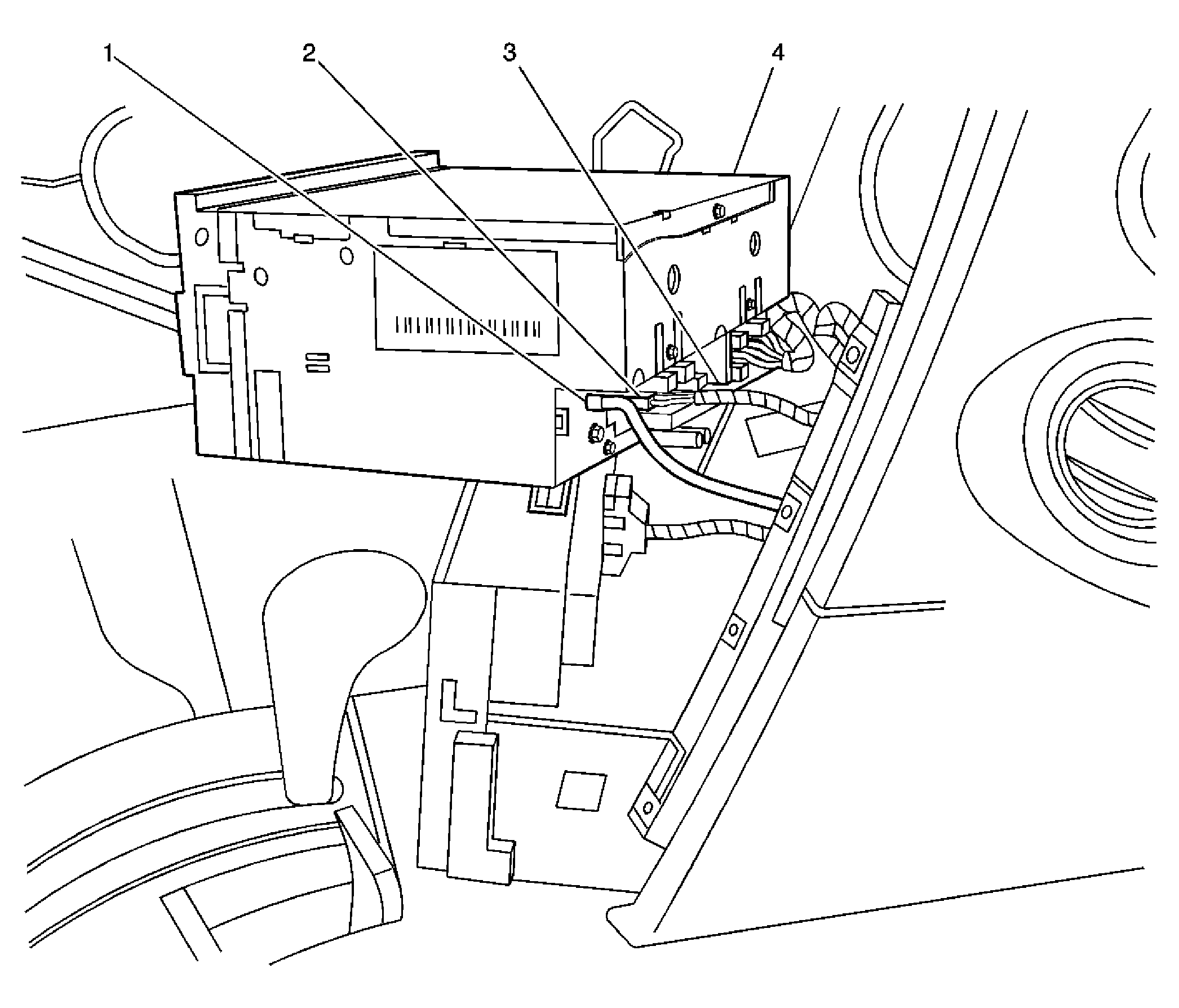
Fig 3: Left Side Of The I/P Component Views
GM1206068Courtesy of GENERAL MOTORS CORP.
Callout Component Name
1 Multifunction Turn Signal Lever
2 TAP Shift Switch - Left
3 Hazard Warning Switch
4 Instrument Panel Cluster (IPC)
5 TAP Shift Switch - Right
6 Windshield Wiper/Washer Switch
7 Ignition Switch
8 Driver Information Center (DIC)
9 Radio
10 HVAC Control Module
11 Heated Seat Switch - Front Passenger
12 Rear Defogger Switch
13 Heated Seat Switch - Driver
14 Steering Wheel Controls - Right
15 Cruise Control Switch
16 Inflatable Restraint Steering Wheel Module
17 Tilt Steering Wheel Lever
18 Steering Wheel Controls - Left
19 Interior Lamp Switch
Fig 4: Driver Door Component Views
GM1211800Courtesy of GENERAL MOTORS CORP.
Callout Component Name
1 Door Lock - Driver
2 Inflatable Restraint Side Impact Sensor - Left (AY1)
3 Window Motor - Driver
4 Outside Rearview Mirror - Driver
5 Speaker - LF Door
6 C303
7 S305
Fig 5: Driver Door Trim Component Views
GM1211801Courtesy of GENERAL MOTORS CORP.
Callout Component Name
1 Outside Rearview Mirror Switch
2 Window Switch - Driver
3 Door Lock Switch - Driver
4 C303
5 Speaker - LF Door Tweeter Connector
6 S304
Fig 6: Front Passenger Door Component Views
GM1211803Courtesy of GENERAL MOTORS CORP.
Callout Component Name
1 Outside Rearview Mirror - Passenger
2 C304
3 Inflatable Restraint Side Impact Sensor - Right (AY1)
4 Door Lock - Front Passenger
5 Window Motor - Front Passenger
6 S604
7 Speaker - RF Door
Fig 7: Front Passenger Door Trim Component Views
GM1211804Courtesy of GENERAL MOTORS CORP.
Callout Component Name
1 Door Lock Switch - Front Passenger
2 Window Switch - Front Passenger
3 S605
4 Speaker - RF Door Tweeter
5 C304
Fig 8: Center Rear Of Roof Component Views
GM1318811Courtesy of GENERAL MOTORS CORP.
Callout Component Name
1 Radio Antenna Module
2 Digital Radio Antenna
3 Radio Rear Window Antenna
Fig 9: Left Side Of The Rear Window Shelf Component Views
GM1215411Courtesy of GENERAL MOTORS CORP.
Callout Component Name
1 Speaker - LR (Speaker - RR Similar)
2 Rear Compartment Courtesy Lamp
3 Audio Amplifier (U87)
4 Audio Amplifier - C2 (U87)
5 Audio Amplifier - C1 (U87)
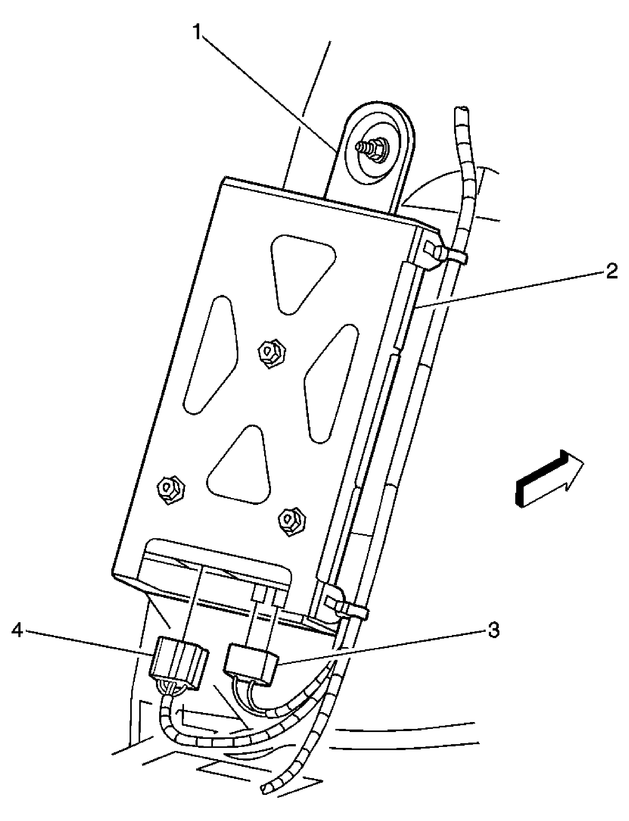
Fig 10: Left Side Of Rear Compartment Component Views
GM1321115Courtesy of GENERAL MOTORS CORP.
Callout Component Name
1 Left Rear Wheel Well
2 Digital Radio Receiver
3 Digital Radio Receiver Connector - C2
4 Digital Radio Receiver Connector - C1
Fig 11: Rear Of Vehicle Component Views
GM1320648Courtesy of GENERAL MOTORS CORP.
Callout Component Name
1 Digital Radio Antenna
2 Center High Mounted Stop Lamp (CHMSL)
3 Backup Lamp - Right
4 License Lamp - Right
5 License Lamp - Left
6 Backup Lamp - Left