lemon-mirror:
Home >> Pontiac >> 2004 >> GTO Automatic >> Repair and Diagnosis >> Engine Mechanical >> Engine Mechanical - 5.7L >> Specifications >> Thread Repair Specifications >> Engine Block - Right Side View

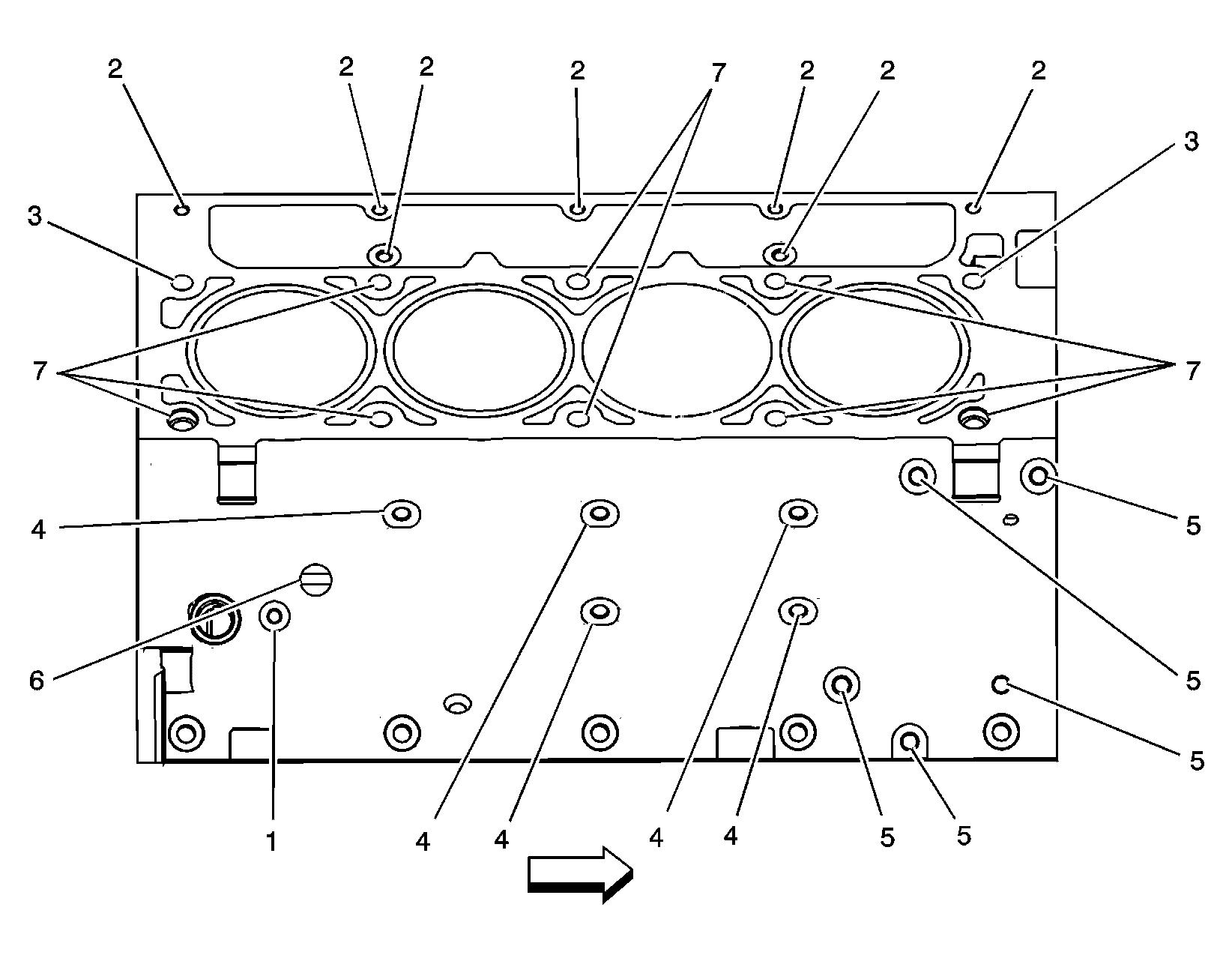
Engine Block - Right Side View

Fig 1: Engine Block Bolt Holes - Right Side View
GM1457209Courtesy of GENERAL MOTORS CORP.
Engine Block - Right Side View

Hole Thread Size Insert Drill Counterbore Tool Tap Driver Drill Depth - Maximum mm (in) Tap Depth - Maximum mm (in)
J 42385
1 M28 x 1.25 210 206 207 208 209 22.5 (0.885) 17.5 (0.688)
2 M8 x 1.25 210 206 207 208 209 26.5 (1.04) 19.0 (0.784)
3 M11 x 2.0 108 105 N/A 106 107 69.0 (2.72) 60.0 (2.36)
4 M10 x 1.25 215 211 212 213 214 29.0 (1.141) 23.0 (0.905)
5 M10 x 1.5 215 211 212 213 214 27.0 (1.062) 21.5 (0.846)
6 M16 x 1.5 N/A N/A N/A N/A N/A N/A N/A
7 M11 x 2.0 First
Design
108 105 N/A 106 107 124.0 (4.88) 115.0 (4.52)
7 M11 x 2.0 Second
Design
108 105 N/A 106 107 69.0 (2.72) 60.0 (2.36)
  • Bolt holes 7, second design, and 3 have a 30 mm (1.18 in) counterbore included in the 69.0 mm (2.72 in) drill depth. Use sleeve J 42385-315 with the drill and tap.
  • Bolt holes 7, first design, have a 85 mm (3.34 in) counterbore included in the 124.0 mm (4.88 in) drill depth.