lemon-mirror:
Home >> Pontiac >> 2004 >> Grand Prix GTP >> Repair and Diagnosis >> Engine Performance >> System >> Engine Controls (Introduction) - 3.8L >> Repair Instructions >> Fuel Tank Replacement >> Installation Procedure

Installation Procedure

  1. Install the insulator pads to the fuel tank.
  2. Install the EVAP canister (2) to the fuel tank (1).
  3. Fig 1: Fuel Tank & Fuel Hoses/Pipes
    GM911093Courtesy of GENERAL MOTORS CORP.
    NOTE:
    • Do not attempt to straighten kinked nylon pipes. Replace any kinked nylon pipes in order to prevent damage to the vehicle.
    • Do not attempt to repair sections of nylon pipes. Replace damaged nylon pipes.
    • Replace the vapor pipes with original equipment or parts that meet GM specifications.
    • Replace the vapor hoses with original equipment or parts meeting GM specifications. Use only reinforced fuel-resistant hose identified with the word Fluoroelastomer or GM 6163M on the hose.
  4. Install and connect the fuel feed (6), the fuel return (7), and the EVAP pipe (5) assemblies and the insulator clips to the fuel tank (1) as noted during removal. Refer to Quick Connect Fitting(s) Service (Plastic Collar) .
  5. Install the fuel tank to a suitable jack.
  6. Raise the fuel tank (1) to the original position.
  7. Fig 2: View Of Fuel Tank
    GM699556Courtesy of GENERAL MOTORS CORP.
    NOTE: Refer to Fastener Notice in Cautions and Notices.
  8. Install the fuel tank strap bolts (2).

    Tighten:  Tighten the bolts to 48 N.m (35 lb ft).

  9. Remove the jack from the fuel tank.
  10. Position the fuel tank shield (3) to the fuel tank (1).
  11. Fig 3: Fuel Tank Shield
    GM699555Courtesy of GENERAL MOTORS CORP.
  12. Install the push pins (2).
  13. Install the two parts of the EVAP fresh air hose at the splice.
  14. Fig 4: EVAP Fresh Air Hose
    GM698635Courtesy of GENERAL MOTORS CORP.
  15. Raise the exhaust system to the original position.
  16. Install the exhaust system to the exhaust pipe hangers.
  17. Connect the fuel feed (4), the fuel return (2) and the evaporative emission (EVAP) (3) pipes at the fuel filter area. Refer to Quick Connect Fitting(s) Service (Plastic Collar) .
  18. Install the fuel tank filler hose to the fuel tank.
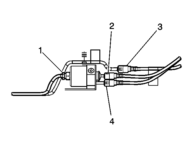
  19. Fig 5: Identifying In-Line Fuel Filter
    GM911091Courtesy of GENERAL MOTORS CORP.
  20. Fully seat the filler hose (4) on the fuel tank port (2).
  21. Fig 6: Fuel Tank Filler Hose
    GM155468Courtesy of GENERAL MOTORS CORP.
  22. Ensure that the clamp (1) is properly located on the tank port between the bead (5) and the tank (3).

    Tighten:  Tighten the hose clamp to 2.5 N.m (22 lb in).

  23. Fig 7: Identifying Fuel Tank Components
    GM186674Courtesy of GENERAL MOTORS CORP.
  24. Lower the vehicle.
  25. Add fuel and install the fuel fill cap.
  26. Connect the negative battery cable. Refer to Battery Negative Cable Disconnect/Connect Procedure in Engine Electrical.
  27. Inspect the fuel system for leaks by performing the following steps:
    1. Turn ON the ignition for 2 seconds.
    2. Turn OFF the ignition for 10 seconds.
    3. Turn ON the ignition.
    4. Inspect for fuel leaks.
  28. Install fuel injector sight shield. Refer to Fuel Injector Sight Shield Replacement (L26) or Fuel Injector Sight Shield Replacement (L32) in Engine Mechanical - 3.8L.