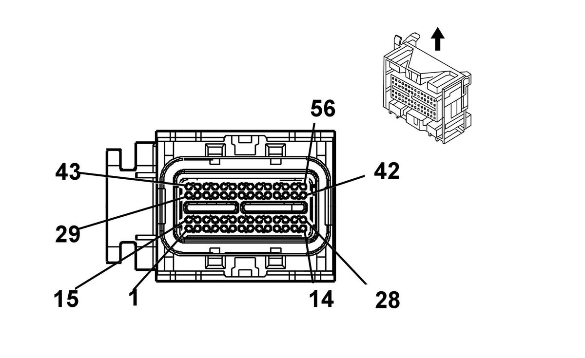
Powertrain Control Module (PCM) Connectors
Powertrain Control Module (PCM) C1
| Connector Part Information |
|
||
|---|---|---|---|
| Pin | Wire Color | Circuit No. | Function |
| 1-3 | - | - | Not Used |
| 4 | PPL | 420 | TCC Brake Switch/Cruise Control Release Signal |
| 5-6 | - | - | Not Used |
| 7 | BLK | 2760 | Low Reference |
| 8-10 | - | - | Not Used |
| 11 | BLK | 2759 | Low Reference |
| 12-14 | - | - | Not Used |
| 15 | PPL | 1807 | Class 2 Serial Data |
| 16 | PPL | 1807 | Class 2 Serial Data |
| 17-18 | - | - | Not Used |
| 19 | PNK | 639 | Ignition 1 Voltage |
| 20 | ORN | 480 | Battery Positive Voltage |
| 21 | TAN | 472 | IAT Sensor Signal |
| 22 | PPL | 1589 | Fuel Level Sensor Signal |
| 23 | GRY | 2700 | 5-Volt Reference |
| 24 | - | - | Not Used |
| 25 | GRY | 2709 | 5-Volt Reference |
| 26-32 | - | - | Not Used |
| 33 | BRN/WHT | 419 | MIL Control |
| 34 | DK GRN/WHT | 817 | Vehicle Speed Signal |
| 35-36 | - | - | Not Used |
| 37 | RED/BLK | 380 | A/C Refrigerant Pressure Sensor Signal |
| 38 | - | - | Not Used |
| 39 | DK GRN | 890 | Fuel Tank Pressure Sensor Signal |
| 40-42 | - | - | Not Used |
| 43 | DK GRN | 335 | Cooling Fan Relay Control |
| 44 | - | - | Not Used |
| 45 | WHT | 1310 | EVAP Canister Vent Solenoid Control |
| 46 | DK GRN/WHT | 465 | Fuel Pump Relay Control |
| 47 | DK GRN/WHT | 459 | A/C Compressor Clutch Relay Control |
| 48 | - | - | Not Used |
| 49 | DK GRN | 83 | Cruise Control Inhibit Signal |
| 50 | - | - | Not Used |
| 51 | BLK | 2751 | Low Reference |
| 52-56 | - | - | Not Used |
Powertrain Control Module (PCM) C2
| Connector Part Information |
|
||
|---|---|---|---|
| Pin | Wire Color | Circuit No. | Function |
| 1 | LT BLU/BLK | 1748 | IAC Coil A Low Control |
| 2 | LT BLU/WHT | 1747 | IAC Coil A High Control |
| 3-4 | - | - | Not Used |
| 5 | DK GRN/WHT | 428 | EVAP Canister Purge Solenoid Control |
| 6 | RED/BLK | 1228 | PC Solenoid Valve High Control - Sol. A Automatic Transmission Only |
| 7 | LT BLU/WHT | 1229 | PC Solenoid Valve Low Control - Sol. A - Automatic Transmission Only |
| 8-9 | - | - | Not Used |
| 10 | LT GRN | 1222 | 1-2 Shift Solenoid Valve Control - Automatic Transmission Only |
| 11 | YEL/BLK | 1223 | 2-3 Shift Solenoid Valve Control - Automatic Transmission Only |
| 12 | BRN | 418 | TCC PWM Solenoid Valve Control - Automatic Transmission Only |
| 13 | PPL/WHT | 1668 | HO2S High Signal Sensor 2 |
| 14 | TAN/WHT | 1669 | HO2S Low Signal Sensor 2 |
| 15 | TAN | 1667 | HO2S Low Signal Sensor 1 |
| 16 | PPL | 1666 | HO2S High Signal Sensor 1 |
| 17 | LT GRN/WHT | 1749 | IAC Coil B High Control |
| 18 | LT GRN/BLK | 444 | IAC Coil B Low Control |
| 19 | WHT | 423 | IC Timing Control |
| 20 | ORN | 406 | IC Timing Control B |
| 21-25 | - | - | Not Used |
| 26 | BRN/WHT | 633 | Camshaft Position Signal |
| 27 | YEL | 573 | CKP Sensor 1 Signal |
| 28 | PPL | 574 | Low Reference |
| 29 | LT GRN | 432 | MAP Sensor Signal |
| 30 | - | - | Not Used |
| 31 | DK BLU | 417 | TP Sensor Signal |
| 32-33 | - | - | Not Used |
| 34 | WHT | 776 | Transmission Range Switch Signal P |
| 35 | GRY | 773 | Transmission Range Switch Signal C |
| 36 | YEL | 772 | Transmission Range Switch Signal B |
| 37 | BLK/WHT | 771 | Transmission Range Switch Signal A |
| 38 | - | - | Not Used |
| 39 | BLK | 2761 | Low Reference |
| 40 | BLK | 2762 | Low Reference |
| 41 | DK BLU/WHT | 1231 | AT ISS Low Signal - Automatic Transmission Only |
| 42 | PPL | 401 | Signal Low - Front |
| 43 | - | - | Not Used |
| 44 | GRY | 1716 | Low Reference |
| 45 | ORN/BLK | 469 | Low Reference |
| 46 | - | - | Not Used |
| 47 | BLK | 2752 | Low Reference |
| 48 | - | - | Not Used |
| 49 | GRY | 23 | Generator Field Duty Cycle Signal |
| 50 | RED | 225 | Generator Turn On Signal |
| 51 | BLK | 1744 | Fuel Injector 1 Control |
| 52 | LT GRN/BLK | 1745 | Fuel Injector 2 Control |
| 53 | LT BLU/BLK | 396 | Cruise Control Engaged Signal |
| 54 | TAN/BLK | 231 | Oil Pressure Switch Signal |
| 55 | PNK | 1224 | Transmission Fluid Pressure Switch Signal A - Automatic Transmission Only |
| 56 | DK BLU | 1225 | Transmission Fluid Pressure Switch Signal B - Automatic Transmission Only |
| 57 | RED | 1226 | Transmission Fluid Pressure Switch Signal C - Automatic Transmission Only |
| 58 | YEL | 657 | TCC Release Switch Signal - Automatic Transmission Only |
| 59 | YEL | 410 | ECT Sensor Signal |
| 60 | YEL/BLK | 1227 | TFT Sensor Signal - Automatic Transmission Only |
| 61 | RED/BLK | 1230 | AT ISS High Signal - Automatic Transmission Only |
| 62 | YEL | 400 | Signal - High Front |
| 63 | - | - | Not Used |
| 64 | DK BLU | 496 | Knock Sensor Signal |
| 65 | GRY | 2704 | 5-Volt Reference |
| 66 | - | - | Not Used |
| 67 | GRY | 2701 | 5-Volt Reference |
| 68 | - | - | Not Used |
| 69 | DK GRN | 676 | HO2S Heater Low Control Sensor 1 |
| 70 | BLK/WHT | 1423 | HO2S Heater Low Control |
| 71 | LT BLU/BLK | 844 | Fuel Injector 4 Control |
| 72 | PNK/BLK | 1746 | Fuel Injector 3 Control |
| 73 | BLK/WHT | 451 | Ground |