Engine Controls Connector End Views
Ambient Air Temperature Sensor Connector End View
| Connector Part Information |
|
|
|---|---|---|
| Pin | Wire Color | Function |
| 1 | BLK | Ambient Air Temperature Sensor Input |
| 2 | BLK/BLU | Ground |
Back Up Lamp Switch Connector End View
| Connector Part Information |
|
|
|---|---|---|
| Pin | Wire Color | Function |
| 1 | RED/BLK | Back Up Lamp Switch Feed Circuit |
| 2 | RED/WHT | Back Up Lamp Switch Signal Circuit |
Camshaft Position (CMP) Sensor Connector End View
| Connector Part Information |
|
|
|---|---|---|
| Pin | Wire Color | Function |
| 1 | BLK | Camshaft Position Input |
| 2 | WHT | Sensor Ground |
Camshaft Position (CMP) Actuator Solenoid Valve Connector End View
| Connector Part Information |
|
|
|---|---|---|
| Pin | Wire Color | Function |
| 1 | YEL | CMP Actuator High Control |
| 2 | BLK/YEL | CMP Actuator Low Control |
Circuit Opening Relay Connector End View
| Connector Part Information | - | |
|---|---|---|
| Pin | Wire Color | Function |
| 1 | BLK | Relay Coil Feed Circuit |
| 2 | GRN/RED | Relay Coil Ground Circuit |
| 3 | BLK/RED | Relay Switch Ground Circuit |
| 5 | WHT/BLK | Relay Switch Feed Circuit |
Clutch Pedal Position (CPP) Switch Connector End View
| Connector Part Information |
|
|
|---|---|---|
| Pin | Wire Color | Function |
| 1 | RED | CPP Feed Circuit |
| 2 | BLK | CPP Signal Circuit |
Crankshaft Position (CKP) Sensor Connector End View
| Connector Part Information |
|
|
|---|---|---|
| Pin | Wire Color | Function |
| 1 | BLK | Crankshaft Position Input |
| 2 | WHT | Sensor Ground |
Engine Coolant Temperature (ECT) Sensor Connector End View
| Connector Part Information |
|
|
|---|---|---|
| Pin | Wire Color | Function |
| 1 | BRN | Sensor Ground |
| 2 | WHT | ECT Input |
EFI Relay Connector End View
| Connector Part Information | - | |
|---|---|---|
| Pin | Wire Color | Function |
| 1 | BLK/WHT | Relay Coil Feed Circuit |
| 2 | WHT/BLK | Relay Coil Ground Circuit |
| 3 | BLK | Relay Switch Ground Circuit |
| 5 | RED/WHT | Relay Switch Feed Circuit |
EVAP Pressure Switching Solenoid Connector End View
| Connector Part Information |
|
|
|---|---|---|
| Pin | Wire Color | Function |
| 1 | RED | EVAP Control |
| 2 | BLK | EVAP Feed Circuit |
EVAP Purge Solenoid Valve Connector End View
| Connector Part Information |
|
|
|---|---|---|
| Pin | Wire Color | Function |
| 1 | BLU/BLK | EVAP Control Circuit |
| 2 | BLK | EVAP Feed Circuit |
EVAP Vent Solenoid Valve Connector End View
| Connector Part Information |
|
|
|---|---|---|
| Pin | Wire Color | Function |
| 1 | BLU | EVAP Control Circuit |
| 2 | BLK | EVAP Feed Circuit |
Fuel Injector Connector End View #1
| Connector Part Information |
|
|
|---|---|---|
| Pin | Wire Color | Function |
| 1 | BLK/WHT | Fuel Injector #1 Feed Circuit |
| 2 | YEL | Fuel Injector #1 Control Circuit |
Fuel Injector Connector End View #2
| Connector Part Information |
|
|
|---|---|---|
| Pin | Wire Color | Function |
| 1 | BLK/WHT | Fuel Injector #2 Feed Circuit |
| 2 | BLK | Fuel Injector #2 Control Circuit |
Fuel Injector Connector End View #3
| Connector Part Information |
|
|
|---|---|---|
| Pin | Wire Color | Function |
| 1 | BLK/WHT | Fuel Injector #3 Feed Circuit |
| 2 | WHT | Fuel Injector #3 Control Circuit |
Fuel Injector Connector End View #4
| Connector Part Information |
|
|
|---|---|---|
| Pin | Wire Color | Function |
| 1 | BLK/WHT | Fuel Injector #4 Control Circuit |
| 2 | BLU | Fuel Injector #4 Feed Circuit |
Fuel Sender Assembly Connector End View
| Connector Part Information |
|
|
|---|---|---|
| Pin | Wire Color | Function |
| 1 | - | Not Used |
| 2 | YEL | Fuel Gage |
| 3 | BRN | Low Fuel Indicator |
| 4 | BLK/RED | Fuel Pump Feed Circuit |
| 5 | WHT/BLK | Ground |
Fuel Tank Pressure Sensor Connector End View
| Connector Part Information |
|
|
|---|---|---|
| Pin | Wire Color | Function |
| 1 | BRN | Sensor Ground |
| 2 | BLU | Fuel Tank Pressure Input |
| 3 | YEL | Reference Voltage |
Heated Oxygen Sensor (HO2S) 1 Connector End View
| Connector Part Information |
|
|
|---|---|---|
| Pin | Wire Color | Function |
| 1 | PNK | HO2S1 Input |
| 2 | BLK | HO2S1 Heater Feed Circuit |
| 3 | BLK | HO2S1 Heater Control |
| 4 | BRN | Ground |
Heated Oxygen Sensor (HO2S) 2
| Connector Part Information |
|
|
|---|---|---|
| Pin | Wire Color | Function |
| 1 | BLK | HO2S2 Feed Circuit |
| 2 | PNK/BLK | HO2S2 Heater Control |
| 3 | BRN | Ground |
| 4 | WHT | HO2S2 Heater Control |
Idle Air Control (IAC) Motor Connector End View
| Connector Part Information |
|
|
|---|---|---|
| Pin | Wire Color | Function |
| 1 | BLK/BLU | IAC Valve Open Control |
| 2 | BLK | IAC Feed Circuit |
| 3 | WHT/BLK | Ground |
Ignition Coil 1 Connector End View
| Connector Part Information |
|
|
|---|---|---|
| Pin | Wire Color | Function |
| 1 | BLK/WHT | Ignition Coil Feed Circuit |
| 2 | BLU/YEL | Ignition Fail Safe Input |
| 3 | RED/BLU | Ignition Trigger Circuit |
| 4 | WHT/BLK | Ground |
Ignition Coil 2 Connector End View
| Connector Part Information |
|
|
|---|---|---|
| Pin | Wire Color | Function |
| 1 | BLK/WHT | Ignition Coil Feed Circuit |
| 2 | BLU/YEL | Ignition Fail Safe Input |
| 3 | YEL/GRN | Ignition Trigger Circuit |
| 4 | WHT/BLK | Ground |
Ignition Coil 3 Connector End View
| Connector Part Information |
|
|
|---|---|---|
| Pin | Wire Color | Function |
| 1 | BLK/WHT | Ignition Coil Feed Circuit |
| 2 | BLU/YEL | Ignition Fail Safe Input |
| 3 | GRY | Ignition Trigger Circuit |
| 4 | WHT/BLK | Ground |
Ignition Coil 4 Connector End View
| Connector Part Information |
|
|
|---|---|---|
| Pin | Wire Color | Function |
| 1 | BLK/WHT | Ignition Coil Feed Circuit |
| 2 | BLU/YEL | Ignition Fail Safe Input |
| 3 | WHT | Ignition Trigger Circuit |
| 4 | WHT/BLK | Ground |
Knock Sensor (KS) Connector End View
| Connector Part Information |
|
|
|---|---|---|
| Pin | Wire Color | Function |
| 1 | WHT | Knock Sensor Input Circuit |
| 2 | BLK | Ground |
Mass Air Flow (MAF) Sensor Connector End View
| Connector Part Information |
|
|
|---|---|---|
| Pin | Wire Color | Function |
| 1 | BLK | MAF Feed Circuit |
| 2 | BLU/WHT | MAF Signal Low |
| 3 | GRN | MAF Signal High |
| 4 | YEL/BLK | IAT Sensor Input |
| 5 | BRN | Sensor Ground |
Noise Filter Connector End View
| Connector Part Information |
|
|
|---|---|---|
| Pin | Wire Color | Function |
| 1 | BLK/WHT | Noise Filter Feed Circuit |
| 2 | - | Not Used |
Park/Neutral Position (PNP) Switch Connector End View
| Connector Part Information |
|
|
|---|---|---|
| Pin | Wire Color | Function |
| 1 | - | Not Used |
| 2 | RED/BLK | Reverse Position Signal |
| 3 | RED/WHT | PNP Switch Feed Circuit |
| 4 | LT GRN | 2nd Gear Position Signal |
| 5 | - | Not Used |
| 6 | BLK | Start Position Signal |
| 7 | BLU | Drive Position Signal |
| 8 | LT GRN/BLK | Low Position Signal |
| 9 | RED | PNP Switch Start Circuit |
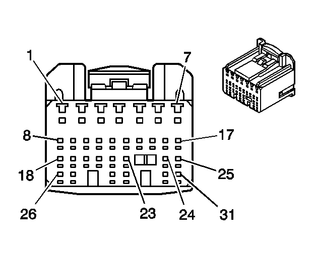
PCM Connector End View C1
| Connector Part Information |
|
|
|---|---|---|
| Pin | Wire Color | Function |
| 1 | YEL | Fuel Injector 1 Control |
| 2 | BLK | Fuel Injector 2 Control |
| 3 | WHT | Fuel Injector 3 Control |
| 4 | BLU | Fuel Injector 4 Control |
| 5 | BLK/BLU | Idle Air Control (IAC) Valve Control |
| 6 | WHT/BLK | Ground |
| 7 | WHT/BLK | Ground |
| 8 | RED/BLU | Ignition Trigger Signal Coil 1 |
| 9 | YEL/GRN | Ignition Trigger Signal Coil 2 |
| 10 | GRY | Ignition Trigger Signal Coil 3 |
| 11 | WHT | Ignition Trigger Signal Coil 4 |
| 12 | BLU/BLK | EVAP Canister Purge Solenoid Valve Control |
| 13 | YEL | AC Pressure Switch |
| 14 | BLK/YEL | Camshaft Position (CMP) Actuator Solenoid Valve High Control |
| 15 | YEL | Camshaft Position (CMP) Actuator Solenoid Valve Low Control |
| 16 | PNK | Line Pressure Control (PC) Solenoid Control Low* |
| 17 | RED/WHT | Line Pressure Control (PC) Solenoid Controll High* |
| 18 | YEL | 5-Volt Reference Circuit |
| 19 | WHT | Engine Coolant Temperature (ECT) Sensor Input |
| 20 | YEL/BLK | Intake Air Temperature (IAT) Sensor Input |
| 21 | LT GRN | Throttle Position (TP) Sensor Input |
| 22 | - | Not Used |
| 23 | BLU/YEL | Ignition Fail Safe Input |
| 24-25 | - | Not Used |
| 26 | BLK | Camshaft Position (CMP) Sensor Input |
| 27 | BLK | Crankshaft Position (CKP) Sensor Input |
| 28 | BRN | Sensor Ground |
| 29 | - | Not Used |
| 30 | WHT/BLU | Transmission Fluid Temperature Sensor Input, with AWD Only* |
| 31-33 | - | Not Used |
| 34 | WHT | CMP Sensor and CKP Sensor Ground |
| *Automatic Transmission Only | ||
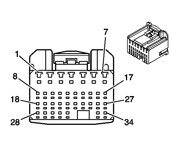
PCM Connector End View C2
| Connector Part Information |
|
|
|---|---|---|
| Pin | Wire Color | Function |
| 1 | BLK | Knock Sensor (KS) Signal High |
| 2 | WHT | Knock Sensor (KS) Signal Low |
| 3 | - | Not Used |
| 4 | PNK | Heated Oxygen Sensor (HO2S) 1 Heater Circuit Control |
| 5 | WHT/BLK | Ground |
| 6 | - | Not Used |
| 7 | BRN | Ground |
| 8 | RED | Ignition Positive Voltage* |
| 9 | BLK | Crank Signal |
| 10-11 | - | Not Used |
| 12 | BLU/ORN | Shift Solenoid ST Control, with AWD Only* |
| 13 | BLU/WHT | Torque Converter Clutch (TCC) Solenoid Control* |
| 14 | BLU | Shift Solenoid (SS) 2 Control* |
| 15 | RED/YEL | Shift Solenoid (SS) 1 Control* |
| 16-20 | - | Not Used |
| 21 | WHT | Heated Oxygen Sensor (HO2S) 2 Input |
| 22 | - | Not Used |
| 23 | BLK | Heated Oxygen Sensor (HO2S) 1 Input |
| 24 | GRN | Mass Air Flow (MAF) Sensor Signal High |
| 25-26 | - | Not Used |
| 27 | WHT | Input Shaft Speed Sensor Reference High, with AWD Only* |
| 28 | WHT/BLK | Ground |
| 29 | BLU/RED | Power Steering Pressure (PSP) Switch Input |
| 30-31 | - | Not Used |
| 32 | BLU/WHT | Mass Air Flow (MAF) Sensor Signal Low |
| 33-34 | - | Not Used |
| 35 | BLK | Intput Shaft Speed Sensor Reference Low, with AWD Only* |
| *Automatic Transmission Only | ||
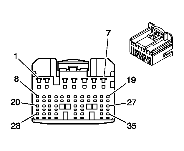
PCM Connector End View C3
| Connector Part Information |
|
|
|---|---|---|
| Pin | Wire Color | Function |
| 1 | BLU | EVAP Canister Vent Solenoid Valve Control |
| 2 | YEL/BLK | AC Compressor Clutch Relay Control |
| 3 | - | Not Used |
| 4 | PNK/BLK | Heated Oxygen Sensor (HO2S) 2 Heater Circuit Control |
| 5-6 | - | Not Used |
| 7 | LT GRN | Overdrive (OD) Indicator Control* |
| 8 | LT GRN/BLK | Park Neutral Position (PNP) Switch L Position Signal* |
| 9 | LT GRN | Park Neutral Position (PNP) Switch 2 Position Signal* |
| 10 | BLU | Park Neutral Position (PNP) Switch D Position Signal* |
| 11 | RED/BLK | Park Neutral Position (PNP) Switch R Position Signal* |
| 12-13 | - | Not Used |
| 14 | YEL/RED | Engine Coolant Temperature Gage Output |
| 15-16 | - | Not Used |
| 17 | PPL/WHT | Vehicle Speed Sensor (VSS) Input |
| 18 | RED/YEL | Over-Drive (OD) Cut Signal, with Cruise Control* |
| 19 | GRN/WHT | Brake Switch Signal |
| 20-28 | - | Not Used |
| 29 | GRN/BLK | Overdrive (OD) Switch Signal* |
| 30 | - | Not Used |
| 31 | YEL | AC Request Signal |
| 32 | BLK/BLU | Evaporator Temperature Sensor Input |
| 33 | GRN/WHT | AC On Signal |
| 34-35 | - | Not Used |
| *Automatic Transmission Only | ||
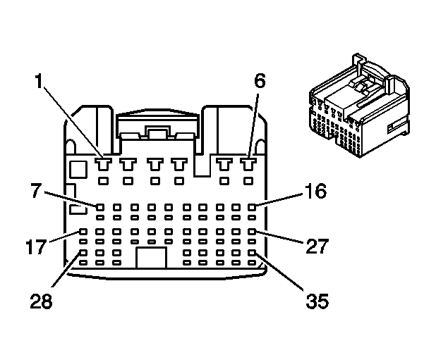
PCM Connector End View C4
| Connector Part Information |
|
|
|---|---|---|
| Pin | Wire Color | Function |
| 1 | BLK | Ignition Positive Voltage |
| 2 | - | Not Used |
| 3 | RED/WHT | Battery Voltage |
| 4 | RED | EVAP Pressure Switching Solenoid Control |
| 5 | BLK | Engine Speed Output for Tachometer |
| 6 | GRN | Fan 1 Relay Control |
| 7 | GRN/BLK | Fan 2 Relay Control |
| 8-9 | - | Not Used |
| 10 | GRN/RED | Circuit Opening Relay Control |
| 11 | RED/YEL | MIL Control |
| 12 | GRN | Electrical Load Idle-Up Signal, Tail Lamps |
| 13 | WHT | Electrical Load Idle-Up Signal, Rear Defogger |
| 14 | YEL | Supplemental Inflatable Restraint (SIR) System Signal |
| 15 | - | Not Used |
| 16 | BLU/WHT | Cruise Control Idle |
| 17 | - | Not Used |
| 18 | BLU/RED | Serial Data |
| 19 | PNK | Data Link Connector (DLC) |
| 20 | PNK/BLK | Diagnostic Request Circuit |
| 21 | BLU | Fuel Tank Pressure (FTP) Sensor Input |
| 22-31 | - | Not Used |
| *Automatic Transmission Only | ||
Throttle Position Sensor (TPS) Connector End View
| Connector Part Information |
|
|
|---|---|---|
| Pin | Wire Color | Function |
| 1 | YEL | Reference Voltage |
| 2 | BRN | Sensor Ground |
| 3 | LT GRN | Throttle Position Input |
Transmission Connector End View FWD
| Connector Part Information |
|
|
|---|---|---|
| Pin | Wire Color | Function |
| 1 | RED/WHT | PC Solenoid High |
| 2 | BLU/WHT | TCC Solenoid Control |
| 3 | RED/YEL | Shift Solenoid 1 Control |
| 4 | PNK | PC Solenoid Low |
| 5 | - | Not Used |
| 6 | BLU | Shift Solenoid 2 Circuit |
Transmission Connector End View AWD
| Connector Part Information |
|
|
|---|---|---|
| Pin | Wire Color | Function |
| 1 | WHT/BLU | Transmission Fluid Temperature Input Circuit |
| 2 | BLU/ORN | 2nd Brake Control Solenoid |
| 3 | RED/WHT | PC Solenoid High |
| 4 | BLU/WHT | TCC Solenoid Control |
| 5 | RED/YEL | Shift Solenoid 1 Control |
| 6 | BRN | Transmission Fluid Temperature Ground Circuit |
| 7 | - | Not Used |
| 8 | PNK | PC Solenoid Low |
| 9 | - | Not Used |
| 10 | BLU | Shift Solenoid 2 Circuit |
Vehicle Speed Sensor (VSS) FWD (w/o ABS)
| Connector Part Information |
|
|
|---|---|---|
| Pin | Wire Color | Function |
| 1 | RED/WHT | VSS Feed Circuit |
| 2 | BRN | Sensor Ground |
| 3 | WHT/GRN | VSS Input Circuit |
Vehicle Speed Sensor (VSS) Connector End View AWD
| Connector Part Information |
|
|
|---|---|---|
| Pin | Wire Color | Function |
| 1 | BLK | Sensor Ground |
| 2 | WHT | VSS Input |