lemon-mirror:
Home >> Pontiac >> 2005 >> Aztek Base, FWD >> Repair and Diagnosis >> External Pages >> Different car >> Section 14 (Cruise Control System) >> Repair Instructions >> Cruise Control Module Replacement >> Removal Procedure

Removal Procedure

WARNING: This page is about a different car, the 2004 Chevrolet Monte Carlo and 2004 Chevrolet Impala. However, it is still accessible from the selected car via links, so may be relevant.

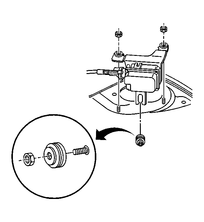
The cruise control module is mounted to the left strut tower and must be serviced as a complete unit.

  1. Remove the cruise control cable from the cruise control module. Refer to Cruise Control Cable Replacement (3.4L) Cruise Control Cable Replacement (3.8L) .
  2. Fig 1: Cruise Control Module & Cable
    GM301671Courtesy of GENERAL MOTORS CORP.
  3. Disconnect the cruise control module electrical connector.
  4. Remove the cruise control module shock tower nuts.
  5. Fig 2: Cruise Control Module & Shock Tower Nuts
    GM301676Courtesy of GENERAL MOTORS CORP.
  6. Remove the cruise control module.