lemon-mirror:
Home >> Pontiac >> 2005 >> Aztek Base, FWD >> Repair and Diagnosis >> Transmission >> Automatic Trans >> Automatic Transaxle - Introduction & Repair Instructions >> Repair Instructions >> Thermo Element Replacement >> Installation Procedure

Installation Procedure

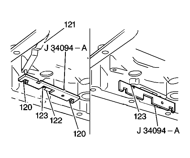
    Fig 1: Installing Thermo Element Plate
    GM164816Courtesy of GENERAL MOTORS CORP.
  1. Use the J 34094-A  to set the middle thermo pin (123). See Special Tools .
  2. Install the new thermo element plate (122).
  3. Install the pin and washer (120).
  4. Use the J 34094-A  to set the height of the pin and washer (120) furthest from the accumulator. See Special Tools .
  5. Use the J 34094-A  to set the height of the second pin and washer (120). See Special Tools .
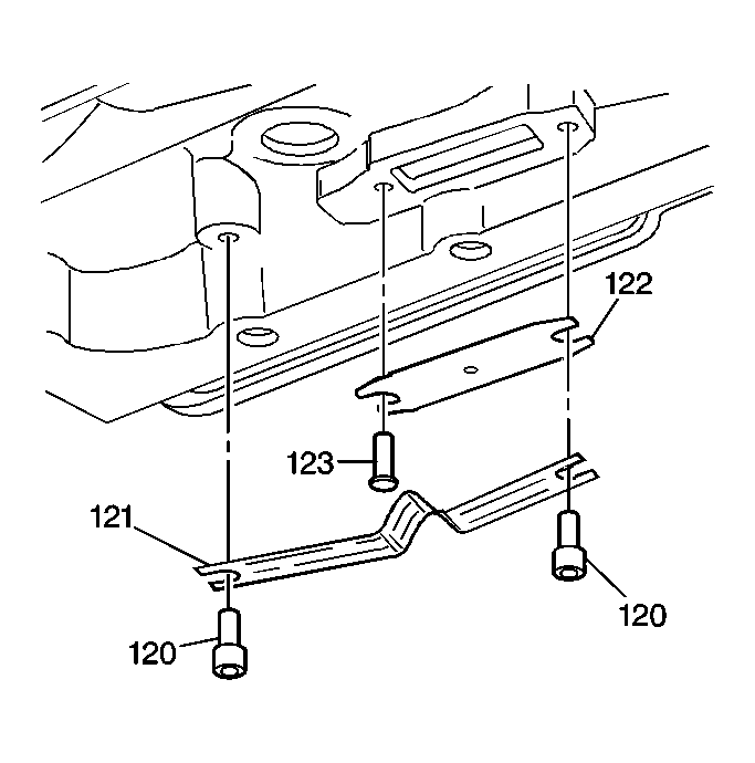
  6. Fig 2: View Of Thermo Element & Plate
    GM164817Courtesy of GENERAL MOTORS CORP.
  7. Carefully install the thermo element (121) between the two pin and washers (120). The V in the thermo element (121) must contact the thermo element plate (122).
  8. Install the oil pan. Refer to Oil Pan Replacement .