lemon-mirror:
Home >> Pontiac >> 2005 >> G6 Base >> Repair and Diagnosis >> External Pages >> Different car >> Section 249 (Lighting Systems) >> Component Locator >> Lighting Systems Connectors >> Turn Signal/Multifunction Switch C3

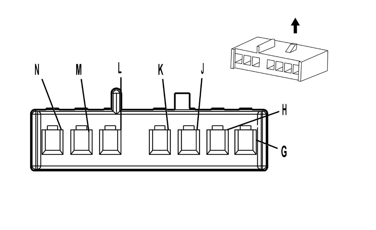
Turn Signal/Multifunction Switch C3

WARNING: This page is about a different car, the 2006 Pontiac Montana SV6, 2006 Chevrolet Uplander, and 2006 Buick Terraza. However, it is still accessible from the selected car via links, so may be relevant.
Fig 1: Turn Signal/Multifunction Switch C3 Connector End View
GM811190Courtesy of GENERAL MOTORS CORP.
Lighting Systems Connector End Views

Connector Part Information 
  • OEM: 15339058
  • Service: See Catalog
  • Description: 7-Way F Metri-Pack 150 Series (GY)
Terminal Part Information 
  • Terminal: 12064971/Tray 5
  • Core/Insulation Crimp: E/C
  • Release Tool/Test Probe: 12094429/J-35616-2A
Turn Signal/Multifunction Switch C3

Pin Wire Color Circuit No. Function
G - - Not Used
H BK/WH 1251 Ground
J PK 94 Windshield Washer Switch Signal
K L-GN 1715 Windshield Wiper Switch High Signal
L L-BU 1714 Windshield Wiper Switch Low Signal
M-N - - Not Used