Computer/Integrating Systems Connector End Views
WARNING: This page is about a different car, the 2005 Saturn L300. However, it is still accessible from the selected car via links, so may be relevant.
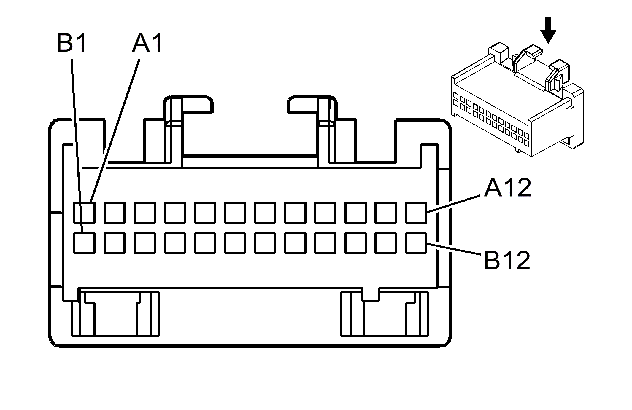
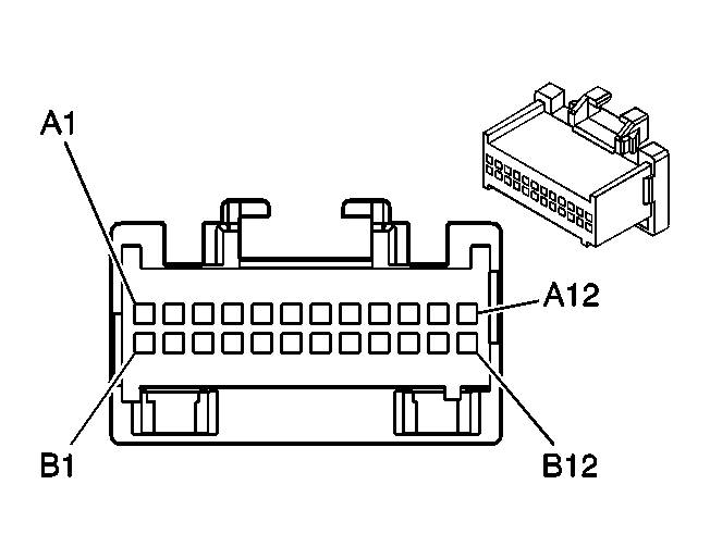
Body Control Module (BCM) - C1
| Connector Part Information |
|
||
|---|---|---|---|
| Pin | Wire Color | Circuit No. | Function |
| A1 | - | - | Not Used |
| A2 | L-GN | 1391 | Driver Door Unlock Relay Control |
| A3 | L-BU | 195 | Door Lock Relay Control |
| A4 | WH | 194 | Door Unlock Relay Control |
| A5-A6 | - | - | Not Used |
| A7 | OG/BK | 781 | Driver Door Lock Switch Unlock Signal |
| A8 | RD/BK | 780 | Driver Door Lock Switch Lock Signal |
| B1 | - | - | Not Used |
| B2 | D-BU | 1201 | Headlamp Low Beam Signal |
| B3 | - | - | Not Used |
| B4 | L-BU | 74 | Park Lamp Switch Signal |
| B5 | - | - | Not Used |
| B6 | L-GN/BK | 1137 | DRL Ambient Light Sensor Signal |
| B7 | YL/BK | 1138 | DRL Ambient Light Sensor Low Reference |
| B8 | L-GN | 66 | A/C Request Signal |
Body Control Module (BCM) - C2
| Connector Part Information |
|
||
|---|---|---|---|
| Pin | Wire Color | Circuit No. | Function |
| A1 | L-GN | 867 | ABS Indicator Failure Control |
| A2 | L-BU | 1134 | Park Brake Switch Signal |
| A3 | PK | 1200 | Headlamp High Beam Signal |
| A4 | - | - | Not Used |
| A5 | PU | 333 | Brake Fluid Level Sensor Signal |
| A6 | BN | 96 | Windshield Wiper Switch Pulse Delay Signal |
| A7 | L-BU | 832 | Traction Control Active Signal |
| A8 | PK | 94 | Windshield Washer Switch Signal (Not Used) |
| A9 | RD | 228 | Windshield Washer Pump Control |
| A10 | PK | 339 | Ignition 1 Voltage |
| A11 | L-GN | 80 | Key In Ignition Switch Signal |
| A12 | BK/WH | 746 | Passenger Door Ajar Switches Signal |
| B1 | D-GN | 264 | Security Indicator Control |
| B2 | GY/BK | 745 | Left Front Door Ajar Switch Signal |
| B3 | L-BU | 292 | Rear Defog Switch Signal |
| B4 | RD/BK | 744 | Rear Compartment Lid Ajar Switch Signal |
| B5 | D-GN | 392 | Rear Window Washer Pump Control |
| B6 | WH | 2192 | Traction Ready Indicator Control |
| B7 | BK/WH | 56 | Trunk Release Switch Signal |
| B8 | BK/WH | 99 | Windshield Washer Fluid Level Signal |
| B9 | YE | 743 | Accessory Voltage |
| B10 | BN | 9 | Park Lamp Supply Voltage |
| B11 | L-GN | 1478 | Coolant Level Switch Signal |
| B12 | - | - | Not Used |
Body Control Module (BCM) - C3
| Connector Part Information |
|
||
|---|---|---|---|
| Pin | Wire Color | Circuit No. | Function |
| A1 | WH | 156 | Dome Lamp Control |
| A2 | RD/WH | 812 | 12-Volt Reference |
| A3 | WH | 352 | Headlamp Relay Coil Supply Voltage |
| A4 | D-BU | 1660 | Traction Control Indicator Control |
| A5 | OG/BK | 1445 | Windshield Wiper Relay Control |
| A6 | OG/BK | 1445 | Windshield Wiper Relay Control (Not Used) |
| A7 | WH | 1080 | Park Lamp Relay Control |
| A8 | L-GN/BK | 592 | DRL Relay Control |
| A9 | GY | 1359 | LCD Backlighting Lamp Control |
| A10-A11 | - | - | Not Used |
| A12 | TN | 2501 | CAN Low |
| B1 | TN/WH | 816 | A/T Shift Lock Solenoid Control |
| B2 | BK | 28 | Horn Relay Control |
| B3 | OG/BK | 1057 | Low Reference |
| B4 | GY | 112 | Windshield Wiper Switch Signal 1 |
| B5 | GY/BK | 1381 | LCD Dimming Signal |
| B6 | WH | 193 | Rear Defog Relay Control |
| B7 | YE | 1836 | Security System Sensor Signal |
| B8 | D-GN | 113 | Windshield Wiper Switch Signal 2 |
| B9 | - | - | Not Used |
| B10 | PU | 1807 | Class 2 Serial Data |
| B11 | TN/WH | 2500 | CAN High |
| B12 | - | - | Not Used |
Body Control Module (BCM) - C4
| Connector Part Information |
|
||
|---|---|---|---|
| Pin | Wire Color | Circuit No. | Function |
| A | OG | 1732 | Courtesy Lamp Supply Voltage |
| B-C | - | - | Not Used |
| D | OG | 2540 | Battery Positive Voltage |
| E | GY | 8 | Instrument Panel Lamps Dimmer Switch Signal |
| F | BK | 550 | Ground |
| G | GY | 382 | Trunk Release Enable Relay Switch Supply Voltage |
| H | OG | 1640 | Battery Positive Voltage |
Data Link Connector (DLC)
| Connector Part Information |
|
||
|---|---|---|---|
| Pin | Wire Color | Circuit No. | Function |
| 1 | - | - | Not Used |
| 2 | PU | 1807 | Class 2 Serial Data |
| 3 | - | - | Not Used |
| 4 | BK | 550 | Ground |
| 5 | BK | 451 | Ground |
| 6 | - | - | Not Used |
| 7 | PU | 1319 | Engine/Radio Serial Data K-Line |
| 8-11 | - | - | Not Used |
| 12 | L-BU | 1276 | ABS Serial Data K-Line |
| 13-15 | - | - | Not Used |
| 16 | OG | 2140 | Battery Positive Voltage |