lemon-mirror:
Home >> Pontiac >> 2005 >> GTO Standard >> Repair and Diagnosis >> Engine Performance >> System >> Engine Controls - 6.0L - Introduction >> Component Locator >> Engine Controls Component Views

Engine Controls Component Views

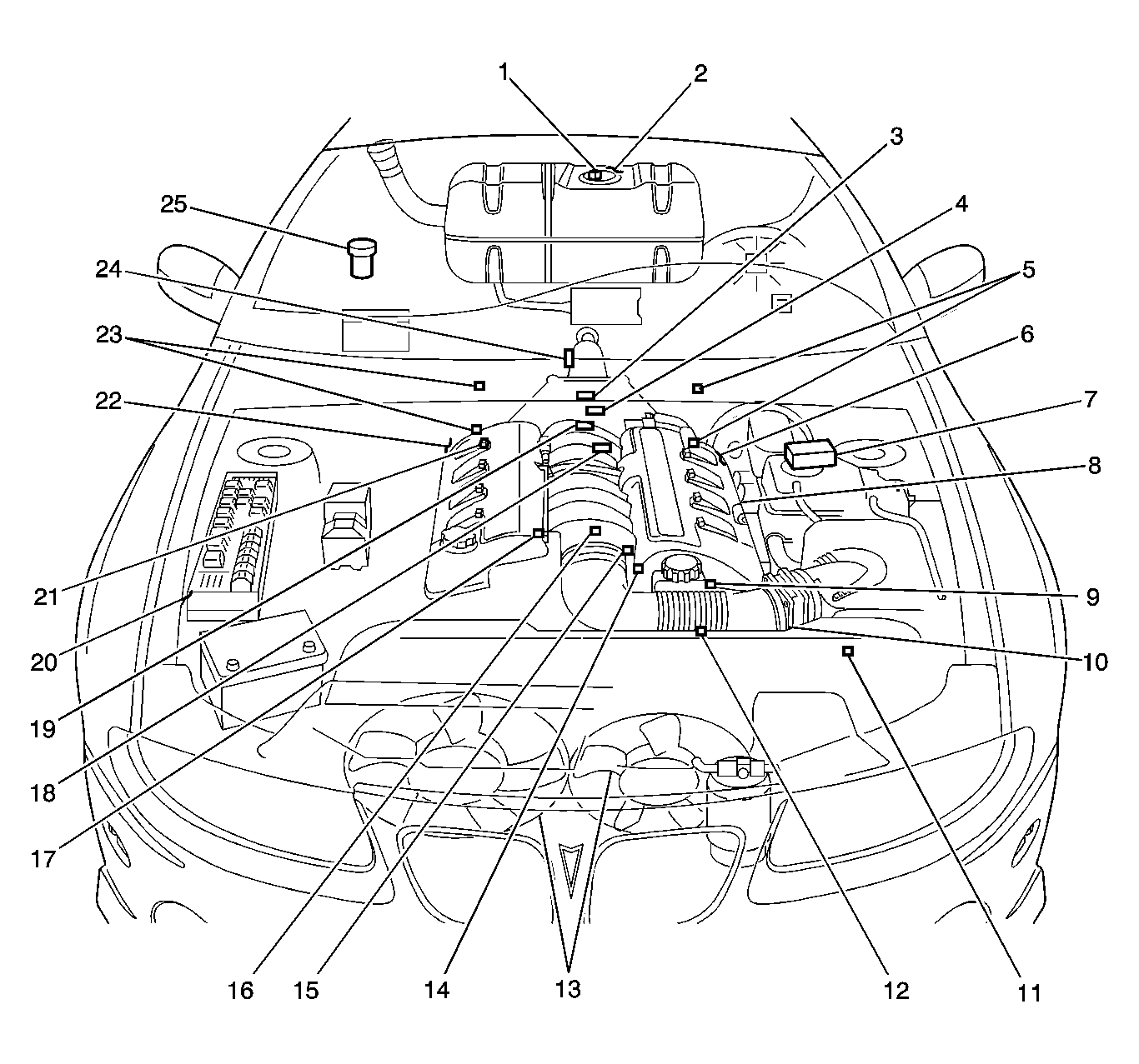
Fig 1: System Component Locations
GM1589521Courtesy of GENERAL MOTORS CORP.
Callout Component Name
1 Fuel Tank Pressure Sensor
2 Modular Fuel Pump and Sender Assembly
3 Manifold Absolute Pressure Sender Assembly
4 Oil Pressure Sensor
5 Heated Oxygen Sensor Bank 2
6 Ignition Coil Module Bank 2
7 Powertrain Interface Module
8 EVAP Canister Purge Solenoid
9 Engine Coolant Temperature (ECT) Sensor
10 Mass Air Flow (MAF) Sensor
11 A/C Refridgerant Pressure Sensor
12 Intake Air Temperature (IAT) Sensor
13 Engine Cooling Fans
14 Throttle Position (TP) Sensor
15 Idle Air Control (IAC) Valve
16 Knock Sensor (KS)
17 Crankshaft Position (CKP) Sensor
18 Knock Sensor (KS)
19 Camshaft Position (CMP) Sensor
20 Underhood Fuse Block
21 Fuel Injectors
22 Ignition Coil Module Bank 1
23 Heated Oxygen Sensors Bank 1
24 Vehicle Speed Sensor (VSS)
25 Evaporative Canister Vent Solenoid
Fig 2: Sensor Locations
GM1589545Courtesy of GENERAL MOTORS CORP.
Callout Component Name
1 Throttle Body Assembly
2 Fuel Injectors
3 Oil Pressure Sensor
4 Knock Sensor
5 Engine Coolant Temperature Sensor
6 Camshaft Position Sensor
Fig 3: Engine Sensors 2
GM1589572Courtesy of GENERAL MOTORS CORP.
Callout Component Name
1 MAP Sensor
2 EVAP Canister Purge Valve
3 Coil Assembly
4 HO2S Sensor Bank 1
5 HO2S Sensor Bank 2
6 Knack Sensor Bank 2
Fig 4: Throttle Pedal Assembly
GM1589556Courtesy of GENERAL MOTORS CORP.
Callout Component Name
1 Throttle Pedal Assembly
Fig 5: ECM
GM1589575Courtesy of GENERAL MOTORS CORP.
Callout Component Name
1 ECM
2 Mass Air Flow Sensor
3 A/C Pressure Sensor